TOP
|
特許
|
意匠
|
商標
特許ウォッチ
Twitter
他の特許を見る
公開番号
2025153694
公報種別
公開特許公報(A)
公開日
2025-10-10
出願番号
2024056304
出願日
2024-03-29
発明の名称
超電導ケーブル用の終端接続部
出願人
SWCC株式会社
代理人
個人
,
個人
,
個人
主分類
H01R
4/68 20060101AFI20251002BHJP(基本的電気素子)
要約
【課題】終端接続部を構成する各部材間での熱収縮の差に起因する、各部材の破損を防止可能な手段を提供する。
【解決手段】超電導ケーブルを接続するための終端接続部であって、内側収容部10、外側収容部20および伸縮筒30を少なくとも具備する。内側収容部10の内部に冷媒の往復路を設け、伸縮筒30は、内側収容部10と外側収容部20との間を繋いであり、外側収容部20に対する内側収容部10の相対移動に追従して伸縮させることで、内側収容部10の熱収縮に起因する構成部材、特に外側収容部20への応力の発生を防止する。
【選択図】図1
特許請求の範囲
【請求項1】
超電導ケーブルを接続するための終端接続部であって、
内側収容部、外側収容部および伸縮筒を少なくとも具備し、
前記内側収容部の内部に冷媒の往復路を設けてあり、
前記伸縮筒は、前記内側収容部と前記外側収容部との間を繋いであり、前記外側収容部に対する前記内側収容部の相対移動に追従して伸縮することを特徴とする、
超電導ケーブル用の終端接続部。
続きを表示(約 280 文字)
【請求項2】
前記内側収容部が、
前記伸縮筒の内部に位置する、先端筒と、
前記先端筒の内部に位置し、筒軸方向に伸縮可能な、引出筒と、
を少なくとも有しており、
前記伸縮筒と前記先端筒との間の空間が、真空空間であり、
前記引出筒の内部を、前記冷媒の往復路のうち一方の流路とし、
前記先端筒と前記引出筒との間の空間を、前記冷媒の往復路のうち他方の流路とし、
前記引出筒の一端を、直接または間接的に前記内側収容部と接続してあることを特徴とする、
請求項1に記載の超電導ケーブル用の終端接続部。
発明の詳細な説明
【技術分野】
【0001】
本発明は、超電導ケーブル用の終端接続部に関する。
続きを表示(約 1,100 文字)
【背景技術】
【0002】
超電導ケーブルの終端接続部として、超電導ケーブル(10)のケーブルコア(11)を収容する内側収容管部(211)と、この内側収容管部(211)を取り囲む外側収容管部(221)を設けた構造が知られている(特許文献1)。
【先行技術文献】
【特許文献】
【0003】
特開2019-9093号公報
【発明の概要】
【発明が解決しようとする課題】
【0004】
特許文献1に係る内側収容管部(211)は、超電導ケーブルを流れる冷媒の通過により冷却されるため、熱収縮が発生する。他方、外側収容管部(221)は、外の常温環境と接していることから熱収縮が発生しない。
その結果、内側収容管部と接続される各部材(例:外側収容管部)に対し、内側収容管部の熱収縮に起因する応力が発生し、各部材の破損を引き起こす場合があった。
【0005】
よって、本発明は、超電導ケーブル用の終端接続部を構成する各部材間での熱収縮の差に起因する、各部材の破損を防止可能な手段の提供を目的の一つとする。
【課題を解決するための手段】
【0006】
上記課題を解決すべくなされた本願発明は、超電導ケーブルを接続するための終端接続部であって、内側収容部、外側収容部および伸縮筒を少なくとも具備し、前記内側収容部の内部に冷媒の往復路を設けてあり、前記伸縮筒は、前記内側収容部と前記外側収容部との間を繋いであり、前記外側収容部に対する前記内側収容部の相対移動に追従して伸縮することを特徴とする。
【発明の効果】
【0007】
本発明によれば、超電導ケーブル用の終端接続部を構成する各部材間での熱収縮の差に起因する各部材の破損を防止することができる。
【図面の簡単な説明】
【0008】
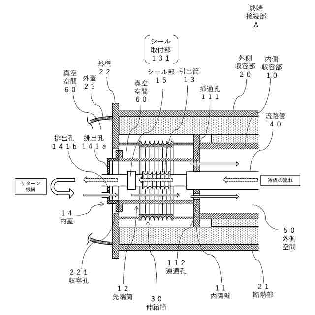
本発明に係る超電導ケーブル用の終端接続部の内部構造を示す概略図。
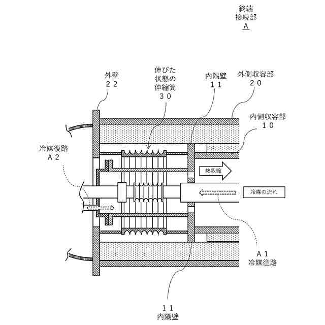
伸縮筒の動作を示す概略図。
引出筒の動作を示す概略図。
【発明を実施するための形態】
【0009】
以下、図面を参照しながら、本発明の実施例について説明する。
【実施例】
【0010】
<1>概要(図1)
図1は、本発明に係る超電導ケーブル用の終端接続部Aの内部構造を示す概略図である。
本実施例に係る終端接続部Aは、超電導ケーブルを接続するとともに、電力の供給元である電源や、電力の供給先である各種機器と、電力リードを介して接続し、これらの間で通電を行うための装置である。
(【0011】以降は省略されています)
この特許をJ-PlatPat(特許庁公式サイト)で参照する
関連特許
SWCC株式会社
超電導ケーブル
2か月前
SWCC株式会社
ケーブル接続部
2か月前
SWCC株式会社
ケーブル表面の検査方法
2か月前
SWCC株式会社
超電導ケーブルの冷却システム
2か月前
SWCC株式会社
超電導ケーブル用の終端接続部
2か月前
SWCC株式会社
発泡層製造用組成物及び発泡ゴムローラ
1か月前
SWCC株式会社
超電導積層導体、超電導ケーブルおよび電気推進システム
2か月前
SWCC株式会社
発泡層製造用組成物、発泡層の製造方法、及び発泡ゴムローラ
1か月前
SWCC株式会社
超電導ケーブル用の終端接続部および超電導ケーブルの冷却方法
2か月前
東ソー株式会社
絶縁電線
1か月前
APB株式会社
蓄電セル
1か月前
日機装株式会社
加圧装置
4日前
株式会社東芝
端子台
1か月前
マクセル株式会社
電源装置
1か月前
日新イオン機器株式会社
イオン源
4日前
日新イオン機器株式会社
イオン源
1か月前
ローム株式会社
半導体装置
1か月前
三菱電機株式会社
回路遮断器
27日前
株式会社GSユアサ
蓄電装置
1か月前
株式会社GSユアサ
蓄電装置
1か月前
株式会社GSユアサ
蓄電装置
19日前
株式会社GSユアサ
蓄電装置
1か月前
株式会社ホロン
冷陰極電子源
1か月前
富士電機株式会社
電磁接触器
19日前
トヨタ自動車株式会社
蓄電装置
11日前
北道電設株式会社
配電具カバー
1か月前
日本特殊陶業株式会社
保持装置
1か月前
個人
電源ボックス及び電子機器
4日前
ホシデン株式会社
複合コネクタ
13日前
株式会社東芝
電子源
4日前
日新イオン機器株式会社
基板処理装置
1か月前
大電株式会社
電線又はケーブル
11日前
株式会社トクミ
ケーブル
5日前
トヨタ自動車株式会社
蓄電装置
1か月前
トヨタ自動車株式会社
冷却構造
1か月前
トヨタ自動車株式会社
バッテリ
1か月前
続きを見る
他の特許を見る