TOP
|
特許
|
意匠
|
商標
特許ウォッチ
Twitter
他の特許を見る
10個以上の画像は省略されています。
公開番号
2025153831
公報種別
公開特許公報(A)
公開日
2025-10-10
出願番号
2024056486
出願日
2024-03-29
発明の名称
超電導積層導体、超電導ケーブルおよび電気推進システム
出願人
SWCC株式会社
代理人
弁理士法人鷲田国際特許事務所
主分類
H01B
12/06 20060101AFI20251002BHJP(基本的電気素子)
要約
【課題】複数のテープ状超電導線材を積層した超電導積層導体において超電導線材間の絶縁性を確保しながら、超電導積層導体単体での軽量化と超電導ケーブル製造時の作業容易性向上とを実現する。
【解決手段】超電導積層導体は、複数のテープ状超電導線材を積層してなり、複数のテープ状超電導線材は、素線の表面および裏面に絶縁層を有する素線被覆型のテープ状超電導線材と、素線の表面および裏面に絶縁層を有しない素線露出型のテープ状超電導線材と、を含む。素線被覆型のテープ状超電導線材と素線露出型のテープ状超電導線材とは、交互に積層されている。
【選択図】図6B
特許請求の範囲
【請求項1】
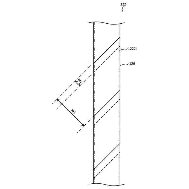
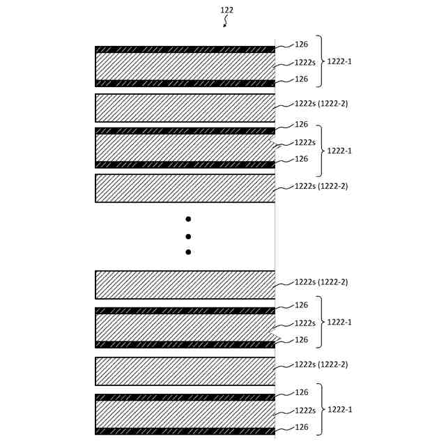
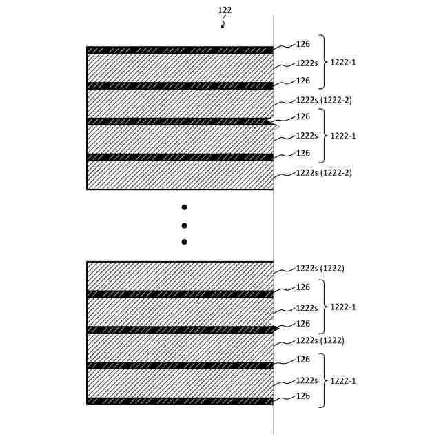
複数のテープ状超電導線材を積層してなる超電導電積層導体であって、
前記複数のテープ状超電導線材は、
素線の表面および裏面に絶縁層を有する素線被覆型のテープ状超電導線材と、
素線の表面および裏面に絶縁層を有しない素線露出型のテープ状超電導線材と、を含み、
前記素線被覆型のテープ状超電導線材と前記素線露出型のテープ状超電導線材とが交互に積層された、
超電導積層導体。
続きを表示(約 1,100 文字)
【請求項2】
前記絶縁層は、前記表面および前記裏面を含む外周面に巻回されたまたは前記表面および前記裏面に重ねられた絶縁テープにより構成され、
前記素線被覆型のテープ状超電導線材において、積層方向で隣り合う前記素線露出型のテープ状超電導線材に対面する、前記絶縁テープの外側表面は、非粘着性である、
請求項1に記載の超電導積層導体。
【請求項3】
前記絶縁テープは、前記表面および前記裏面を含む外周面に螺旋状に巻回され、
前記絶縁テープの螺旋状巻回は、前記絶縁テープの幅方向で隙間を空けない密巻であり、前記密巻により重なり合う前記絶縁テープの幅の割合は、0%~50%である、
請求項2に記載の超電導積層導体。
【請求項4】
前記絶縁層は、長手方向を前記表面および前記裏面と揃えた状態で前記表面および前記裏面にそれぞれ重ねられた一対の絶縁テープにより構成され、
前記一対の絶縁テープは、前記表面および前記裏面と等幅である、
請求項1に記載の超電導積層導体。
【請求項5】
前記絶縁層は、長手方向を前記表面および前記裏面と揃えた状態で前記表面および前記裏面に重ねられた一枚の絶縁テープにより構成され、
前記一枚の絶縁テープにおいて幅方向の中央部を境に分かれた2つの半部がそれぞれ、前記表面および前記裏面に重ねられた、
請求項1に記載の超電導積層導体。
【請求項6】
前記絶縁層は、長手方向を前記表面および前記裏面と揃えた状態で前記表面および前記裏面に重ねられた一対の絶縁テープにより構成され、
前記一対の絶縁テープはそれぞれ前記表面および前記裏面よりも幅広であり、前記一対の絶縁テープがそれぞれ前記表面および前記裏面に重ねられた際に幅方向に突出するそれぞれの両端部が、互いに接着された、
請求項1に記載の超電導積層導体。
【請求項7】
請求項1に記載の超電導積層導体を複数有し、
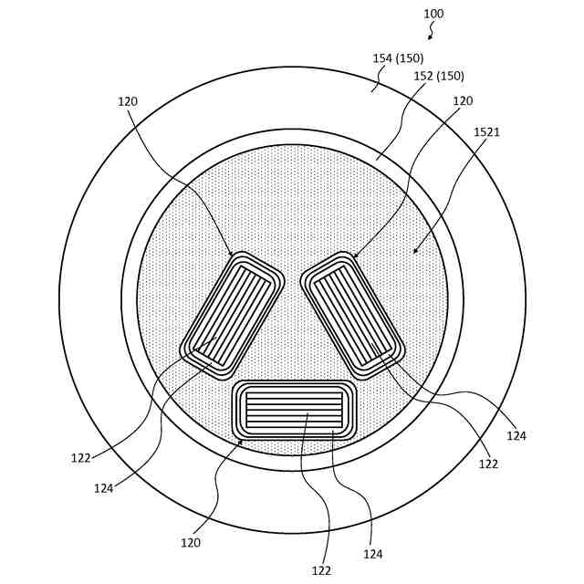
使用時に冷媒を流通させる内部空間を有し、前記内部空間内で、複数の前記超電導積層導体が互いに絶縁されて多芯構造に配置されている、断熱管をさらに有する、
超電導ケーブル。
【請求項8】
輸送機器に搭載される電気推進システムであって、
請求項7に記載の超電導ケーブルと、電力源と、電動機とを含み、
前記超電導ケーブルにより前記電力源と前記電動機とが接続され、
前記超電導ケーブルを介して電力供給することにより前記電動機を駆動させて前記輸送機器を推進させる、
電気推進システム。
【請求項9】
前記輸送機器は、飛行体である、
請求項8に記載の電気推進システム。
発明の詳細な説明
【技術分野】
【0001】
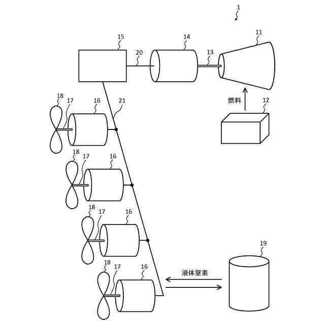
本発明は、超電導積層導体、超電導ケーブルおよび電気推進システムに関する。
続きを表示(約 1,500 文字)
【背景技術】
【0002】
従来、極低温において超電導状態となる超電導線材を導体として用い、大電流を低損失で送電可能な超電導ケーブルが知られている。例えば、CO
2
排出量削減のため電動化が検討されている航空機等の飛行体向けの推進システムにおいては、軽量で、かつ高効率・高出力が可能な超電導技術の必要性が高まっている。このような推進システムの実現に向け、ジェットエンジンから置き換わる電動機への電力供給に適した、大電流を通電可能な超電導ケーブルの開発が進められている。
【0003】
例えば特許文献1には、三相同軸型の超電導ケーブルが記載されている。特許文献1に記載の超電導ケーブルは、金属製である断熱内管および断熱外管により構成される二重管構造の断熱管を有し、断熱内管の内側に、複数の超電導層を同軸状に積層したケーブルコアを収容するとともに冷媒を流通させ、かつ断熱内管と断熱外管との間を真空状態にすることで断熱する。
【0004】
特許文献2に記載の超電導ケーブルは、それぞれが複数のテープ状超電導線材を積層した複数の超電導積層導体が断熱管の内部空間内に多芯構造に配置された構成を採る。この構成により、大電流の通電性能が確保されると共に、超電導ケーブル全体構成の簡素化および軽量化が図られている。
【先行技術文献】
【特許文献】
【0005】
特開2020-119769号公報
特許第7383839号公報
【発明の概要】
【発明が解決しようとする課題】
【0006】
しかしながら、例えば上述したような電動式の飛行体の実現に向けて、超電導ケーブルのさらなる軽量化が望まれる。
【0007】
本発明者らは、複数のテープ状超電導線材を積層した超電導積層導体を使用する超電導ケーブル、特に超電導積層導体を複数使用する超電導ケーブルの軽量化には、超電導積層導体自体の軽量化が重要である点に着目した。そして、本発明者らは、超電導積層導体自体の軽量化を鋭意検討した結果、超電導線材間の絶縁性を損なうことなく、軽量化だけでなく作業容易性向上をも実現できる、本発明を案出するに到った。
【0008】
本発明の目的は、複数のテープ状超電導線材を積層した超電導積層導体において超電導線材間の絶縁性を確保しながら、超電導積層導体単体での軽量化と超電導ケーブル製造時の作業容易性向上とを実現できる、超電導積層導体、超電導ケーブルおよび電気推進システムを提供することである。
【課題を解決するための手段】
【0009】
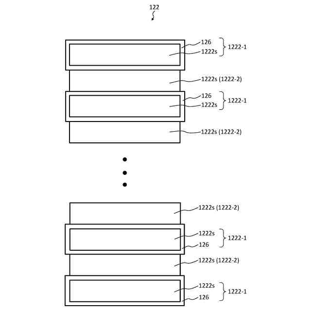
本発明に係る超電導積層導体の一態様は、
複数のテープ状超電導線材を積層してなる超電導積層導体であって、
前記複数のテープ状超電導線材は、
素線の表面および裏面に絶縁層を有する素線被覆型のテープ状超電導線材と、
素線の表面および裏面に絶縁層を有しない素線露出型のテープ状超電導線材と、を含み、
前記素線被覆型のテープ状超電導線材と前記素線露出型のテープ状超電導線材とが交互に積層された。
【0010】
本発明に係る超電導ケーブルの一態様は、
上記の超電導積層導体を複数有し、
使用時に冷媒を流通させる内部空間を有し、前記内部空間内で、複数の前記超電導積層導体が互いに絶縁されて多芯構造に配置されている、断熱管をさらに有する。
(【0011】以降は省略されています)
特許ウォッチbot のツイートを見る
この特許をJ-PlatPat(特許庁公式サイト)で参照する
関連特許
日機装株式会社
加圧装置
4日前
マクセル株式会社
電源装置
1か月前
日新イオン機器株式会社
イオン源
4日前
株式会社GSユアサ
蓄電装置
19日前
三菱電機株式会社
回路遮断器
27日前
株式会社GSユアサ
蓄電装置
1か月前
富士電機株式会社
電磁接触器
19日前
株式会社東芝
電子源
4日前
トヨタ自動車株式会社
蓄電装置
11日前
ホシデン株式会社
複合コネクタ
13日前
日本特殊陶業株式会社
保持装置
1か月前
大電株式会社
電線又はケーブル
11日前
株式会社トクミ
ケーブル
5日前
個人
電源ボックス及び電子機器
4日前
甲神電機株式会社
変流器及び零相変流器
1か月前
ヒロセ電機株式会社
電気コネクタ
19日前
矢崎総業株式会社
コネクタ
19日前
ローム株式会社
半導体モジュール
20日前
住友電装株式会社
コネクタ
19日前
日本無線株式会社
レーダアンテナ
1か月前
株式会社レゾナック
冷却器
27日前
富士電機株式会社
半導体モジュール
1か月前
矢崎総業株式会社
端子
11日前
日本特殊陶業株式会社
アンテナ装置
6日前
株式会社デンソー
熱交換部材
1か月前
三菱電機株式会社
半導体装置
4日前
日本航空電子工業株式会社
コネクタ
1か月前
株式会社パロマ
監視システム
11日前
トヨタ自動車株式会社
蓄電装置構造
5日前
日本航空電子工業株式会社
コネクタ
4日前
日本特殊陶業株式会社
アンテナ装置
6日前
株式会社デンソー
半導体装置
19日前
日本特殊陶業株式会社
アンテナ装置
6日前
株式会社興電舎
励磁突入電流抑制方法
4日前
新電元工業株式会社
半導体装置
19日前
株式会社ダイヘン
電圧調整装置
6日前
続きを見る
他の特許を見る