TOP
|
特許
|
意匠
|
商標
特許ウォッチ
Twitter
他の特許を見る
公開番号
2025153700
公報種別
公開特許公報(A)
公開日
2025-10-10
出願番号
2024056311
出願日
2024-03-29
発明の名称
超電導ケーブル用の終端接続部および超電導ケーブルの冷却方法
出願人
SWCC株式会社
代理人
個人
,
個人
,
個人
主分類
H01R
4/68 20060101AFI20251002BHJP(基本的電気素子)
要約
【課題】超電導システム全体の冷却効率の向上に寄与する手段を提供すること。
【解決手段】内側収容部10に収容する流路管40に、流路管40の管内と、外側空間50とを連通させる連通部41を設ける。超電導システムの初期冷却時には、一方の終端接続部側から、他方の終端接続部に設けた流路管40および外側空間50に対し、冷媒を同一方向に流して、他方の終端接続部に到達した冷媒を外に廃棄しながら導体を冷却する(非循環工程)。その後、他方の終端接続部において、流路管40に設けた連通部41よりも下流側に位置する箇所を全て閉塞して、流路管40からのみ流した冷媒を、連通部41でもって外側空間50に折り返して、超電導ケーブル内で冷媒を循環させる(循環工程)。なお、流路管40と外側空間50における冷媒の流れは逆方向であってもよい。
【選択図】図1
特許請求の範囲
【請求項1】
超電導ケーブルを接続するための終端接続部であって、
前記超電導ケーブル内の導体を冷却するための冷媒の第一流路と連通してある、流路管と、
前記流路管を収容する、内側収容部と、を少なくとも有し、
前記内側収容部は、
前記内側収容部と前記流路管との間の空間である外側空間を、前記超電導ケーブル内の導体を冷却するための冷媒の第二流路と連通してあり、
前記流路管に、
前記流路管の管内と、前記外側空間とを連通させる、連通部を設けてあることを特徴とする、
超電導ケーブル用の終端接続部。
続きを表示(約 490 文字)
【請求項2】
超電導ケーブル内の導体を冷却するための冷媒の第一流路と連通してある、流路管と、前記流路管を収容する、内側収容部と、を少なくとも有し、前記内側収容部は、前記内側収容部と前記流路管との間の空間である外側空間を、前記超電導ケーブル内の導体を冷却するための冷媒の第二流路と連通してあり、前記流路管に、前記流路管の管内と、前記外側空間とを連通させる、連通部を設けてある超電導ケーブルを接続するための終端接続部を用いた、超電導ケーブルの冷却方法であって、
(a)一方の終端接続部側から、他方の終端接続部に設けた前記流路管および前記外側空間に対し、冷媒を同一方向に流して、前記他方の終端接続部に到達した冷媒を外に廃棄しながら、導体を冷却する工程と、
(b)前記導体の冷却後、他方の終端接続部において、前記連通部よりも前記冷媒の流路下流側に位置する箇所を全て閉塞して、前記冷媒を、前記連通部でもって折り返して、前記超電導ケーブル内の第一流路と、第二流路との間で冷媒を循環させる工程と、
を少なくとも含むことを特徴とする、
超電導ケーブルの冷却方法。
発明の詳細な説明
【技術分野】
【0001】
本発明は、超電導ケーブル用の終端接続部および超電導ケーブルの冷却方法に関する。
続きを表示(約 1,600 文字)
【背景技術】
【0002】
超電導ケーブルの終端接続部として、超電導ケーブル(10)のケーブルコア(11)を収容する内側収容管部(211)と、この内側収容管部(211)を取り囲む外側収容管部(221)を設けた構造が知られている(特許文献1)。
【先行技術文献】
【特許文献】
【0003】
特開2019-9093号公報
【発明の概要】
【発明が解決しようとする課題】
【0004】
従来の終端接続部では、超電導ケーブル内を流れる冷媒を循環させるためには、ケーブルコア内の一方の管から流れた冷媒を、他方の管に折り返すための、外付け式のリターン機構(特許文献1では図示なし)を設ける必要がある。
しかし、終端接続部に外付けされるリターン機構は、終端接続部の周囲の常温環境と接しており、熱侵入の影響を受けることから、リターン機構を経由した冷媒が温度上昇してしまい、導体の冷却効率を低下させる問題が生じていた。
また、外付けするリターン機構の分だけ、冷媒の流路も長尺化するため、圧力損失の増加要因になり得る、という問題も生じていた。
【0005】
よって、本発明は、超電導システム全体の冷却効率の向上に寄与する手段の提供を目的の一つとするものである。
【課題を解決するための手段】
【0006】
上記課題を解決すべくなされた本願発明は、超電導ケーブルを接続するための終端接続部であって、前記超電導ケーブル内の導体を冷却するための冷媒の第一流路と連通してある、流路管と、前記流路管を収容する、内側収容部と、を少なくとも有し、前記内側収容部は、前記内側収容部と前記流路管との間の空間である外側空間を、前記超電導ケーブル内の導体を冷却するための冷媒の第二流路と連通してあり、前記流路管に、前記流路管の管内と、前記外側空間とを連通させる、連通部を設けることを特徴とする。
また、本願発明は、上記した終端接続部を用いた、超電導ケーブルの冷却方法であって、(a)一方の終端接続部側から、他方の終端接続部に設けた前記流路管および前記外側空間に対し、冷媒を同一方向に流して、前記他方の終端接続部に到達した冷媒を外に廃棄しながら、導体を冷却する工程と、(b)前記導体の冷却後、他方の終端接続部において、前記連通部よりも前記冷媒の流路下流側に位置する箇所を全て閉塞して、前記冷媒を、前記連通部でもって折り返して、前記超電導ケーブル内の第一流路と、第二流路との間で冷媒を循環させる工程と、を少なくとも含むことを特徴とする。
【発明の効果】
【0007】
本発明によれば、超電導ケーブル用の終端接続部を流れる冷媒の循環に伴う熱損失を極力抑制することができ、その結果、超電導システム全体の冷却効率を向上させることができる。
【図面の簡単な説明】
【0008】
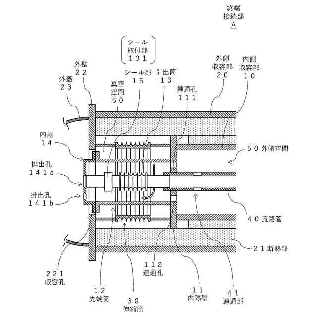
実施例1に係る超電導ケーブル用の終端接続部の内部構造を示す概略図。
初期冷却時の冷媒の流れを示す概略図。
循環冷却時の冷媒の流れを示す概略図。
伸縮筒の動作を示す概略図。
引出筒の動作を示す概略図。
実施例2に係る終端接続部における循環冷却時の冷媒の流れを示す概略図。
【発明を実施するための形態】
【0009】
以下、図面を参照しながら、本発明の実施例について説明する。
【実施例】
【0010】
<1>概要(図1)
図1は、本発明に係る超電導ケーブル用の終端接続部の内部構造を示す概略図である。
本実施例に係る超電導ケーブル用の終端接続部Aは、超電導ケーブルを接続するとともに、電力の供給元である電源や、電力の供給先である各種機器と、電力リードを介して接続し、これらの間で通電を行うための装置である。
(【0011】以降は省略されています)
この特許をJ-PlatPat(特許庁公式サイト)で参照する
関連特許
APB株式会社
蓄電セル
1か月前
東ソー株式会社
絶縁電線
1か月前
日機装株式会社
加圧装置
4日前
ローム株式会社
半導体装置
1か月前
マクセル株式会社
電源装置
1か月前
日新イオン機器株式会社
イオン源
4日前
株式会社東芝
端子台
1か月前
富士電機株式会社
電磁接触器
19日前
株式会社GSユアサ
蓄電装置
1か月前
株式会社GSユアサ
蓄電装置
1か月前
株式会社GSユアサ
蓄電装置
1か月前
株式会社GSユアサ
蓄電装置
19日前
三菱電機株式会社
回路遮断器
27日前
株式会社東芝
電子源
4日前
トヨタ自動車株式会社
蓄電装置
1か月前
株式会社トクミ
ケーブル
5日前
トヨタ自動車株式会社
蓄電装置
11日前
日本特殊陶業株式会社
保持装置
1か月前
大電株式会社
電線又はケーブル
11日前
個人
電源ボックス及び電子機器
4日前
日新イオン機器株式会社
基板処理装置
1か月前
ホシデン株式会社
複合コネクタ
13日前
トヨタ自動車株式会社
バッテリ
1か月前
北道電設株式会社
配電具カバー
1か月前
日本特殊陶業株式会社
保持装置
1か月前
トヨタ自動車株式会社
冷却構造
1か月前
矢崎総業株式会社
コネクタ
19日前
トヨタ自動車株式会社
電池パック
1か月前
株式会社デンソー
電子装置
1か月前
甲神電機株式会社
変流器及び零相変流器
1か月前
株式会社レゾナック
冷却器
27日前
ローム株式会社
半導体モジュール
20日前
ローム株式会社
半導体装置
1か月前
矢崎総業株式会社
バスバー
今日
日亜化学工業株式会社
半導体レーザ素子
1か月前
トヨタ自動車株式会社
密閉型電池
1か月前
続きを見る
他の特許を見る