TOP
|
特許
|
意匠
|
商標
特許ウォッチ
Twitter
他の特許を見る
10個以上の画像は省略されています。
公開番号
2025138067
公報種別
公開特許公報(A)
公開日
2025-09-25
出願番号
2024036816
出願日
2024-03-11
発明の名称
天板付き機器
出願人
ホシザキ株式会社
代理人
個人
,
個人
,
個人
主分類
A47J
39/02 20060101AFI20250917BHJP(家具;家庭用品または家庭用設備;コーヒーひき;香辛料ひき;真空掃除機一般)
要約
【課題】ハウジングの天板の上側を作業台として利用可能な天板付き機器において、ハウジングの前面上部に信号端子部を配置しても水がかかりにくくする。
【解決手段】再加熱器10は、介護施設または医療施設に設置されるものであり、ハウジング11の天板12の上側を作業台として利用可能な天板付き機器であり、所定の機能に関する情報を入出力可能な信号端子部62を備え、ハウジング11は前面上部にて天板12の前端よりも後退した位置で斜め後上方に傾斜する傾斜面部14を備え、傾斜面部14に信号端子部62を配設した。
【選択図】図9
特許請求の範囲
【請求項1】
調理施設、介護施設、医療施設または飲食施設に設置されるものであり、ハウジングの天板の上側を作業台として利用可能な天板付き機器であって、
所定の機能に関する情報を入出力可能な信号端子部を備え、
前記ハウジングは前面上部にて前記天板の前端よりも後退した位置で斜め後上方に傾斜する傾斜面部を備え、前記傾斜面部に前記信号端子部を配設したことを特徴とする天板付き機器。
続きを表示(約 190 文字)
【請求項2】
請求項1に記載の天板付き機器であって、
前記天板の前端の下端部には斜め後上方に延出する水切り部が形成されたことを特徴とする天板付き機器。
【請求項3】
請求項2に記載の天板付き機器であって、
前記信号端子部は、前記傾斜面部における前記水切り部の鉛直方向の下側位置よりも斜め後上側に配置されたことを特徴とする天板付き機器。
発明の詳細な説明
【技術分野】
【0001】
本発明は、調理施設、介護施設、医療施設または飲食施設に設置されるものであり、ハウジングの天板の上側を作業台として利用可能な天板付き機器に関する。
続きを表示(約 2,400 文字)
【背景技術】
【0002】
特許文献1には、天板を調理台として使用可能な横型冷蔵庫の発明が開示されている。この横型冷蔵庫は、厨房等の調理施設に設置可能なものであり、天板が調理をするための調理台(作業台)として利用可能である。横型冷蔵庫は、断熱箱体内に冷蔵室と、断熱箱体の左側に機械室とを備え、断熱箱体内の冷蔵室には冷凍装置の冷却器が配設され、機械室内には冷凍装置の蒸発器以外の構成部品として圧縮機、凝縮器及びキャピラリーチューブが配設されている。横型冷蔵庫においては、冷凍装置の冷媒を循環させることにより、冷蔵室内は冷媒が冷却器で蒸発することにより冷却されている。
【先行技術文献】
【特許文献】
【0003】
特開2005-214498号公報
【発明の概要】
【発明が解決しようとする課題】
【0004】
特許文献1の横型冷蔵庫(天板付き機器)においては、冷凍装置の冷媒を循環させることにより、冷蔵室内は冷媒が冷却器で蒸発することにより冷却されている。特開2023-83560に公開されている縦型の冷蔵庫は、USBケーブル等の通信ケーブルで端末と接続可能としており、端末から所定の機能の設定内容情報を受信可能としている。特許文献1の横型冷蔵庫でも特開2023-83560の縦型の冷蔵庫と同様にUSBケーブル等の通信ケーブルで端末と接続可能としたときには、端末から所定の機能の設定内容情報を受信可能にすることができる。特許文献1の横型冷蔵庫でUSBケーブルを接続するときに、USBケーブルを接続しやすい位置にUSBのコネクタ(信号端子部)を配置する必要がある。
【0005】
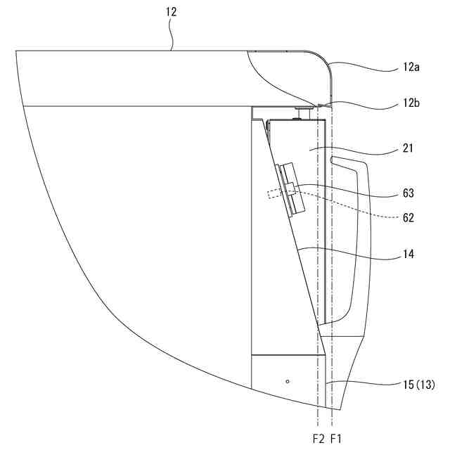
特許文献1の横型冷蔵庫の天板は上側で調理等の水を使用する作業をする作業台として利用可能であるため、USBのコネクタを横型冷蔵庫の天板に配置すると被水する(水がかかる)おそれがあって好ましくない。これに対し、USBのコネクタを横型冷蔵庫でハウジングの前面上部に配置したときには、USBのコネクタを使いやすい位置に配置できるとともに、USBのコネクタに天板の上側で調理等の水を使用する作業をするときの水を被水させにくくすることができる。しかし、横型冷蔵庫の天板の上面に多量の水を流すようにしたときに、水が天板の上面から前側に流れ落ち、前面上部に設けたUSBのコネクタが被水するおそれがある。本発明は、ハウジングの天板の上側を作業台として利用可能な天板付き機器において、ハウジングの前面上部に信号端子部を配置しても水がかかりにくくすることを目的とする。
【課題を解決するための手段】
【0006】
本発明は上記課題を解決するために、調理施設、介護施設、医療施設または飲食施設に設置されるものであり、ハウジングの天板の上側を作業台として利用可能な天板付き機器であって、所定の機能に関する情報を入出力可能な信号端子部を備え、ハウジングは前面上部にて天板の前端よりも後退した位置に斜め後上方に傾斜する傾斜面部を備え、傾斜面部に信号端子部を配設したことを特徴とする天板付き機器を提供するものである。
【0007】
上記のように構成した天板付き機器においては、所定の機能に関する情報を入出力可能な信号端子部を備え、ハウジングは前面上部にて天板の前端よりも後退した位置に斜め後上方に傾斜する傾斜面部を備え、傾斜面部に信号端子部を配設している。ハウジングの天板の上側で水を使った作業をしたときに天板の上面から前面側に水が流れ落ちたとしても、信号端子部はハウジングの前面上部にて天板の前端よりも後退した位置に斜め後上方に傾斜する傾斜面部に配設されているので、天板の上面から前面側に流れ落ちる水が信号端子部にかからないようにすることができる。
【0008】
上記のように構成した天板付き機器においては、天板の前端の下端部には斜め後上方に延出する水切り部が形成されているのが好ましい。このようにしたときには、天板の上面の前端から下方に流れる水が天板の前側下端部から下側を伝ってハウジングの前面に到達するおそれがあるが、天板の前端の下端部には斜め後上方に延出する水切り部が形成されているので、天板の上面の前端から下方に流れる水が天板の下端部から水切り部によって下方に落下するようになり、天板の上面の前端から流れ落ちる水が信号端子部にかからないようにすることができる。
【0009】
上記のように構成した天板付き機器においては、信号端子部は、傾斜面部における水切り部の鉛直方向の下側位置よりも斜め後上側に配置されるのが好ましい。天板の上面の前端から下方に流れる水が天板の前側下端部から下側を伝う過程で水切り部によって下方に落下するようになるが、信号端子部は傾斜面部における水切り部の鉛直方向の下側位置よりも斜め後上側に配置されているので、水切り部から落下する水は信号端子部よりも斜め前下側の位置に着地する。これにより、水切り部から落下する水は信号端子部に付着しないようにすることができる。
【図面の簡単な説明】
【0010】
本発明の天板付き機器の実施形態である再加熱器の正面図である。
図1の前後方向の中央部を左右方向に切断した縦方向断面図である。
図1のA-A断面図である。
図1のB-B断面図である。
図1のC-C断面図である。である。
図4から仕切板を取り外した断面図である。
制御装置を示すブロック図である。
図1の斜視図である。
ハウジングの天板の前端部内を破断して内部を示すようにした再加熱器の前側上部を示す左側面図である。
【発明を実施するための最良の形態】
(【0011】以降は省略されています)
この特許をJ-PlatPat(特許庁公式サイト)で参照する
関連特許
個人
箸
1か月前
個人
椅子
3か月前
個人
家具
4か月前
個人
ソファー
2か月前
個人
掃除用具
3か月前
個人
多用途紐
1か月前
個人
物品
3か月前
個人
紙コップ 蓋
2か月前
個人
バターナイフ
1か月前
個人
靴ベラ
2か月前
個人
矯正用枕
4か月前
個人
首支持具
3か月前
個人
簡易防災トイレ
1か月前
個人
コーヒー抽出器
4か月前
個人
布団カバー
3か月前
個人
クッション
4か月前
個人
分離型寝具カバー
3か月前
個人
食品摘み具
2か月前
個人
便座携帯衛生マット
3か月前
個人
脱着可能鍋用カバー
3か月前
株式会社CCM
枕
3か月前
個人
乳幼児用寝具
3か月前
愛知株式会社
椅子
2か月前
個人
カーテンレール構造
2か月前
個人
ファスナー付き寝具
2か月前
株式会社創和
泡立具
4か月前
個人
衣料用ハンガー
3か月前
個人
線香落下防止スタンド
3か月前
株式会社川口技研
吊掛装置
3か月前
個人
頭頂部用枕装置
2か月前
株式会社川口技研
吊掛装置
3か月前
榎本金属株式会社
引手
1か月前
個人
展示パネル
2か月前
株式会社創和
洗浄部材
2か月前
株式会社福井
抱っこ紐
21日前
藤井株式会社
夏用寝具
21日前
続きを見る
他の特許を見る