TOP
|
特許
|
意匠
|
商標
特許ウォッチ
Twitter
他の特許を見る
公開番号
2025154133
公報種別
公開特許公報(A)
公開日
2025-10-10
出願番号
2024056975
出願日
2024-03-29
発明の名称
引手
出願人
榎本金属株式会社
代理人
個人
主分類
A47B
95/02 20060101AFI20251002BHJP(家具;家庭用品または家庭用設備;コーヒーひき;香辛料ひき;真空掃除機一般)
要約
【課題】 前板の上端に沿った引手であって、引手の内部で掛け具を取付可能としつつ引手のいずれの部分でも指を差し入れて引手として使用できるものを提供する。
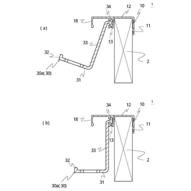
【解決手段】 引手1は、後面壁11と、後面壁11から前方に向けて張り出した上面壁12と、上面壁12の前方端から垂下する前面壁18と、を有する左右方向を長手方向とする引手本体10において、後面壁11と前面壁18の間において引手本体10の上面壁12から下方に垂下して形成される被係合部13を有し、被係合部13は、掛け具30の上端に形成される係合部34を係合可能としつつ、後面壁11とにより前板2を収容する矩形状の収容空間S1を形成することを特徴とする。
【選択図】 図2
特許請求の範囲
【請求項1】
後面壁と、前記後面壁から前方に向けて張り出した上面壁と、前記上面壁の前方端から垂下する前面壁と、を有する左右方向を長手方向とする引手本体において、
前記後面壁と前記前面壁の間において引手本体の前記上面壁から下方に垂下して形成される被係合部を有し、
前記被係合部は、掛け具の上端に形成される係合部を係合可能としつつ、前記後面壁とにより前板を収容する矩形状の収容空間を形成することを特徴とする引手。
続きを表示(約 590 文字)
【請求項2】
引手本体の被係合部は、側面視において後方に向けて湾曲する被係合湾曲部分と、前記被係合湾曲部分から垂下する被係合垂下部分と、前記被係合垂下部分の下端から前側に向かう被係合前後部分と、前記被係合前後部分の前側端から上下に延びる引っ掛け部分を有して袋状とし、
前記被係合垂下部分は、下方を開放しつつ、後方に前板の収容空間との間に空隙部を有することを特徴とする請求項1に記載の引手。
【請求項3】
被係合部の前方に上面壁から垂直に垂下した突壁を有し、前記突壁は前記被係合部の引っ掛け部分の上方に位置するようにすることを特徴とする請求項2に記載の引手。
【請求項4】
掛け具の係合部は、上下に延びる上方壁の上端から湾曲して後方に向かう係合前後部分と、前記係合前後部分の後側端から上下に向かう係合上下部分とを有し、
前記係合上下部分は、上部分に被係合湾曲部分に対応する湾曲部分と、下部分に前記湾曲部分から連続して垂下する連続垂下部分を有することを特徴とする請求項3に記載の引手。
【請求項5】
引手本体の左右端の少なくとも一方端に引手本体とは別体のサイドキャップを接続することを可能とし、
前記サイドキャップは、少なくとも前面壁から被係合部までの側面を遮蔽することを特徴とする請求項4に記載の引手。
発明の詳細な説明
【技術分野】
【0001】
本発明は、キッチンや洗面台等のキャビネットや扉の引き出しの前板の上部に取り付ける引手であって、タオルなどの日用品を掛けるための掛け具を着脱可能とするものに関する。
続きを表示(約 1,300 文字)
【背景技術】
【0002】
従来、タオル掛けを装着する引手などであって台所などの引き出しの前板に設けられるものがある。特許文献1に示すように引手にタオル掛けを簡単に取付けるものが開示されている。
【先行技術文献】
【特許文献】
【0003】
特許第5657270号公報
【発明の概要】
【発明が解決しようとする課題】
【0004】
しかしながら、特許文献1に記載の引手はレール内にベース部材を取り付けるためかかる部分では指を差し込むことができず引手として使用することができない。また、現在では省スペース化が求められており、前板の上側に突出した引手よりも前板の上端に沿った引手が求められている。
【0005】
そこで、前板の上端に沿った引手であって、引手の内部で掛け具を取付可能としつつ引手のいずれの部分でも指を差し入れて引手として使用できるものを提供することを目的とする。また、併せて引手に掛け具の装着がスムーズで安定的な使用が可能となるものを提供することを目的とする。
【課題を解決するための手段】
【0006】
本発明の引手は、後面壁と、前記後面壁から前方に向けて張り出した上面壁と、前記上面壁の前方端から垂下する前面壁と、を有する左右方向を長手方向とする引手本体において、前記後面壁と前記前面壁の間において引手本体の前記上面壁から下方に垂下して形成される被係合部を有し、前記被係合部は、掛け具の上端に形成される係合部を係合可能としつつ、前記後面壁とにより前板を収容する矩形状の収容空間を形成することを特徴とする。
【0007】
引手本体の被係合部は、側面視において後方に向けて湾曲する被係合湾曲部分と、前記被係合湾曲部分から垂下する被係合垂下部分と、前記被係合垂下部分の下端から前側に向かう被係合前後部分と、前記被係合前後部分の前側端から上下に延びる引っ掛け部分を有して袋状とし、前記被係合垂下部分は、下方を開放しつつ、後方に前板の収容空間との間に空隙部を有することが好ましい。
【0008】
また、被係合部の前方に上面壁から垂直に垂下した突壁を有し、前記突壁は前記被係合部の引っ掛け部分の上方に位置するようにすることを特徴とすることが好ましい。
【0009】
また、掛け具の係合部は、上下に延びる上方壁の上端から湾曲して後方に向かう係合前後部分と、前記係合前後部分の後側端から上下に向かう係合上下部分とを有し、前記係合上下部分は、上部分に被係合湾曲部分に対応する湾曲部分と、下部分に前記湾曲部分から連続して垂下する連続垂下部分を有することが好ましい。
【0010】
また、引手本体の左右端の少なくとも一方端に引手本体とは別体のサイドキャップを接続することを可能とし、前記サイドキャップは、少なくとも前面壁から被係合部までの側面を遮蔽することを特徴とすることが好ましい。
【発明の効果】
(【0011】以降は省略されています)
この特許をJ-PlatPat(特許庁公式サイト)で参照する
関連特許
榎本金属株式会社
引手
1か月前
個人
箸
1か月前
個人
家具
4か月前
個人
椅子
3か月前
個人
自助箸
7か月前
個人
掃除機
8か月前
個人
体洗い具
10か月前
個人
ソファー
2か月前
個人
屋外用箒
7か月前
個人
ハンガー
7か月前
個人
耳拭き棒
11か月前
個人
多用途紐
1か月前
個人
枕
8か月前
個人
掃除道具
8か月前
個人
掃除用具
3か月前
個人
枕
5か月前
個人
省煙消臭器
8か月前
個人
開閉トング
6か月前
個人
物品
3か月前
個人
掃除シート
9か月前
個人
片手代替具
11か月前
個人
組立式棚板
7か月前
個人
シャワー装置
6か月前
個人
中身のない枕
7か月前
個人
バターナイフ
1か月前
個人
洗面台
11か月前
個人
転倒防止装置
5か月前
個人
ゴミ袋保持枠
7か月前
個人
経典表示装置
4か月前
個人
受け皿
5か月前
個人
紙コップ 蓋
2か月前
個人
靴ベラ
2か月前
個人
組立家具
9か月前
個人
首支持具
3か月前
個人
コーヒー抽出器
4か月前
個人
汚水漏れ防止具
10か月前
続きを見る
他の特許を見る