TOP
|
特許
|
意匠
|
商標
特許ウォッチ
Twitter
他の特許を見る
10個以上の画像は省略されています。
公開番号
2025138478
公報種別
公開特許公報(A)
公開日
2025-09-25
出願番号
2024037594
出願日
2024-03-11
発明の名称
店舗用冷却装置制御システム
出願人
富士電機株式会社
代理人
個人
,
個人
主分類
F25D
11/00 20060101AFI20250917BHJP(冷凍または冷却;加熱と冷凍との組み合わせシステム;ヒートポンプシステム;氷の製造または貯蔵;気体の液化または固体化)
要約
【課題】部品点数の増加および温度制御の構成の複雑化を抑制しつつ、装置内部の任意の位置に応じた温度制御を行うことが可能な店舗用冷却装置制御システムを提供する。
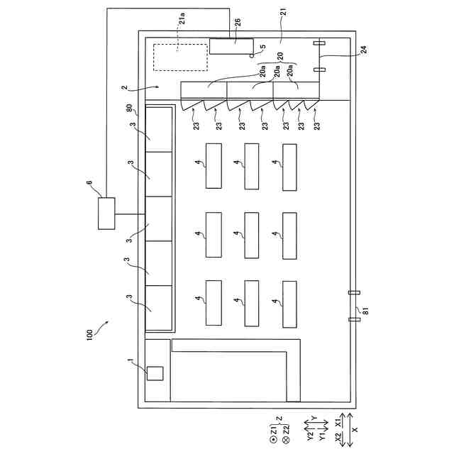
【解決手段】この店舗用冷却装置制御システム100は、入力受付部10と、表示部11と、第1冷却装置2と、第1冷却装置2内に設けられた温度センサ5と、第1冷却装置2の制御を行う第1制御部12および第2制御部25とを備え、第1冷却装置2は、商品を陳列する陳列領域20、内部で作業が可能な作業領域21、および、冷却部26を有しており、第1制御部12は、冷却部26の制御を行う際の温度の設定値30に関する候補のうちの、操作者の選択操作によって選択された候補に基づいて設定値30を設定し、第2制御部25は、第1制御部12が設定した設定値30と、温度センサ5が計測した第1冷却装置2内の計測温度とに基づいて、冷却部26を制御するように構成されている。
【選択図】図2
特許請求の範囲
【請求項1】
店舗内に設置された冷却装置を制御する店舗用冷却装置制御システムであって、
操作者の操作入力を受け付ける入力受付部と、
操作画面を表示する表示部と、
前記冷却装置と、
前記冷却装置内に設けられた温度センサと、
前記冷却装置の制御を行う制御部とを備え、
前記冷却装置は、商品を陳列する陳列領域、内部で作業が可能な作業領域、および、冷却部を有しており、
前記制御部は、前記冷却部の制御を行う際の温度の設定値に関する候補のうちの、操作者の選択操作によって選択された前記候補に基づいて前記設定値を設定するとともに、設定した前記設定値と、前記温度センサが計測した前記冷却装置内の計測温度とに基づいて、前記冷却部を制御するように構成されている、店舗用冷却装置制御システム。
続きを表示(約 1,400 文字)
【請求項2】
前記陳列領域は、複数の棚部を含み、
前記冷却装置内の前記複数の棚部の温度分布の情報を記憶する記憶部をさらに備え、
前記制御部は、前記複数の棚部の配置情報を前記表示部に表示させるとともに、前記入力受付部が受け付けた前記配置情報の選択入力と、選択された前記棚部に対応する前記温度分布の情報とに基づいて、前記設定値を変更するように構成されている、請求項1に記載の店舗用冷却装置制御システム。
【請求項3】
前記温度分布の情報は、前記複数の棚部の各々における温度と、前記温度センサが計測した前記計測温度との差分値を示す差分値情報であり、
前記制御部は、選択された前記棚部に対応する前記差分値に基づいて、前記設定値を変更するように構成されている、請求項2に記載の店舗用冷却装置制御システム。
【請求項4】
前記設定値は、前記冷却部を制御する際の前記設定値の上限値である上限設定値、および、下限値である下限設定値を含み、
前記制御部は、
前記計測温度が前記下限設定値になった場合に、前記冷却部を停止し、前記計測温度が前記上限設定値になった場合に、前記冷却部を駆動するように構成されているとともに、
前記入力受付部が前記配置情報の選択入力を受け付けた場合には、選択された前記棚部に対応する前記差分値に応じて、前記上限設定値および前記下限設定値の両方を変更するように構成されている、請求項3に記載の店舗用冷却装置制御システム。
【請求項5】
前記作業領域は、前記陳列領域とは異なる位置において、商品を配置する配置領域を含み、
前記差分値情報は、前記配置領域の温度と、前記温度センサが計測した温度との差分値を示す情報を含み、
前記入力受付部は、前記配置領域を選択する操作入力を受け付けるように構成されており、
前記制御部は、選択された前記配置領域の前記差分値に基づいて、前記設定値を変更するように構成されている、請求項4に記載の店舗用冷却装置制御システム。
【請求項6】
前記記憶部は、前記冷却装置の大きさ、前記冷却装置に設けられる断熱材の種類、および、前記冷却装置内における前記冷却部の配置の少なくともいずれかを含む前記冷却装置の情報と関連付けて、前記設定値を記憶するように構成されており、
前記表示部は、複数の前記冷却装置の情報を表示するように構成されており、
前記入力受付部は、前記複数の冷却装置の情報のうちのいずれかを選択する操作入力を受け付けるように構成されており、
前記制御部は、前記複数の冷却装置の情報のうちの、選択された前記冷却装置の情報に関連付けられた前記設定値に基づいて、前記冷却装置の制御を行うように構成されている、請求項2に記載の店舗用冷却装置制御システム。
【請求項7】
前記記憶部は、前記差分値のうちの最も大きい値における前記上限設定値よりも低い急冷上限設定値、および、前記差分値のうちの最も大きい値における前記下限設定値よりも低い急冷下限設定値を記憶しており、
前記制御部は、前記複数の棚部の全てを急速冷却する操作入力を前記入力受付部が受け付けた場合、前記急冷上限設定値および前記急冷下限設定値と、前記計測温度とに基づいて、前記冷却部を制御するように構成されている、請求項4に記載の店舗用冷却装置制御システム。
発明の詳細な説明
【技術分野】
【0001】
この発明は、店舗用冷却装置制御システムに関し、特に、装置内部で作業が可能な店舗用冷却装置制御システムに関する。
続きを表示(約 2,700 文字)
【背景技術】
【0002】
従来、装置内部で作業が可能な店舗用冷却装置制御システムが知られている(たとえば、特許文献1参照)。
【0003】
特許文献1には、複数の冷蔵用のショーケース(冷却装置)が設けられた店舗において、ショーケースの冷却を制御する制御システムが開示されている。上記特許文献1には、複数の冷蔵用のショーケースとして、扉部を備えていないオープンタイプのショーケースと、扉部と装置内部の作業領域とを備え、装置内部で作業が可能なウォークインタイプのショーケースとが開示されている。上記特許文献1に記載の制御システムでは、冷媒配管によって各ショーケースと接続された冷凍機と、冷凍機を制御する制御装置を備える。また、各ショーケースは、冷媒配管と接続される蒸発器と、蒸発器と熱交換を行い、ショーケースの内部に冷気を吹き出す冷気循環用送風機と、1つの庫内温度センサと、を備える。
【0004】
上記特許文献1に記載の制御装置は、庫内温度センサが計測した各ショーケース内の温度に基づいて、各ショーケースによる冷却を制御している。具体的には、上記特許文献1に記載の制御装置は、ショーケース内の温度が、予め設定された設置値となるように、ショーケース内の冷却制御を行っている。
【先行技術文献】
【特許文献】
【0005】
特開2014-153007号公報
【発明の概要】
【発明が解決しようとする課題】
【0006】
ここで、上記特許文献1に記載されているウォークインタイプのショーケース(冷却装置)は、装置内部に作業領域を有しており、作業者が内部に入って商品の陳列を行うことが可能になっている。すなわち、ウォークインタイプの冷却装置は、オープンタイプの冷却装置と比較して、冷却する領域が広い。また、上記特許文献1に記載の構成では、庫内温度センサ(温度センサ)が装置内に1つしか設けられていないため、冷却する領域が広い装置内部の温度を、温度センサの計測値と、予め設定された設定値とに基づいて制御する構成の場合、温度センサから離れた位置においては、予め設定された設定値よりも温度が高くなる場合があるという不都合がある。この場合、冷却装置内に設置する温度センサの数を増やすことにより、装置内部の任意の位置の温度に基づいて装置内部の温度制御を行うことが可能となるが、部品点数が増加するとともに、温度制御の構成が複雑化する。そこで、部品点数の増加および温度制御の構成が複雑化することを抑制しつつ、冷却装置内部の任意の位置に応じた温度制御を行うことが望まれている。
【0007】
この発明は、上記のような課題を解決するためになされたものであり、この発明の1つの目的は、部品点数の増加および温度制御の構成の複雑化を抑制しつつ、装置内部の任意の位置に応じた温度制御を行うことが可能な店舗用冷却装置制御システムを提供することである。
【課題を解決するための手段】
【0008】
上記目的を達成するために、この発明の一の局面による店舗用冷却装置制御システムは、店舗内に設置された冷却装置を制御する店舗用冷却装置制御システムであって、操作者の操作入力を受け付ける入力受付部と、操作画面を表示する表示部と、冷却装置と、冷却装置内に設けられた温度センサと、冷却装置の制御を行う制御部とを備え、冷却装置は、商品を陳列する陳列領域、内部で作業が可能な作業領域、および、冷却部を有しており、制御部は、冷却部の制御を行う際の温度の設定値に関する候補のうちの、操作者の選択操作によって選択された候補に基づいて設定値を設定するとともに、設定した設定値と、温度センサが計測した冷却装置内の計測温度とに基づいて、冷却部を制御するように構成されている。
【0009】
上記一の局面による店舗用冷却装置制御システムでは、上記のように、制御部は、冷却部の制御を行う際の温度の設定値に関する候補のうちの、操作者の選択操作によって選択された候補に基づいて設定値を設定するとともに、設定した設定値と、温度センサが計測した冷却装置内の計測温度とに基づいて、冷却部を制御するように構成されている。これにより、操作者の選択操作によって選択された候補に基づいて設定された設定値に基づいて、冷却部を制御することができる。したがって、操作者の選択によって設定値を設定することが可能になるので、冷却装置内部に複数の温度センサを設けることなく、予め設定された設定値と異なる値の設定値に基づいて冷却装置内部の温度制御を行うことができる。また、操作者に選択された候補に基づいて設定された設定値によって冷却部の制御を行うので、たとえば、装置内部の任意の位置に基づく設定値を設定値に関する候補として操作者が選択することにより、予め設定された単一の設定値と、温度センサによって計測された計測値とに基づいて冷却装置の温度制御を行う構成と異なり、装置内部の任意の位置に応じた設定値に基づいて、冷却装置内部の温度制御を行うことができる。これらの結果、部品点数の増加および温度制御の構成の複雑化を抑制しつつ、装置内部の任意の位置に応じた温度制御を行うことができる。
【0010】
上記一の局面による店舗用冷却装置制御システムにおいて、好ましくは、陳列領域は、複数の棚部を含み、冷却装置内の複数の棚部の温度分布の情報を記憶する記憶部をさらに備え、制御部は、複数の棚部の配置情報を表示部に表示させるとともに、入力受付部が受け付けた配置情報の選択入力と、選択された棚部に対応する温度分布の情報とに基づいて、設定値を変更するように構成されている。ここで、冷却装置の陳列領域に陳列される商品に、たとえば、乳製品などが含まれる場合、常温で保存可能な清涼飲料水などの場合と比較して、温度管理をより厳密に行う必要がある。また、内部に作業領域を有する冷却装置では、作業領域を有さない冷却装置と比較して、装置内部の大きさ(体積)が大きくなる。また、複数の棚部の各々と、冷却部との位置関係が互いに異なるため、複数の棚部において、冷えやすい棚部と冷えにくい棚部とが存在することになる。この場合、予め設定された設定値と温度センサの計測値とに基づいて冷却装置内の温度制御を行う場合、棚部の位置に応じて、温度制御の精度に差が生じる。
(【0011】以降は省略されています)
この特許をJ-PlatPat(特許庁公式サイト)で参照する
関連特許
富士電機株式会社
搬送機構
21日前
富士電機株式会社
溶接装置
21日前
富士電機株式会社
冷却装置
24日前
富士電機株式会社
半導体装置
21日前
富士電機株式会社
半導体装置
17日前
富士電機株式会社
回路遮断器
18日前
富士電機株式会社
半導体装置
3日前
富士電機株式会社
電磁接触器
17日前
富士電機株式会社
電磁接触器
17日前
富士電機株式会社
電磁接触器
17日前
富士電機株式会社
電磁接触器
17日前
富士電機株式会社
電磁接触器
17日前
富士電機株式会社
半導体装置
1か月前
富士電機株式会社
自動販売機
1か月前
富士電機株式会社
半導体装置
1か月前
富士電機株式会社
半導体装置
1か月前
富士電機株式会社
エンコーダ
18日前
富士電機株式会社
商品収納装置
13日前
富士電機株式会社
冷却システム
1か月前
富士電機株式会社
ショーケース
13日前
富士電機株式会社
自動販売装置
4日前
富士電機株式会社
ショーケース
1か月前
富士電機株式会社
分析システム
1か月前
富士電機株式会社
電力変換システム
21日前
富士電機株式会社
電力変換システム
1か月前
富士電機株式会社
半導体パッケージ
1か月前
富士電機株式会社
電力変換システム
17日前
富士電機株式会社
チャンネルベース
17日前
富士電機株式会社
チャンネルベース
17日前
富士電機株式会社
半導体モジュール
6日前
富士電機株式会社
エレベータ制御装置
1か月前
富士電機株式会社
集積回路、電源回路
3日前
富士電機株式会社
エレベータ制御装置
19日前
富士電機株式会社
エレベータ制御装置
19日前
富士電機株式会社
冷却器及び半導体装置
17日前
富士電機株式会社
測定方法及び製造方法
24日前
続きを見る
他の特許を見る