TOP
|
特許
|
意匠
|
商標
特許ウォッチ
Twitter
他の特許を見る
公開番号
2025169819
公報種別
公開特許公報(A)
公開日
2025-11-14
出願番号
2024074977
出願日
2024-05-02
発明の名称
入力機器
出願人
エレコム株式会社
代理人
弁理士法人R&C
主分類
G06F
3/02 20060101AFI20251107BHJP(計算;計数)
要約
【課題】複数の機能を有する入力機器を簡便に使用することを目的とする。
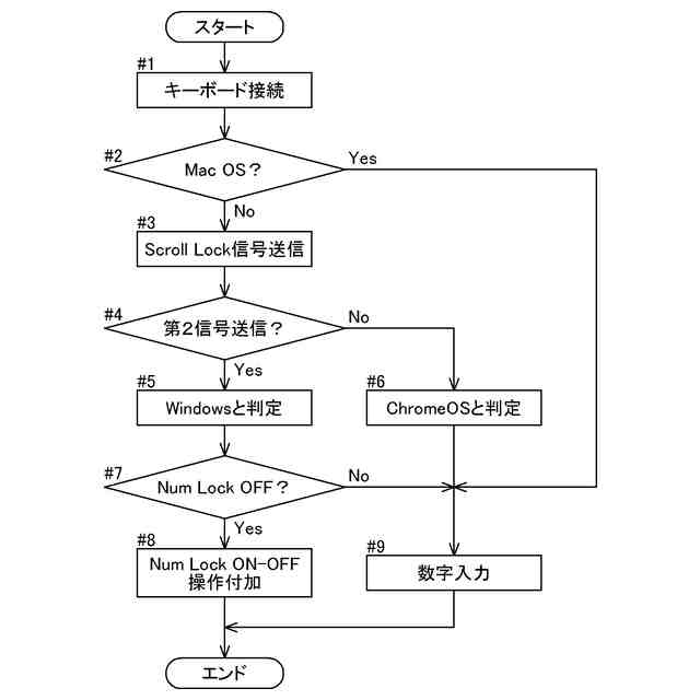
【解決手段】周辺機器が接続される端末に搭載されるOSを判別するOS判別システムであって、端末に搭載できるOSは、所定の第1信号を受信すると所定の第2信号を送信する第1のOSを含み、周辺機器が端末に接続された際に、周辺機器から端末に第1信号を自動的に送信させる(#3)送信制御部と、端末から第2信号が送信されたか否かを判定する(#4)信号判定部と、第2信号が送信されたと判定すると端末に第1のOSが搭載されていると判定する(#5)OS判定部とを備える。
【選択図】図5
特許請求の範囲
【請求項1】
周辺機器が接続される端末に搭載されるOSを判別するOS判定システムであって、
前記端末に搭載できる前記OSは、所定の第1信号を受信すると所定の第2信号を送信する第1のOSを含み、
前記周辺機器が前記端末に接続された際に、前記周辺機器から前記端末に前記第1信号を自動的に送信させる送信制御部と、
前記端末から前記第2信号が送信されたか否かを判定する信号判定部と、
前記第2信号が送信されたと判定すると前記端末に前記第1のOSが搭載されていると判定するOS判定部とを備えるOS判定システム。
続きを表示(約 1,300 文字)
【請求項2】
所定の第1信号を受信すると所定の第2信号を送信する第1のOSを含む複数種のOSうちのいずれかが搭載される端末に接続されて、前記端末に対して操作入力を行う入力機器であって、
前記端末に情報の送信を行い、前記端末に接続された際に自動的に前記第1信号を前記端末に送信する送信部と、
前記第2信号を受信したか否かを判定する信号判定部と、
前記第2信号を受信したと判定すると接続された前記端末に前記第1のOSが搭載されていると判定するOS判定部とを備える入力機器。
【請求項3】
それぞれが前記端末に対して1つの機能を実行させる第1操作部と、
それぞれが前記端末に対して第1機能または第2機能を実行させる1または複数の第2操作部とを有し、
前記第1のOSが搭載された前記端末は、前記第1機能または前記第2機能を選択的に実行することができ、
前記第2操作部が操作された際に実行される機能を選択する機能選択部を有さず、
前記端末に前記第1のOSが搭載されていると判定されると、前記第2操作部が操作された際に前記端末が前記第2機能を実行する状態であるか否かを判定する機能状態判定部と、
前記機能状態判定部で前記第2機能が実行される状態であると判定された場合に、前記第2操作部が操作されると前記端末に対して前記第1機能を実行させるように制御する操作実行部とを備える請求項2に記載の入力機器。
【請求項4】
前記機能状態判定部は、所定の第3信号を前記端末に送信すると所定の第4信号が前記端末から送信されることにより、前記端末が前記第2機能を実行する状態であると判定する請求項3に記載の入力機器。
【請求項5】
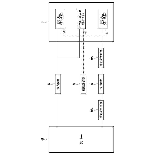
前記第2操作部はテンキーであり、
前記第1機能はナムロックである請求項3に記載の入力機器。
【請求項6】
それぞれの前記第2操作部は、操作された際に固有の操作信号を前記端末に送信し、
前記端末は、前記第1機能が実行される状態である際と前記第2機能が実行される状態である際とで、前記操作信号を受信した際に異なる機能を実行し、
前記操作実行部は、前記端末に、前記第2操作部が操作された際に実行される機能を変更する機能変更信号を送信し、
前記機能変更信号が送信された後に前記操作信号を送信する請求項3に記載の入力機器。
【請求項7】
前記操作信号が送信された後に、前記操作実行部は、前記端末に、再度前記機能変更信号を送信する請求項6に記載の入力機器。
【請求項8】
前記端末に対して第3機能を実行させる第3操作部と、
前記第3操作部が操作された際に、前記第1のOSが搭載されていると判定されると前記第3機能を実行させる所定の機能制御信号として第1機能制御信号を前記端末に送信し、前記端末に前記第1のOS以外のOSが搭載されていると判定されると前記端末に前記第1機能制御信号以外の前記機能制御信号を送信して前記端末に前記第3機能を実行させる操作実行部とを備える請求項2に記載の入力機器。
発明の詳細な説明
【技術分野】
【0001】
本発明は、端末にどのようなOSが搭載されているかを判定するOS判定システムと、端末に接続される入力機器に関する。
続きを表示(約 1,700 文字)
【背景技術】
【0002】
端末(コンピュータ)は入力装置であるキーボードから各種の操作入力を受け付ける。キーボードは操作部(キー操作部)である複数のキーを有し、操作するキーに応じた信号を端末に送信し、端末に特定の動作をさせる。特許文献1に開示されるように、キーボードは数値を入力するためのテンキーを有し、テンキーは数値を入力する数値入力機能と他の機能を有する場合があり、Num Lockキーにより、テンキーの機能を切り替えることができる。テンキーはNum LockキーがON状態の際に数値を入力できる(数値入力)状態となる。
【0003】
なお、このようなテンキーの機能の切り替えは、端末に搭載されるOS(Operating System)が、所定のOSの場合に実行することができる。
【先行技術文献】
【特許文献】
【0004】
特開2003-177858号公報
【発明の概要】
【発明が解決しようとする課題】
【0005】
このような複数の機能を有するキーボード等の入力機器をより簡便に使用することが求められている。本発明は、複数の機能を有する入力機器を簡便に使用することを目的とする。
【課題を解決するための手段】
【0006】
上記目的を達成するために、本発明の一実施形態に係るOS判定システムは、周辺機器が接続される端末に搭載されるOSを判別するOS判定システムであって、前記端末に搭載できる前記OSは、所定の第1信号を受信すると所定の第2信号を送信する第1のOSを含み、前記周辺機器が前記端末に接続された際に、前記周辺機器から前記端末に前記第1信号を自動的に送信させる送信制御部と、前記端末から前記第2信号が送信されたか否かを判定する信号判定部と、前記第2信号が送信されたと判定すると前記端末に前記第1のOSが搭載されていると判定するOS判定部とを備える。
【0007】
周辺機器が接続されることにより、端末に搭載されるOSが自動的に判定される。そのため、容易に端末に搭載されるOSを判定することができ、周辺機器の動作に対する端末の動作を容易に制御することができる。その結果、複数の機能を有する周辺機器を簡便に使用することができる。
【0008】
さらに、本発明の一実施形態に係る入力機器は、所定の第1信号を受信すると所定の第2信号を送信する第1のOSを含む複数種のOSうちのいずれかが搭載される端末に接続されて、前記端末に対して操作入力を行う入力機器であって、前記端末に情報の送信を行い、前記端末に接続された際に自動的に前記第1信号を前記端末に送信する送信部と、前記第2信号を受信したか否かを判定する信号判定部と、前記第2信号を受信したと判定すると接続された前記端末に前記第1のOSが搭載されていると判定するOS判定部とを備える。
【0009】
入力機器が接続されることにより、端末に搭載されるOSが自動的に判定される。そのため、容易に端末に搭載されるOSを判定することができ、入力機器の動作に対する端末の動作を容易に制御することができる。その結果、複数の機能を有する入力機器を簡便に使用することができる。
【0010】
また、それぞれが前記端末に対して1つの機能を実行させる第1操作部と、それぞれが前記端末に対して第1機能または第2機能を実行させる1または複数の第2操作部と、前記第1のOSが搭載された前記端末は、前記第1機能または前記第2機能を選択的に実行することができ、前記第2操作部が操作された際に実行される機能を選択する機能選択部を有さず、前記端末に前記第1のOSが搭載されていると判定されると、前記第2操作部が操作された際に前記端末が前記第2機能を実行する状態であるか否かを判定する機能状態判定部と、前記機能状態判定部で前記第2機能が実行される状態であると判定された場合に、前記第2操作部が操作されると前記端末に対して前記第1機能を実行させるように制御する操作実行部とを備えてもよい。
(【0011】以降は省略されています)
この特許をJ-PlatPat(特許庁公式サイト)で参照する
関連特許
エレコム株式会社
入力機器
3日前
エレコム株式会社
携帯端末ケース
3日前
個人
詐欺保険
1か月前
個人
縁伊達ポイン
1か月前
個人
5掛けポイント
10日前
個人
職業自動販売機
3日前
個人
RFタグシート
21日前
個人
ペルソナ認証方式
18日前
個人
QRコードの彩色
1か月前
個人
地球保全システム
1か月前
個人
情報処理装置
13日前
個人
自動調理装置
20日前
個人
農作物用途分配システム
1か月前
個人
残土処理システム
1か月前
個人
知的財産出願支援システム
1か月前
個人
サービス情報提供システム
5日前
個人
インターネットの利用構造
17日前
個人
タッチパネル操作指代替具
27日前
個人
スケジュール調整プログラム
26日前
個人
携帯端末障害問合せシステム
26日前
個人
エリアガイドナビAIシステム
18日前
個人
海外支援型農作物活用システム
1か月前
個人
食品レシピ生成システム
1か月前
株式会社キーエンス
受発注システム
1か月前
株式会社キーエンス
受発注システム
1か月前
株式会社キーエンス
受発注システム
1か月前
大同特殊鋼株式会社
疵判定方法
1か月前
株式会社ワコム
電子ペン
12日前
株式会社ワコム
電子ペン
12日前
キヤノン株式会社
印刷システム
26日前
エッグス株式会社
情報処理装置
27日前
株式会社ケアコム
項目選択装置
13日前
株式会社ケアコム
項目選択装置
13日前
トヨタ自動車株式会社
通知装置
24日前
個人
音声・通知・再配達UX制御構造
1か月前
個人
帳票自動生成型SaaSシステム
1か月前
続きを見る
他の特許を見る