TOP
|
特許
|
意匠
|
商標
特許ウォッチ
Twitter
他の特許を見る
10個以上の画像は省略されています。
公開番号
2025176332
公報種別
公開特許公報(A)
公開日
2025-12-04
出願番号
2024082398
出願日
2024-05-21
発明の名称
穿孔装置、後処理装置、及び、画像形成システム
出願人
株式会社リコー
代理人
個人
主分類
B65H
29/52 20060101AFI20251127BHJP(運搬;包装;貯蔵;薄板状または線条材料の取扱い)
要約
【課題】搬送ガイド部材の搬送ガイド面に結露を生じにくくする。
【解決手段】シートPを案内する搬送ガイド部材180を具備して、シートPに穿孔処理を施す穿孔ユニット70が設けられている。また、シートPにおける幅方向の端部を検知可能な検知センサ161を具備して、検知センサ161を幅方向に移動させてシートPの幅方向の位置ズレ量を検知する位置ズレ検知機構150が設けられている。さらに、位置ズレ検知機構150によって検知された位置ズレ量に基づいて、位置ズレ量が相殺されるように穿孔ユニット70を幅方向に移動させる移動機構190が設けられている。そして、位置ズレ検知機構150は、検知センサ161の移動に連動して、搬送ガイド部材180の搬送ガイド面181a、182aにおいて結露した部分を結露前の状態又はそれに近い状態に戻す結露除去部165が設けられている。
【選択図】図8
特許請求の範囲
【請求項1】
所定の搬送方向に搬送されるシートを案内する搬送ガイド部材を具備して、前記シートに穿孔処理を施す穿孔ユニットと、
前記シートにおける前記搬送方向に直交する幅方向の端部を検知可能な検知センサを具備して、前記検知センサを前記幅方向に移動させて前記シートの前記幅方向の位置ズレ量を検知する位置ズレ検知機構と、
前記位置ズレ検知機構によって検知された位置ズレ量に基づいて、前記位置ズレ量が相殺されるように前記穿孔ユニットを前記幅方向に移動させる移動機構と、
を備え、
前記位置ズレ検知機構は、前記検知センサの移動に連動して、前記搬送ガイド部材の搬送ガイド面において結露した部分を結露前の状態又はそれに近い状態に戻す結露除去部を具備したことを特徴とする穿孔装置。
続きを表示(約 1,000 文字)
【請求項2】
前記位置ズレ検知機構は、前記検知センサと、前記結露除去部を保持するリンク機構と、をそれぞれ保持して、前記幅方向に移動可能なセンサユニットを具備し、
前記センサユニットが前記幅方向の一端側から他端側に移動する過程において、前記リンク機構が前記位置ズレ検知機構の押動部に押動されて、シートの搬送を妨げない収納位置から前記搬送ガイド面に摺接する摺接位置まで前記結露除去部が移動することを特徴とする請求項1に記載の穿孔装置。
【請求項3】
前記センサユニットが前記幅方向の他端側から一端側に移動する過程において、前記リンク機構が前記位置ズレ検知機構の第2押動部に押動されて、前記摺接位置から前記収納位置まで前記結露除去部が移動することを特徴とする請求項2に記載の穿孔装置。
【請求項4】
前記センサユニットが前記幅方向の一端側の退避位置から中央の検知終了位置まで移動する過程において、前記検知センサによる前記位置ズレ量の検知がおこなわれ、
前記センサユニットが前記検知終了位置から前記幅方向の他端側まで移動する過程において、前記結露除去部の前記収納位置から前記摺接位置までの移動がおこなわれることを特徴とする請求項2に記載の穿孔装置。
【請求項5】
前記結露除去部を前記収納位置から前記摺接位置まで移動させる結露除去モードは、電源投入後に最初の前記穿孔処理が開始される前に実行されることを特徴とする請求項4に記載の穿孔装置。
【請求項6】
前記検知センサによって検知した位置ズレ量に基づいて前記移動機構によって前記穿孔ユニットを前記幅方向に移動させる調整モードは、前記穿孔処理がおこなわれるたびに実行されることを特徴とする請求項5に記載の穿孔装置。
【請求項7】
前記結露除去部は、弾性部材であることを特徴とする請求項1又は請求項2に記載の穿孔装置。
【請求項8】
前記結露除去部は、吸湿部材であることを特徴とする請求項1又は請求項2に記載の穿孔装置。
【請求項9】
前記位置ズレ検知機構は、前記結露除去部が複数設置されたことを特徴とする請求項1又は請求項2に記載の穿孔装置。
【請求項10】
画像形成装置によって画像が形成されたシートに対して後処理を施す後処理装置であって、
請求項1又は請求項2に記載の穿孔装置を備えたことを特徴とする後処理装置。
(【請求項11】以降は省略されています)
発明の詳細な説明
【技術分野】
【0001】
この発明は、シートに穿孔処理を施す穿孔装置と、それを備えた後処理装置と、画像形成装置を備えた画像形成システムと、に関するものである。
続きを表示(約 2,000 文字)
【背景技術】
【0002】
従来から、複写機やプリンタ等の画像形成装置に接続された後処理装置において、シートに対して穿孔処理(パンチ処理)をおこなう穿孔装置が設置されたものが知られている(例えば、特許文献1参照。)。
【0003】
一方、特許文献1には、パンチユニット(穿孔装置)において、搬送ガイド板などの金属部分が結露してしまってシートのジャム(搬送不良)が生じる不具合を防止することを目的として、搬送ガイド板のシート案内面(搬送ガイド面)にシートを押し付ける技術が開示されている。
【発明の概要】
【発明が解決しようとする課題】
【0004】
従来の穿孔装置は、搬送ガイド部材の搬送ガイド面が結露してしまって、ジャムなどのシートの搬送不良が生じてしまっていた。
そして、このような不具合は、特許文献1に開示された技術を用いても、充分に解決することができなかった。
【0005】
この発明は、上述のような課題を解決するためになされたもので、搬送ガイド部材の搬送ガイド面に結露が生じにくい、穿孔装置、後処理装置、及び、画像形成システムを提供することにある。
【課題を解決するための手段】
【0006】
この発明における穿孔装置は、所定の搬送方向に搬送されるシートを案内する搬送ガイド部材を具備して、前記シートに穿孔処理を施す穿孔ユニットと、前記シートにおける前記搬送方向に直交する幅方向の端部を検知可能な検知センサを具備して、前記検知センサを前記幅方向に移動させて前記シートの前記幅方向の位置ズレ量を検知する位置ズレ検知機構と、前記位置ズレ検知機構によって検知された位置ズレ量に基づいて、前記位置ズレ量が相殺されるように前記穿孔ユニットを前記幅方向に移動させる移動機構と、を備え、前記位置ズレ検知機構は、前記検知センサの移動に連動して、前記搬送ガイド部材の搬送ガイド面において結露した部分を結露前の状態又はそれに近い状態に戻す結露除去部を具備したものである。
【発明の効果】
【0007】
本発明によれば、搬送ガイド部材の搬送ガイド面に結露が生じにくい、穿孔装置、後処理装置、及び、画像形成システムを提供することができる。
【図面の簡単な説明】
【0008】
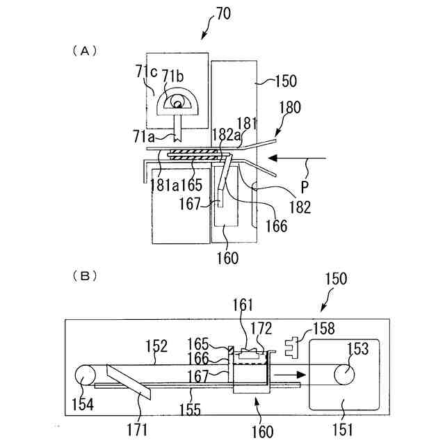
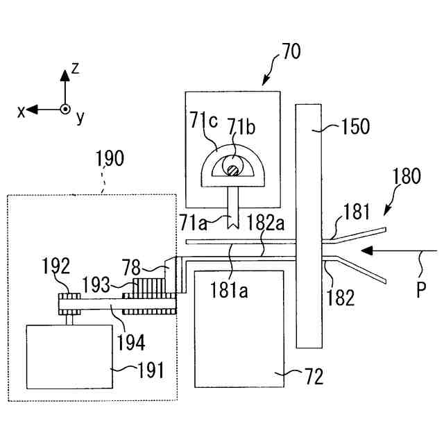
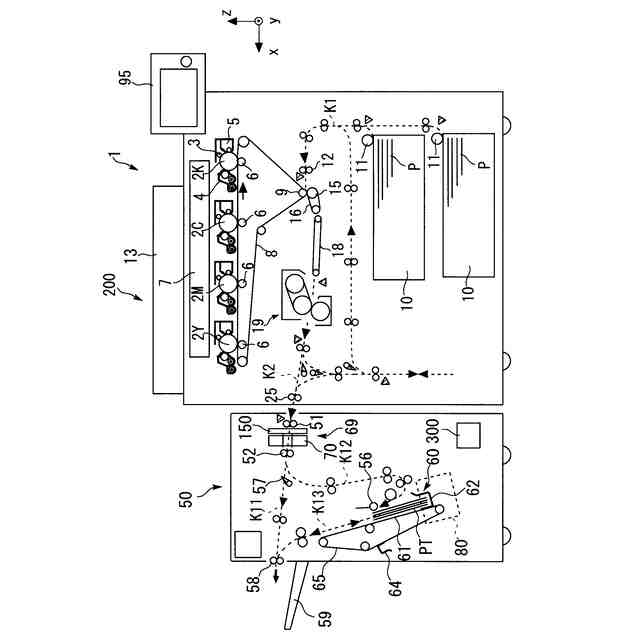
この発明の実施の形態における画像形成システムを示す全体構成図である。
穿孔装置の要部を示す上面図である。
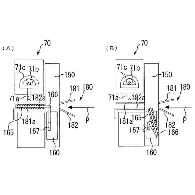
穿孔処理時の穿孔装置の動作を示す正面図である。
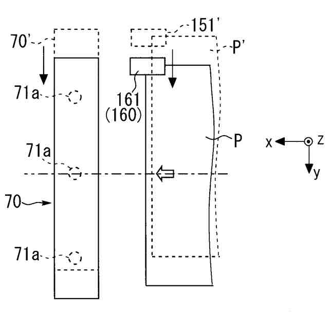
(A)センサユニットが幅方向一端側の退避位置に位置した状態の位置ズレ検知機構を示す正面図と、(B)センサユニットが幅方向他端側に位置した状態の位置ズレ検知機構を示す正面図と、である。
穿孔装置と移動機構とを示す側面図である。
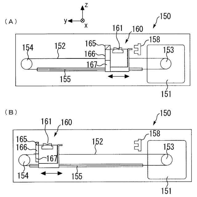
(A)結露除去部が摺接位置に位置した状態の穿孔装置を示す正面図と、(B)結露除去部が収納位置に位置した状態の穿孔装置を示す正面図と、である。
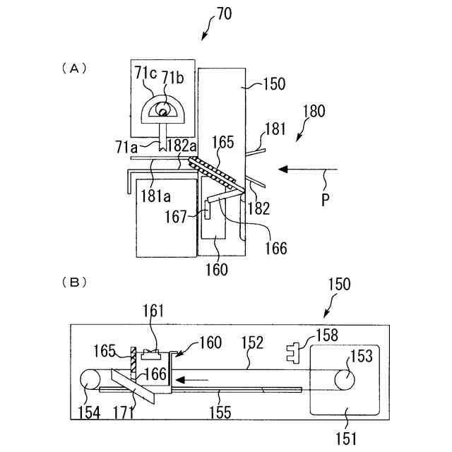
結露除去部材が摺接位置に移動開始するときの、(A)穿孔装置を示す正面図と、(B)位置ズレ検知機構を示す側面図と、である。
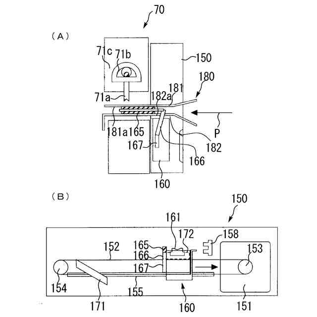
結露除去部材が摺接位置から離脱開始するときの、(A)穿孔装置を示す正面図と、(B)位置ズレ検知機構を示す側面図と、である。
穿孔装置で結露除去モードが実行されるときの制御の一例を示すフローチャートである。
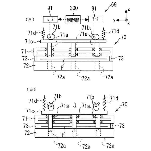
後処理装置の制御系の構成を示すブロック図である。
変形例1としての、位置ズレ検知機構を示す正面図である。
変形例2としての、画像形成システムを示す全体構成図である。
【発明を実施するための形態】
【0009】
以下、この発明を実施するための形態について、図面を参照して詳細に説明する。なお、各図中、同一又は相当する部分には同一の符号を付しており、その重複説明は適宜に簡略化ないし省略する。
【0010】
まず、図1にて、画像形成システム200における全体の構成・動作について説明する。
本実施の形態において、画像形成装置1は、後処理装置50が着脱可能に設置されていて、後処理装置50とともに1つの画像形成システム200を構成している。
また、画像形成装置1は、コピー機能とプリンタ機能とスキャナ機能とを備えた複合機である。画像形成装置1には、ネットワークを介して遠隔入力装置としてのパソコンが接続されている。そして、ユーザーは、パソコンを用いて画像形成装置1に対して通信によって種々の指令をおこなって所望の印刷(画像形成動作)をおこなったり、操作表示パネル95の画面上に表示される操作ボタンや操作キーを手動操作して種々の指令をおこなって所望の印刷(画像形成動作)をおこなったりすることになる。
(【0011】以降は省略されています)
この特許をJ-PlatPat(特許庁公式サイト)で参照する
関連特許
株式会社リコー
外観検査装置
14日前
株式会社リコー
画像形成装置
1か月前
株式会社リコー
画像形成装置
1か月前
株式会社リコー
画像形成装置
1か月前
株式会社リコー
画像形成装置
1か月前
株式会社リコー
液体吐出装置
6日前
株式会社リコー
画像形成装置
29日前
株式会社リコー
画像形成装置
20日前
株式会社リコー
服薬支援装置
20日前
株式会社リコー
機器及び異常判定方法
1か月前
株式会社リコー
画像形成装置、及び、機器
28日前
株式会社リコー
定着装置及び画像形成装置
6日前
株式会社リコー
画像形成装置及びシステム
1か月前
株式会社リコー
定着装置、及び画像形成装置
1か月前
株式会社リコー
延長トレイ及び画像形成装置
1か月前
株式会社リコー
光走査装置及び画像形成装置
27日前
株式会社リコー
光源装置および画像表示装置
今日
株式会社リコー
画像読取装置及び画像読取方法
1か月前
株式会社リコー
画像形成装置及び異常判定方法
20日前
株式会社リコー
シート供給装置、画像形成装置
27日前
株式会社リコー
画像形成装置、及び画像形成方法
14日前
株式会社リコー
表示装置、切替方法、プログラム
1か月前
株式会社リコー
画像形成装置および画像形成方法
20日前
株式会社リコー
媒体処理装置及び画像形成システム
1か月前
株式会社リコー
加熱搬送装置、及び、画像形成装置
28日前
株式会社リコー
樹脂粒子、及び樹脂粒子の製造方法
1か月前
株式会社リコー
加熱装置、定着装置、画像形成装置
1か月前
株式会社リコー
後処理装置、及び、画像形成システム
7日前
株式会社リコー
通信装置、通信方法、及びプログラム
1か月前
株式会社リコー
通信端末、通信方法、及びプログラム
1か月前
株式会社リコー
読取装置、読取方法およびプログラム
1か月前
株式会社リコー
加熱装置、定着装置及び画像形成装置
14日前
株式会社リコー
加熱装置、定着装置及び画像形成装置
1か月前
株式会社リコー
シート給送装置及び画像形成システム
1か月前
株式会社リコー
外観検査方法、および外観検査システム
6日前
株式会社リコー
光源装置、画像投影装置および調整方法
1か月前
続きを見る
他の特許を見る