TOP
|
特許
|
意匠
|
商標
特許ウォッチ
Twitter
他の特許を見る
10個以上の画像は省略されています。
公開番号
2025164626
公報種別
公開特許公報(A)
公開日
2025-10-30
出願番号
2024068733
出願日
2024-04-20
発明の名称
画像形成装置
出願人
キヤノン株式会社
代理人
個人
,
個人
主分類
B41J
11/02 20060101AFI20251023BHJP(印刷;線画機;タイプライター;スタンプ)
要約
【課題】プラテン部材が摩耗した場合などに、そのプラテン部材を継続して使用することを可能として、画像形成装置のランニングコストの低減を図ることを可能とする。
【解決手段】画像形成装置1は、ベルト25と、プラテン部材303及び保持体301を備えたプラテンユニット300と、記録ヘッド100と、を有し、保持体301は、プラテン部材303がプラテン部材303の軸線周り方向に回転することを規制可能な規制部351、352を備え、プラテン部材303は、規制部351にセットされることで、プラテン部材303の軸線周り方向の位置を、第1の位置と、第1の位置とは異なる第2の位置と、に規制することを可能とする被規制部331、332を備え、プラテン部材303が第1の位置にセットされた第1の状態と、プラテン部材303が第2の位置にセットされた第2の状態とで、シートSに画像を記録することが可能である構成とされる。
【選択図】図4
特許請求の範囲
【請求項1】
シートを搬送面に担持して搬送する回転可能な無端状のベルトと、
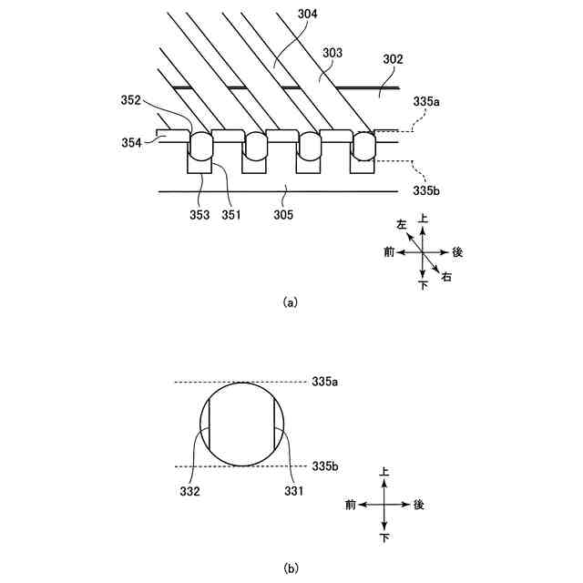
軸線方向に延設された線材で構成され、前記ベルトを摺動可能に支持するプラテン部材、及び前記プラテン部材を保持する保持体を備えたプラテンユニットと、
前記ベルトを挟んで前記プラテンユニットに対向して設けられ、前記ベルトにより搬送されるシートに記録用の液体を吐出する記録ヘッドと、
を有し、
前記保持体は、前記プラテン部材が前記プラテン部材の軸線周り方向に回転することを規制可能な規制部を備え、
前記プラテン部材は、前記規制部にセットされることで、前記プラテン部材の前記軸線周り方向の位置を、第1の位置と、前記第1の位置とは異なる第2の位置と、に規制することを可能とする被規制部を備え、
前記プラテン部材が前記第1の位置にセットされた第1の状態と、前記プラテン部材が前記第2の位置にセットされた第2の状態とで、シートに画像を記録することが可能であることを特徴とする画像形成装置。
続きを表示(約 1,000 文字)
【請求項2】
前記被規制部は、前記軸線方向に沿う平面で構成されることを特徴とする請求項1に記載の画像形成装置。
【請求項3】
前記プラテン部材は、前記軸線方向における前記ベルトに接触可能な領域の前記軸線方向と略直交する断面が円形の部材であることを特徴とする請求項1に記載の画像形成装置。
【請求項4】
前記被規制部は、前記プラテン部材の前記軸線方向における一方の端部に設けられた第1の被規制部であり、
前記プラテン部材は、前記軸線方向における他方の端部に、前記規制部にセットされることで、前記プラテン部材の前記軸線周り方向の位置を、前記第1、第2の位置とは異なる第3の位置と、前記第1、第2、第3の位置とは異なる第4の位置と、に規制することを可能とする第2の被規制部を備え、
前記画像形成装置は、前記プラテン部材が前記第3の位置にセットされた第3の状態と、前記プラテン部材が前記第4の位置にセットされた第4の状態とで、シートに画像を記録することが可能であることを特徴とする請求項1に記載の画像形成装置。
【請求項5】
前記保持体は、前記プラテン部材を保持した状態での前記軸線方向における前記プラテン部材の両端部のうち一方の端部側にのみ前記規制部を備え、
前記プラテン部材は、前記第1の被規制部が前記規制部にセットされる場合と、前記第2の被規制部が前記規制部にセットされる場合とで、前記軸線方向の向きが逆向きにされて前記保持体に保持されることを特徴とする請求項4に記載の画像形成装置。
【請求項6】
前記プラテン部材は、前記軸線方向における前記ベルトに接触可能な領域の前記軸線方向と略直交する断面が円形の部材であることを特徴とする請求項4に記載の画像形成装置。
【請求項7】
前記第1、第2の被規制部は、それぞれ前記軸線方向に沿う平面で構成されることを特徴とする請求項4に記載の画像形成装置。
【請求項8】
前記第1の被規制部と前記第2の被規制部とは、前記軸線周り方向における位置が異なることを特徴とする請求項4に記載の画像形成装置。
【請求項9】
前記プラテン部材は、金属材料で形成された基材と、前記基材の上に樹脂材料で形成されたコーティングと、を有することを特徴とする請求項1乃至8のいずれか一項に記載の画像形成装置。
発明の詳細な説明
【技術分野】
【0001】
本発明は、インクジェット方式を利用して画像形成を行う印刷機、複写機、プリンタなどの画像形成装置に関するものである。
続きを表示(約 1,800 文字)
【背景技術】
【0002】
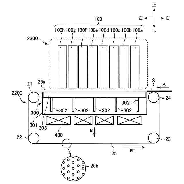
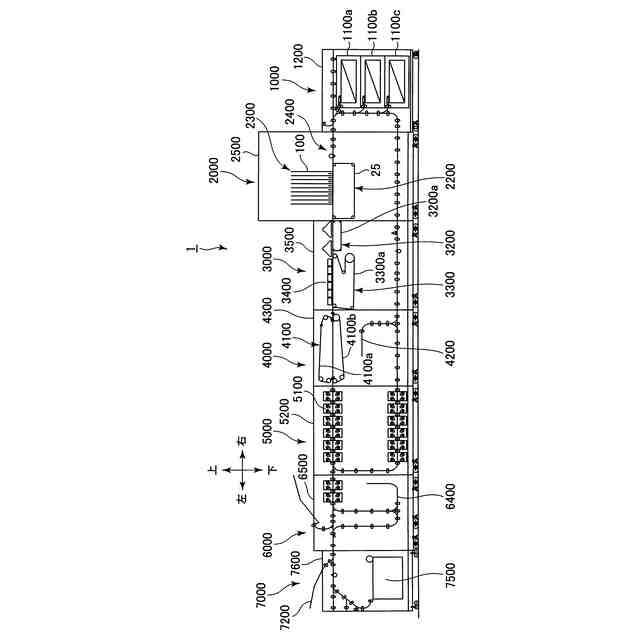
従来、記録紙や樹脂シートなどの記録媒体にインク液滴を吐出して文字やイメージなどの画像を記録するインクジェット方式の画像形成装置(インクジェット記録装置)がある。また、この画像形成装置として、記録ヘッドが画像形成装置本体に対して移動しない状態で、記録媒体の搬送に連動して記録ヘッドから液滴を吐出して、記録媒体に画像を記録するラインヘッド型のインクジェット記録装置がある。また、このラインヘッド型のインクジェット記録装置として、記録ヘッドに対する記録媒体の搬送を無端状のベルトで構成されたプリントベルトを用いて行うものが知られている。このプリントベルトは、複数の張架ローラにより張架され、プリントベルトの回転方向における複数の記録ヘッドの上流側の張架ローラと下流側の張架ローラとの間に形成される面である搬送面に、記録媒体を吸着して搬送する。
【0003】
このような画像形成装置では、記録媒体に高品位な画像を高精度に記録するために、記録ヘッド(より詳細には、記録ヘッドのインクを吐出する微細なノズル)と記録媒体との間の距離を高精度に管理する必要がある。
【0004】
そのために、特許文献1に記載されるように、プリントベルトの内周面に接触してプリントベルトを摺動可能に支持するプラテン部材と呼ばれるベルト支持部材が用いられる。また、特許文献1に記載されるように、記録媒体をプリントベルトの搬送面に吸引吸着する方法がある。つまり、プリントベルトに微細な孔を設けると共に、開口部を有するように構成されたプラテン部材でプリントベルトを摺動可能に支持する。そして、プリントベルトの内周面側から空気を吸引することで、プリントベルトをプラテン部材に吸着させると共に、記録媒体をプリントベルトに吸着させながら、記録媒体をプリントベルトにより搬送する。
【先行技術文献】
【特許文献】
【0005】
特許第6380135号公報
【発明の概要】
【発明が解決しようとする課題】
【0006】
プリントベルトの内周面に接触してプリントベルトを摺動可能に支持するプラテン部材を用いることで、記録ヘッドとプリントベルトの搬送面との間の距離の精度を高めることができ、記録ヘッドとシートとの間の距離の精度を高めることができる。
【0007】
しかし、プリントベルトの内周面とプラテン部材とが摺擦するため、プリントベルトの駆動トルクが増す。特に、上述のような吸引吸着を用いる構成の場合、記録ヘッドからインクが吐出された際に生じるインクミストが吸引されてプラテン部材に付着し、プラテン部材がインクで汚れることがある。この汚れによって、プリントベルトの駆動トルクが増すことがある。
【0008】
そこで、プラテン部材を構成する材料として、プリントベルトに対して低摩擦な材料、あるいはインクが付着しにくい表面エネルギーの低い材料を用いることが望まれる。いずれの場合も、樹脂又は金属で形成された部材に樹脂をコーティングしたものを好適に用いることができる。このような部材は、摺動性が良好であり、またインクが付着しにくいが、プリントベルトとの摺擦により摩耗する。この摩耗は、例えば、コーティングを有するプラテン部材の場合、コーティングが無くなることによるプリントベルトの駆動トルクが増すといった不具合の原因になり得る。そのため、例えば定期的に、プラテン部材の交換を行うことが望まれるが、プラテン部材は高精度な部品であるため、ランニングコストが上昇する原因となり得る。
【0009】
なお、プラテン部材がコーティングを有していない場合も、プラテン部材はプリントベルトとの摺擦により摩耗により状態が変化し、例えば、搬送面の平面度などに影響する可能性がある。また、例えば、記録ヘッドとプリントベルトとの間の距離がずれることによる画像不良の原因となる可能性がある。そのため、この場合も、例えば定期的に、プラテン部材の交換を行うことが望まれることがある。
【0010】
したがって、本発明の目的は、プラテン部材が摩耗した場合などに、そのプラテン部材を継続して使用することを可能として、画像形成装置のランニングコストの低減を図ることを可能とすることである。
【課題を解決するための手段】
(【0011】以降は省略されています)
この特許をJ-PlatPat(特許庁公式サイト)で参照する
関連特許
キヤノン株式会社
容器
1か月前
キヤノン株式会社
容器
1か月前
キヤノン株式会社
トナー
1か月前
キヤノン株式会社
トナー
1か月前
キヤノン株式会社
表示装置
1か月前
キヤノン株式会社
電子機器
1か月前
キヤノン株式会社
撮像装置
3日前
キヤノン株式会社
撮像装置
3日前
キヤノン株式会社
撮像装置
3日前
キヤノン株式会社
表示装置
10日前
キヤノン株式会社
表示装置
10日前
キヤノン株式会社
記録装置
1か月前
キヤノン株式会社
記録装置
1か月前
キヤノン株式会社
定着装置
24日前
キヤノン株式会社
定着装置
24日前
キヤノン株式会社
現像装置
1か月前
キヤノン株式会社
電子機器
1か月前
キヤノン株式会社
記録装置
4日前
キヤノン株式会社
撮像装置
1か月前
キヤノン株式会社
記録装置
4日前
キヤノン株式会社
定着装置
18日前
キヤノン株式会社
発光装置
10日前
キヤノン株式会社
記録装置
24日前
キヤノン株式会社
測距装置
1か月前
キヤノン株式会社
撮像装置
1か月前
キヤノン株式会社
二次電池
5日前
キヤノン株式会社
撮像装置
1か月前
キヤノン株式会社
定着装置
24日前
キヤノン株式会社
現像装置
1か月前
キヤノン株式会社
撮像装置
1か月前
キヤノン株式会社
表示装置
10日前
キヤノン株式会社
撮像装置
10日前
キヤノン株式会社
撮像装置
1か月前
キヤノン株式会社
記録装置
1か月前
キヤノン株式会社
測距装置
1か月前
キヤノン株式会社
現像容器
1か月前
続きを見る
他の特許を見る