TOP
|
特許
|
意匠
|
商標
特許ウォッチ
Twitter
他の特許を見る
10個以上の画像は省略されています。
公開番号
2025178852
公報種別
公開特許公報(A)
公開日
2025-12-09
出願番号
2024085700
出願日
2024-05-27
発明の名称
洗濯機
出願人
シャープ株式会社
代理人
弁理士法人あーく事務所
主分類
D06F
39/14 20060101AFI20251202BHJP(繊維または類似のものの処理;洗濯;他に分類されない可とう性材料)
要約
【課題】新たな蓋ロック機構を備えた洗濯機を提供する。
【解決手段】筐体に対して設けられた蓋部材のロック状態およびロック解除状態を切替可能な洗濯機であって、蓋部材のロック状態およびロック解除状態の切替を行う蓋ロック機構を、蓋部材内に有する。
【選択図】図3
特許請求の範囲
【請求項1】
筐体に対して設けられた蓋部材のロック状態およびロック解除状態を切替可能な洗濯機であって、
前記蓋部材のロック状態およびロック解除状態の切替を行う蓋ロック機構を、前記蓋部材内に有することを特徴とする洗濯機。
続きを表示(約 630 文字)
【請求項2】
請求項1に記載の洗濯機であって、
前記蓋ロック機構は、
前記筐体が有する被係合部と係合可能な係合爪を有し、回転移動によって前記係合爪を揺動させ、前記係合爪のラッチ状態とラッチ解除状態とを切り替える軸部材と、
前記係合爪がラッチ状態である場合に、前記軸部材に対する相対位置を切り替える移動によって前記軸部材の回転移動を規制可能である規制部と、
前記軸部材に対する相対位置を切り替えるように前記規制部を移動させる駆動源とを備え、
前記軸部材は、ロック状態において前記規制部と当接することで前記軸部材の回転規制を受ける当接部を有し、
前記当接部が前記規制部によって規制される位置が、前記係合爪が前記被係合部に係合する位置よりも前記軸部材の回転軸に近いことを特徴とする洗濯機。
【請求項3】
請求項2に記載の洗濯機であって、
前記規制部は、前記軸部材に対する相対位置の切替が前記軸部材の回転軸に平行な回転軸周りの回転移動によって生じるものであることを特徴とする洗濯機。
【請求項4】
請求項2に記載の洗濯機であって、
前記規制部は、手動操作によって前記軸部材の回転移動の規制を解除するためのレバーを有することを特徴とする洗濯機。
【請求項5】
請求項1に記載の洗濯機であって、
前記蓋部材に操作パネルを有することを特徴とする洗濯機。
発明の詳細な説明
【技術分野】
【0001】
本開示は、洗濯機の蓋やドアをロックする蓋ロック機構を備える洗濯機に関する。
続きを表示(約 1,200 文字)
【背景技術】
【0002】
洗濯機には、洗濯物投入口を覆う蓋(またはドア)が開閉可能に備えられる。また、洗濯機の蓋には、洗濯や脱水中に蓋が開閉されることがないよう、蓋をロックする蓋ロック機構が備えられる。
【0003】
従来の洗濯機の蓋ロック機構では、通常、蓋側に係合爪を設け、この係合爪を洗濯機の筐体側で移動規制することで蓋ロック状態とされる(例えば、特許文献1)。この場合、蓋ロック時に係合爪を移動規制するための駆動機構や制御回路等の通電部品も筐体側に設けられる。
【先行技術文献】
【特許文献】
【0004】
国際公開第2019/234985号
【発明の概要】
【発明が解決しようとする課題】
【0005】
洗濯機の仕様によっては、筐体側に蓋ロック用の通電部品を設けることが好ましくない場合もあり、そのような場合にも適用可能な新たな蓋ロック機構が求められる。
【0006】
本開示は、上記課題に鑑みてなされたものであり、新たな蓋ロック機構を備えた洗濯機を提供することを目的とする。
【課題を解決するための手段】
【0007】
上記の課題を解決するために、本開示の洗濯機は、筐体に対して設けられた蓋部材のロック状態およびロック解除状態を切替可能な洗濯機であって、前記蓋部材のロック状態およびロック解除状態の切替を行う蓋ロック機構を、前記蓋部材内に有することを特徴としている。
【発明の効果】
【0008】
本開示の洗濯機は、蓋ロック機構を蓋部材内に設けた新たな構成を提供できるといった効果を奏する。
【図面の簡単な説明】
【0009】
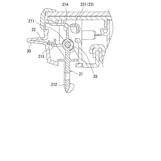
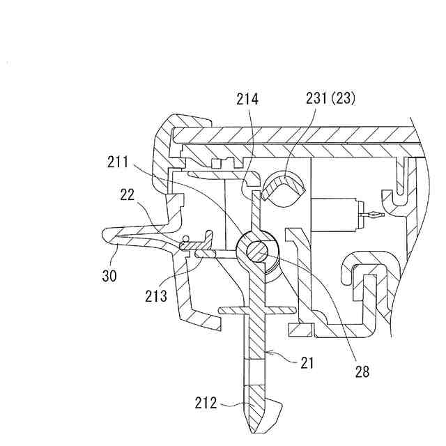
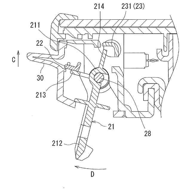
本開示の蓋ロック機構の適用例である洗濯機の斜視図である。
蓋を開いた状態における洗濯機の上部斜視図である。
ラッチ状態の蓋ロック機構を示す斜視図である。
ラッチ解除状態の蓋ロック機構を示す斜視図である。
ロック状態の蓋ロック機構を示す斜視図である。
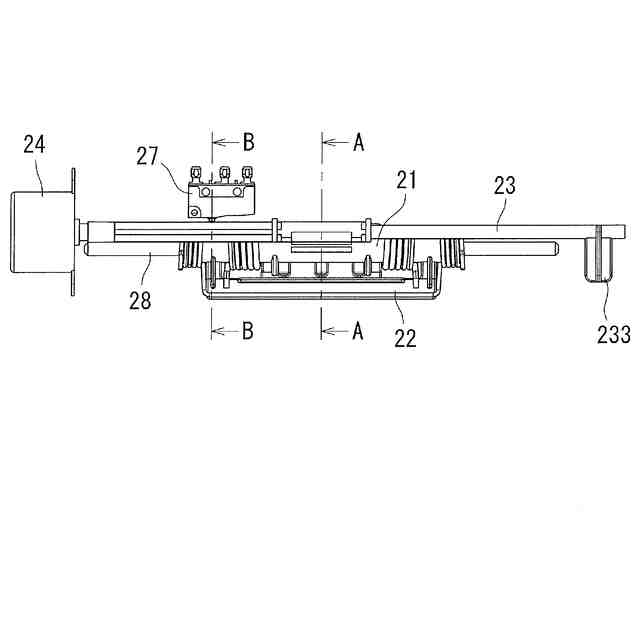
蓋ロック機構の平面図である。
蓋ロック機構がラッチ状態の場合における蓋前方の部分断面図である。
蓋ロック機構がラッチ解除状態の場合における蓋前方の部分断面図である。
蓋ロック機構がロック状態の場合における蓋前方の部分断面図である。
蓋ロック機構のロック状態において、ユーザが取っ手を操作した場合における部分断面図である。
蓋ロック機構がラッチ状態の場合における蓋前方の部分断面図である。
蓋ロック機構がロック状態の場合における蓋前方の部分断面図である。
【発明を実施するための形態】
【0010】
〔第1実施形態〕
以下、本開示の実施の形態について、図面を参照して詳細に説明する。図1は、本開示の蓋ロック機構の適用例である洗濯機1の斜視図である。
(【0011】以降は省略されています)
この特許をJ-PlatPat(特許庁公式サイト)で参照する
関連特許
個人
洗濯機
20日前
個人
洗濯装置
3か月前
個人
洗濯物干しハンガー
1か月前
セーレン株式会社
複合表皮材
20日前
東レ株式会社
繊維断面の検査方法
2か月前
株式会社青柳
染め加工方法
3か月前
株式会社創和
帽子洗いネット
7日前
株式会社アライホーム
物干装置
20日前
東レ株式会社
炭素繊維シートの製造方法
3か月前
株式会社槌屋
加飾用表皮材
2か月前
東レ株式会社
ゴム補強用合成繊維コード
2か月前
リンナイ株式会社
衣類乾燥機
1か月前
個人
ポリエステル染色物の製造方法
1か月前
株式会社創和
ボックス状洗濯ネット
3か月前
株式会社大阪ソーダ
撥水撥油性繊維処理剤
3か月前
個人
洗濯用洗剤容器の蓋
3か月前
シャープ株式会社
洗濯機
3か月前
三浦工業株式会社
洗浄システム
5日前
リンテック株式会社
耐水性基材
2か月前
アイリスオーヤマ株式会社
洗濯機
5日前
アイリスオーヤマ株式会社
洗濯機
1か月前
大阪瓦斯株式会社
衣類乾燥機
3か月前
大阪瓦斯株式会社
衣類乾燥機
3か月前
大阪瓦斯株式会社
衣類乾燥機
3か月前
松本油脂製薬株式会社
繊維用処理剤及びその利用
3か月前
ダイニック株式会社
ターポリン、及びその製造方法
1か月前
個人
開閉角度調整可能な角型折畳みピンチハンガー
4か月前
シャープ株式会社
洗濯機
4か月前
シャープ株式会社
洗濯機
1日前
シャープ株式会社
洗濯機
4か月前
東芝ライフスタイル株式会社
洗濯機
7日前
東芝ライフスタイル株式会社
洗濯機
2か月前
東レ株式会社
抗菌性アクリル系繊維およびその製造方法
3か月前
個人
パイプ用係止、固定装置及び洗濯バサミ取り付け具
3か月前
東レ株式会社
人工皮革およびその製造方法ならびに雑貨
3か月前
株式会社wash-plus
ランドリーシステム
1か月前
続きを見る
他の特許を見る