TOP
|
特許
|
意匠
|
商標
特許ウォッチ
Twitter
他の特許を見る
公開番号
2025164292
公報種別
公開特許公報(A)
公開日
2025-10-30
出願番号
2024068129
出願日
2024-04-19
発明の名称
表示装置、電源制御方法、及び電源制御プログラム
出願人
シャープ株式会社
代理人
個人
,
個人
,
個人
主分類
G09G
5/00 20060101AFI20251023BHJP(教育;暗号方法;表示;広告;シール)
要約
【課題】内蔵コンピューターを備える表示装置において待機モードから正常に電源を遮断することが可能な表示装置、電源制御方法、及び電源制御プログラムを提供する。
【解決手段】表示装置10において、受付処理部11は、表示装置10の電源をOFFする電源OFF操作を受け付ける。判定処理部12は、電源OFF操作を受け付けたときの内蔵コンピューター2の動作状態が待機モードであるか否かを判定する。電源処理部13は、内蔵コンピューター2の動作状態が待機モードである場合に、待機モードを解除して表示装置10の電源を遮断する。
【選択図】図1
特許請求の範囲
【請求項1】
電源を制御する電源制御部と表示処理を実行する表示制御部とを含む内蔵コンピューターと、前記内蔵コンピューターに電源を供給する電源ユニットと、を備える表示装置であって、
前記表示装置の電源をOFFする電源OFF操作を受け付ける受付処理部と、
前記電源OFF操作を受け付けたときの前記内蔵コンピューターの動作状態が待機モードであるか否かを判定する判定処理部と、
前記内蔵コンピューターの動作状態が前記待機モードである場合に、前記待機モードを解除して前記表示装置の電源を遮断する電源処理部と、
を備える表示装置。
続きを表示(約 1,200 文字)
【請求項2】
前記電源OFF操作を受け付けたときに前記内蔵コンピューターにおいて処理中のデータを保存する保存処理部をさらに備え、
前記電源処理部は、前記保存処理部が前記データを保存した後に、前記電源ユニットから前記内蔵コンピューターへの電源供給を停止して、前記表示装置の電源を遮断する、
請求項1に記載の表示装置。
【請求項3】
前記保存処理部は、前記内蔵コンピューターが前記待機モードを解除した後に前記データを保存する、
請求項2に記載の表示装置。
【請求項4】
前記電源処理部は、前記待機モードを解除する際に必要な認証情報を前記内蔵コンピューターに出力し、前記内蔵コンピューターにおいて認証処理が実行されて前記待機モードが解除された場合に、前記表示装置の電源を遮断する、
請求項1に記載の表示装置。
【請求項5】
前記電源処理部は、前記電源ユニットから前記内蔵コンピューターへの電源供給を停止して前記内蔵コンピューターの電源がOFF状態に移行した後に、前記表示装置の電源を遮断する、
請求項1に記載の表示装置。
【請求項6】
前記受付処理部は、ユーザーから前記表示装置本体に配置された電源スイッチをOFFする前記電源OFF操作を受け付ける、
請求項1に記載の表示装置。
【請求項7】
電源を制御する電源制御部と表示処理を実行する表示制御部とを含む内蔵コンピューターと、前記内蔵コンピューターに電源を供給する電源ユニットと、を備える表示装置の電源を制御する電源制御方法であって、
前記表示装置の電源をOFFする電源OFF操作を受け付けることと、
前記電源OFF操作を受け付けたときの前記内蔵コンピューターの動作状態が待機モードであるか否かを判定することと、
前記内蔵コンピューターの動作状態が前記待機モードである場合に、前記待機モードを解除して前記表示装置の電源を遮断することと、
一又は複数のプロセッサーが実行する電源制御方法。
【請求項8】
電源を制御する電源制御部と表示処理を実行する表示制御部とを含む内蔵コンピューターと、前記内蔵コンピューターに電源を供給する電源ユニットと、を備える表示装置の電源を制御する電源制御プログラムであって、
前記表示装置の電源をOFFする電源OFF操作を受け付けることと、
前記電源OFF操作を受け付けたときの前記内蔵コンピューターの動作状態が待機モードであるか否かを判定することと、
前記内蔵コンピューターの動作状態が前記待機モードである場合に、前記待機モードを解除して前記表示装置の電源を遮断することと、
一又は複数のプロセッサーに実行させるための電源制御プログラム。
発明の詳細な説明
【技術分野】
【0001】
本開示は、内蔵コンピューターを備える表示装置の電源を制御する技術に関する。
続きを表示(約 1,900 文字)
【背景技術】
【0002】
従来、電源のON/OFFを制御したり、アプリケーションを動作させたりするコンピューター(内蔵コンピューター)が内蔵された表示装置が知られている。例えば、電源スイッチがONされた場合に起動し、電源スイッチがOFFされた場合に動作を停止する電子黒板(表示装置)において、電源スイッチがOFFされた場合に表示情報のデータの消失を抑制する技術が知られている(例えば特許文献1参照)。
【先行技術文献】
【特許文献】
【0003】
国際公開第2017/064983号公報
【発明の概要】
【発明が解決しようとする課題】
【0004】
しかし、従来の技術では、例えば、表示装置が待機モード(スリープモード)に移行した状態で電源スイッチのOFF操作が行われると、電源を遮断できなかったり、待機中のデータが破損したりするなど、正常に電源を遮断することができないという問題が生じる。
【0005】
本開示の目的は、内蔵コンピューターを備える表示装置において待機モードから正常に電源を遮断することが可能な表示装置、電源制御方法、及び電源制御プログラムを提供することにある。
【課題を解決するための手段】
【0006】
本開示の一の態様に係る表示装置は、電源を制御する電源制御部と表示処理を実行する表示制御部とを含む内蔵コンピューターと、前記内蔵コンピューターに電源を供給する電源ユニットと、を備える表示装置である。前記表示装置は、受付処理部と判定処理部と電源処理部とを備える。前記受付処理部は、前記表示装置の電源をOFFする電源OFF操作を受け付ける。前記判定処理部は、前記電源OFF操作を受け付けたときの前記内蔵コンピューターの動作状態が待機モードであるか否かを判定する。前記電源処理部は、前記内蔵コンピューターの動作状態が前記待機モードである場合に、前記待機モードを解除して前記表示装置の電源を遮断する。
【0007】
本開示の他の態様に係る電源制御方法は、電源を制御する電源制御部と表示処理を実行する表示制御部とを含む内蔵コンピューターと、前記内蔵コンピューターに電源を供給する電源ユニットと、を備える表示装置の電源を制御する電源制御方法である。前記電源制御方法は、前記表示装置の電源をOFFする電源OFF操作を受け付けることと、前記電源OFF操作を受け付けたときの前記内蔵コンピューターの動作状態が待機モードであるか否かを判定することと、前記内蔵コンピューターの動作状態が前記待機モードである場合に、前記待機モードを解除して前記表示装置の電源を遮断することと、一又は複数のプロセッサーが実行する電源制御方法である。
【0008】
本開示の他の態様に係る電源制御プログラムは、電源を制御する電源制御部と表示処理を実行する表示制御部とを含む内蔵コンピューターと、前記内蔵コンピューターに電源を供給する電源ユニットと、を備える表示装置の電源を制御する電源制御プログラムである。前記電源制御プログラムは、前記表示装置の電源をOFFする電源OFF操作を受け付けることと、前記電源OFF操作を受け付けたときの前記内蔵コンピューターの動作状態が待機モードであるか否かを判定することと、前記内蔵コンピューターの動作状態が前記待機モードである場合に、前記待機モードを解除して前記表示装置の電源を遮断することと、一又は複数のプロセッサーに実行させるための電源制御プログラムである。
【発明の効果】
【0009】
本開示によれば、内蔵コンピューターを備える表示装置において待機モードから正常に電源を遮断することが可能な表示装置、電源制御方法、及び電源制御プログラムを提供することができる。
【図面の簡単な説明】
【0010】
図1は、本開示の実施形態に係る表示装置の構成を示す機能ブロック図である。
図2は、本開示の実施形態に係る表示装置において保持される待機情報(作業中ファイル)の一例を示す図である。
図3は、本開示の実施形態に係る表示装置において保持される待機情報(アプリケーション)の一例を示す図である。
図4は、本開示の実施形態に係る表示装置に表示されるロック画面の一例を示す図である。
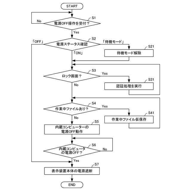
図5は、本開示の実施形態に係る表示装置において実行される電源制御処理の手順の一例を示すフローチャートである。
【発明を実施するための形態】
(【0011】以降は省略されています)
この特許をJ-PlatPat(特許庁公式サイト)で参照する
関連特許
シャープ株式会社
送風機
26日前
シャープ株式会社
表示装置
26日前
シャープ株式会社
走行装置
1か月前
シャープ株式会社
表示装置
1か月前
シャープ株式会社
筐体構造
1か月前
シャープ株式会社
通信装置
28日前
シャープ株式会社
加熱機器
1か月前
シャープ株式会社
表示装置
1か月前
シャープ株式会社
照明装置
5日前
シャープ株式会社
通信端末
1か月前
シャープ株式会社
端末装置
1か月前
シャープ株式会社
表示装置
26日前
シャープ株式会社
端末装置
1か月前
シャープ株式会社
空気調和機
13日前
シャープ株式会社
加熱調理器
13日前
シャープ株式会社
空気調和機
13日前
シャープ株式会社
空気調和機
13日前
シャープ株式会社
加熱調理機
5日前
シャープ株式会社
画像形成装置
21日前
シャープ株式会社
画像形成装置
1か月前
シャープ株式会社
画像形成装置
1か月前
シャープ株式会社
アンテナ装置
1か月前
シャープ株式会社
塵埃回収装置
今日
シャープ株式会社
画像形成装置
1か月前
シャープ株式会社
画像形成装置
7日前
シャープ株式会社
画像形成装置
1か月前
シャープ株式会社
イオン発生装置
1か月前
シャープ株式会社
緩衝材及び梱包体
1か月前
シャープ株式会社
緩衝材および梱包体
今日
シャープ株式会社
端末装置および通信方法
27日前
シャープ株式会社
トナー及びその製造方法
1か月前
シャープ株式会社
端末装置および通信方法
13日前
シャープ株式会社
端末装置および通信方法
1か月前
シャープ株式会社
端末装置および測定方法
1か月前
シャープ株式会社
情報処理装置及び設定方法
1か月前
シャープ株式会社
端末および端末の制御方法
1か月前
続きを見る
他の特許を見る