TOP
|
特許
|
意匠
|
商標
特許ウォッチ
Twitter
他の特許を見る
10個以上の画像は省略されています。
公開番号
2025170745
公報種別
公開特許公報(A)
公開日
2025-11-19
出願番号
2025026315
出願日
2025-02-21
発明の名称
情報処理装置、テレビジョン受像機及び情報処理方法
出願人
シャープ株式会社
代理人
個人
,
個人
主分類
H04N
21/442 20110101AFI20251112BHJP(電気通信技術)
要約
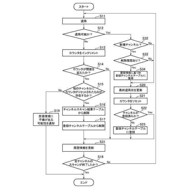
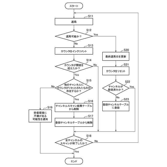
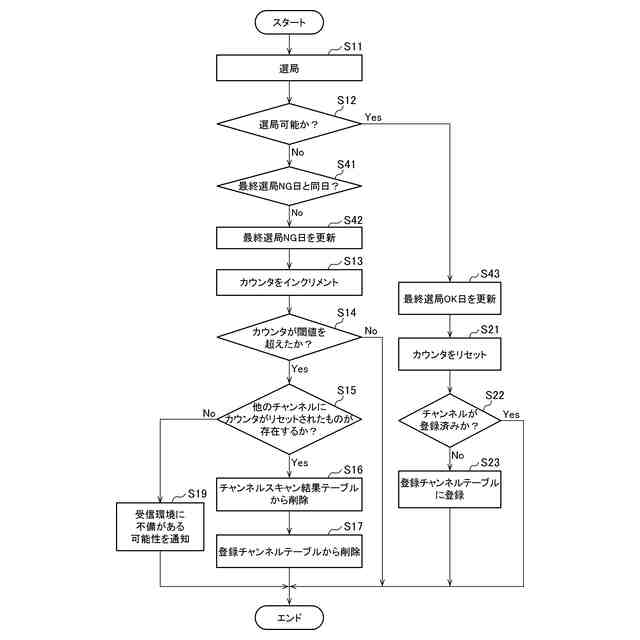
【課題】放送サービスの実態に応じてチャンネルの登録状態をより適切に管理することができる、情報処理装置、テレビジョン受像機及び情報処理方法を提供する。
【解決手段】情報処理装置は、チャンネルが選局可能であるか否かに関する判定を実行する選局判定部と、前記判定を実行されたチャンネルが選局可能でない場合、前記選局可能でないと判定されたチャンネルのカウンタをインクリメントするインクリメント部と、前記カウンタが閾値を超えた場合、前記カウンタが前記閾値を超えたチャンネルを受信不可と判断する判断部と、を備える。
【選択図】図5
特許請求の範囲
【請求項1】
チャンネルが選局可能であるか否かに関する判定を実行する選局判定部と、
前記判定を実行されたチャンネルが選局可能でない場合、前記選局可能でないと判定されたチャンネルのカウンタをインクリメントするインクリメント部と、
前記カウンタが閾値を超えた場合、前記カウンタが前記閾値を超えたチャンネルを受信不可と判断する判断部と、
を備える、情報処理装置。
続きを表示(約 1,200 文字)
【請求項2】
選局可能なチャンネルが登録される登録チャンネルテーブルを記憶するチャンネルスキャンデータ保存部と、
前記受信不可と判定されたチャンネルを、前記登録チャンネルテーブルから削除するチャンネル削除制御部と、
をさらに備える、請求項1に記載の情報処理装置。
【請求項3】
前記判定を実行されたチャンネルが選局可能である場合、前記選局可能であると判定されたチャンネルのカウンタをリセットするリセット部をさらに備える、請求項2に記載の情報処理装置。
【請求項4】
前記判定を実行されたチャンネルが選局可能でなく、且つ、前記選局可能でないと判定されたチャンネル以外の他のチャンネルのカウンタに、リセットされた状態であるものが存在しない場合、テレビジョン放送信号の受信環境に不備がある可能性をユーザに通知する通知部、をさらに備える、請求項3に記載の情報処理装置。
【請求項5】
前記チャンネル削除制御部は、前記判定を実行されたチャンネルが選局可能でなく、且つ、前記選局可能でないと判定されたチャンネル以外の他のチャンネルのカウンタに、リセットされた状態であるものが存在する場合、前記選局可能でないと判定されたチャンネルを前記登録チャンネルテーブルから削除する、請求項3に記載の情報処理装置。
【請求項6】
前記判定を実行されたチャンネルが選局可能である場合、前記選局可能であると判定されたチャンネルに対応付けて、前記判定を実行した時に関する情報を記録する、記録部をさらに備える、請求項1に記載の情報処理装置。
【請求項7】
前記判定を実行されたチャンネルが、選局可能であり、且つ、前記登録チャンネルテーブルに登録されていない場合、前記選局可能であると判定されたチャンネルを、前記登録チャンネルテーブルに登録する、登録部をさらに備える、請求項2に記載の情報処理装置。
【請求項8】
前記チャンネルスキャンデータ保存部は、前記登録チャンネルテーブルからの前記受信不可と判定されたチャンネルの削除に関する履歴情報をさらに記憶し、
前記登録チャンネルテーブルから削除されたチャンネルが、前記登録チャンネルテーブルから削除された後、選局可能であると前記選局判定部が判定した場合、前記チャンネルを、前記登録チャンネルテーブルに復帰させる、登録部をさらに備える、
請求項2に記載の情報処理装置。
【請求項9】
前記選局判定部は、定期的又は不定期に実行される自動チャンネルスキャンにより、前記判定を実行する、請求項1に記載の情報処理装置。
【請求項10】
前記選局判定部は、ユーザによる前記チャンネルの選局操作に基づいて、前記判定を実行する、請求項1に記載の情報処理装置。
(【請求項11】以降は省略されています)
発明の詳細な説明
【技術分野】
【0001】
本開示は、情報処理装置、テレビジョン受像機及び情報処理方法に関する。
続きを表示(約 1,400 文字)
【背景技術】
【0002】
従来、チャンネルが選局可能であるか否かを判定するチャンネルスキャンに関連する技術が知られている。例えば、特許文献1には、過去に選局可能であったことにより、選局可能なチャンネルとして登録されているチャンネルについて、新たに実行されたチャンネルスキャンで選局可能でないと判定された場合に、選局可能なチャンネルとしての登録を維持する装置が開示されている。
【先行技術文献】
【特許文献】
【0003】
特開2006-41751号公報
【発明の概要】
【発明が解決しようとする課題】
【0004】
あるチャンネルが過去に選局可能であっても、例えば放送サービスの終了などにより選局できなくなっている場合がある。この場合、選局できなくなったチャンネルを、選局可能なチャンネルとして登録した状態のままにすると、リモコンキーやEPG(Electronic Programming Guide:電子番組表)などの情報が装置に残ったままになるため、ユーザによる操作の妨げとなる可能性がある。
【0005】
一方で、チャンネルが選局可能でない状態は、例えば一時的な放送サービスの休止や電波状態の劣化などの原因によって、一時的に発生する場合がある。このような場合には、一時的な原因が取り除かれれば再びチャンネルが選局可能となるため、当該チャンネルについて、選局可能なチャンネルとして登録した状態を維持することが適切である。
【0006】
しかしながら、装置は、チャンネルスキャンによってチャンネルが選局可能であるか否かを判定するだけでは、チャンネルが選局可能でない原因が、放送サービスの終了のような恒久的なものであるか、一時的なものであるかを判別することができない。
【0007】
本開示は、上述の問題に鑑みてなされたものである。本開示の目的は、放送サービスの実態に応じてチャンネルの登録状態をより適切に管理することができる、情報処理装置、テレビジョン受像機及び情報処理方法を提供することである。
【課題を解決するための手段】
【0008】
本開示の一形態に係る情報処理装置は、チャンネルが選局可能であるか否かに関する判定を実行する選局判定部と、前記判定を実行されたチャンネルが選局可能でない場合、前記選局可能でないと判定されたチャンネルのカウンタをインクリメントするインクリメント部と、前記カウンタが閾値を超えた場合、前記カウンタが前記閾値を超えたチャンネルを受信不可と判断する判断部と、を備える。
【0009】
本開示の一形態に係るテレビジョン受像機は、上記の情報処理装置を備える。
【0010】
本開示の一態様に係る情報処理方法は、情報処理装置が実行する情報処理方法であって、チャンネルが選局可能であるか否かに関する判定を実行し、前記判定を実行されたチャンネルが選局可能でない場合、前記選局可能でないと判定されたチャンネルのカウンタをインクリメントし、前記カウンタが閾値を超えた場合、前記カウンタが前記閾値を超えたチャンネルを受信不可と判断する。
【発明の効果】
(【0011】以降は省略されています)
この特許をJ-PlatPat(特許庁公式サイト)で参照する
関連特許
シャープ株式会社
送風機
14日前
シャープ株式会社
筐体構造
28日前
シャープ株式会社
加熱機器
28日前
シャープ株式会社
表示装置
14日前
シャープ株式会社
端末装置
1か月前
シャープ株式会社
通信装置
16日前
シャープ株式会社
走行装置
1か月前
シャープ株式会社
端末装置
1か月前
シャープ株式会社
表示装置
14日前
シャープ株式会社
表示装置
1か月前
シャープ株式会社
通信端末
1か月前
シャープ株式会社
表示装置
29日前
シャープ株式会社
空気調和機
1日前
シャープ株式会社
空気調和機
1日前
シャープ株式会社
空気調和機
1日前
シャープ株式会社
加熱調理器
1日前
シャープ株式会社
画像形成装置
1か月前
シャープ株式会社
画像形成装置
9日前
シャープ株式会社
画像形成装置
1か月前
シャープ株式会社
画像形成装置
23日前
シャープ株式会社
画像形成装置
23日前
シャープ株式会社
アンテナ装置
29日前
シャープ株式会社
イオン発生装置
1か月前
シャープ株式会社
緩衝材及び梱包体
1か月前
シャープ株式会社
通信装置および制御方法
1か月前
シャープ株式会社
端末装置および通信方法
15日前
シャープ株式会社
端末装置および通信方法
1日前
シャープ株式会社
端末装置および測定方法
25日前
シャープ株式会社
トナー及びその製造方法
1か月前
シャープ株式会社
端末装置および通信方法
1か月前
シャープ株式会社
端末および端末の制御方法
1か月前
シャープ株式会社
決済システム及び決済方法
1か月前
シャープ株式会社
情報処理装置及び設定方法
28日前
シャープ株式会社
風向変更板、及び空気調和機
2日前
シャープ株式会社
定着装置および画像形成装置
1か月前
シャープ株式会社
給紙装置および画像形成装置
1か月前
続きを見る
他の特許を見る