TOP
|
特許
|
意匠
|
商標
特許ウォッチ
Twitter
他の特許を見る
10個以上の画像は省略されています。
公開番号
2025167276
公報種別
公開特許公報(A)
公開日
2025-11-07
出願番号
2024071746
出願日
2024-04-25
発明の名称
アクティブマトリクス基板、アクティブマトリクス基板の製造方法、および液晶表示装置
出願人
シャープディスプレイテクノロジー株式会社
,
シャープ株式会社
代理人
弁理士法人 HARAKENZO WORLD PATENT & TRADEMARK
主分類
G02F
1/1368 20060101AFI20251030BHJP(光学)
要約
【課題】装置負荷を抑制しつつ、明所コントラストを改善し得るアクティブマトリクス基板、アクティブマトリクス基板の製造方法、および液晶表示装置を実現する。
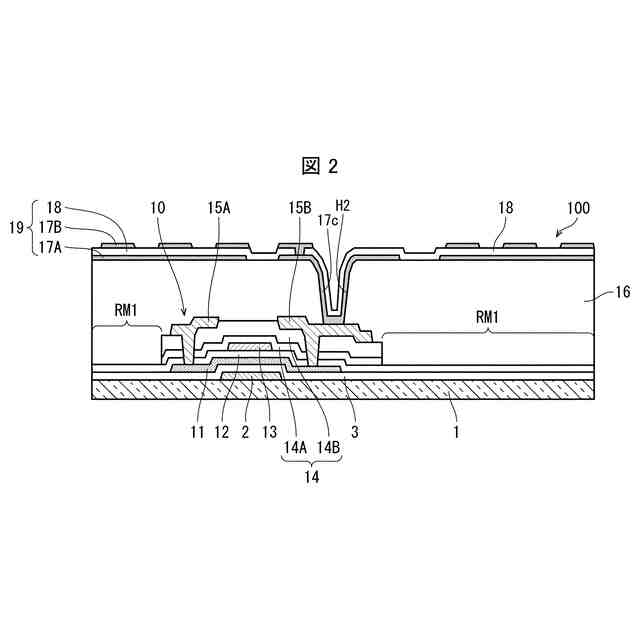
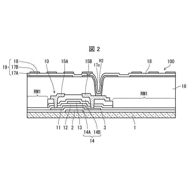
【解決手段】アクティブマトリクス基板(100)は、TFT(10)における層間膜(14)は、窒化シリコンから形成された窒化シリコン膜(14A)と、酸化シリコンから形成された酸化シリコン膜(14B)と、を有し、光透過部において、窒化シリコン層を含まない層間膜除去領域(RM1)を有する。
【選択図】図2
特許請求の範囲
【請求項1】
マトリクス状に配列された複数の画素領域を有し、
基板と、
前記基板上に支持され、前記複数の画素領域のそれぞれに対応して設けられたTFTであって、半導体層、ゲート電極、ゲート絶縁膜、ソース電極およびドレイン電極、層間膜を有するTFTと、
行方向に延び、前記ゲート電極の同じ導電膜から形成された複数のゲート配線と、
列方向に延び、前記ソース電極および前記ドレイン電極と同じ導電膜から形成された複数のソース配線と、を備え、
前記TFT、前記ゲート配線および前記ソース配線が配置されていない部分に光透過部を有し、
前記層間膜は、
窒化シリコンから形成された窒化シリコン層と、酸化シリコンから形成された酸化シリコン層と、を有し、かつ、前記光透過部において、前記窒化シリコン層を含まない第1部分を有する、アクティブマトリクス基板。
続きを表示(約 1,700 文字)
【請求項2】
前記層間膜は、前記半導体層に近い下層側に前記窒化シリコン層が位置し、
前記第1部分は、前記酸化シリコン層を含まない、請求項1に記載のアクティブマトリクス基板。
【請求項3】
前記層間膜は、前記半導体層に近い下層側に前記酸化シリコン層が位置し、
前記第1部分は、前記酸化シリコン層を含む、請求項1に記載のアクティブマトリクス基板。
【請求項4】
前記第1部分は、前記ゲート配線と前記TFTが位置する部分を含まない第1領域に形成され、前記第1部分の上に、前記ソース配線が位置する請求項1に記載のアクティブマトリクス基板。
【請求項5】
前記第1部分は、前記ソース電極および前記ドレイン電極、および前記ソース配線の下側を除いて全面的に形成されている、請求項1に記載のアクティブマトリクス基板。
【請求項6】
前記TFTを覆う平坦化膜と、
前記平坦化膜上に設けられ、前記TFTに電気的に接続された画素電極部を、を備え、 前記画素電極部は、
第1画素電極と、
第2画素電極と、
前記第1画素電極および前記第2画素電極の間に設けられ、窒化シリコンから形成された上部絶縁膜と、
前記第1画素電極と前記第2画素電極とで画素容量を形成しない領域において、前記上部絶縁膜が設けられていない第2部分と、を有する、請求項1に記載のアクティブマトリクス基板。
【請求項7】
請求項1に記載のアクティブマトリクス基板と、
前記アクティブマトリクス基板に対向するように配置された対向基板と、
前記アクティブマトリクス基板と前記対向基板との間に設けられた液晶層と、
を備えた液晶表示装置。
【請求項8】
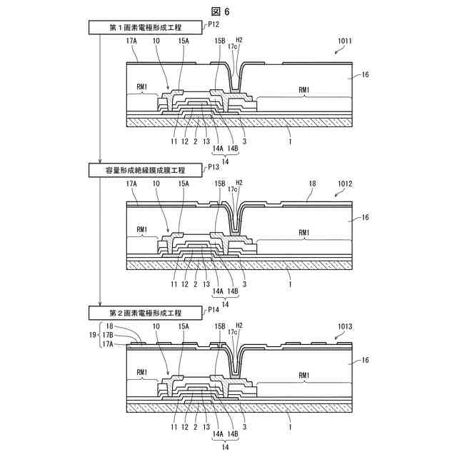
基板と、前記基板上に、マトリクス状に配列された複数の画素領域のそれぞれに対応して設けられたTFTであって、半導体層、ゲート電極、ゲート絶縁膜、ソース電極およびドレイン電極、層間膜を有するTFTと、を備え、前記TFT、ゲート配線およびソース配線が配置されていない部分に光透過部を有するアクティブマトリクス基板の製造方法であって、
前記ゲート電極および前記ゲート配線を覆うように、窒化シリコンから形成された窒化シリコン層と酸化シリコンから形成された酸化シリコン層とを含む層間膜を形成する層間膜形成工程と、
前記窒化シリコン層から供給される水素を用いて前記半導体層の欠陥終端を修復する水素化工程と、
前記水素化工程後に、前記光透過部に位置する前記層間膜の少なくとも一部において、前記窒化シリコン層を除去して、膜厚方向に前記窒化シリコン層が存在しない除去領域を形成する無機膜除去工程と、を含むアクティブマトリクス基板の製造方法。
【請求項9】
前記水素化工程後に、前記層間膜の上に、前記ソース電極および前記ドレイン電極と、前記ソース電極と電気的に接続されたソース配線とを第2メタル層より形成するソース電極形成工程を含み、
前記層間膜形成工程において、前記窒化シリコン層から成膜し、前記窒化シリコン層の上に前記酸化シリコン層を成膜し、
前記無機膜除去工程において、前記ソース電極形成後に、前記光透過部に位置する前記層間膜の少なくとも一部を除去して、膜厚方向に前記層間膜が存在しない除去領域を形成する、請求項8に記載のアクティブマトリクス基板の製造方法。
【請求項10】
前記水素化工程後に、前記層間膜の上に、前記ソース電極および前記ドレイン電極と、前記ソース電極と電気的に接続されたソース配線とを第2メタル層より形成するソース電極形成工程を含み、
前記層間膜形成工程において、前記酸化シリコン層から成膜し、前記酸化シリコン層の上に前記窒化シリコン層を成膜し、
前記無機膜除去工程において、前記ソース電極形成後に、前記光透過部に位置する前記窒化シリコン層の少なくとも一部を除去して、膜厚方向に前記窒化シリコン層が存在しない除去領域を形成する、請求項8に記載のアクティブマトリクス基板の製造方法。
(【請求項11】以降は省略されています)
発明の詳細な説明
【技術分野】
【0001】
本開示は、アクティブマトリクス基板、アクティブマトリクス基板の製造方法、および液晶表示装置に関する。
続きを表示(約 1,700 文字)
【背景技術】
【0002】
アクティブマトリクス基板を備えた液晶表示装置が種々の用途に広く用いられている。アクティブマトリクス基板は、画素領域ごとにスイッチング素子である薄膜トランジスタ(thin film transistor、以下、TFTとも称する)を有する。薄膜トランジスタは、ガラス等の透明な基板に支持されており、基板には、薄膜トランジスタにゲート信号を供給するゲート配線、薄膜トランジスタにソース信号を供給するソース配線、画素電極などが形成されている。薄膜トランジスタのゲート電極、ソース電極およびドレイン電極は、それぞれゲート配線、ソース配線および画素電極に電気的に接続されている。
【0003】
薄膜トランジスタの半導体層とゲート電極との間にはゲート絶縁膜が設けられ、薄膜トランジスタのゲート電極のメタル層とソース電極およびドレイン電極のメタル層との間には層間膜が設けられている。層間膜上には、表面を平坦化するための平坦化膜が形成され、画素電極は平坦化膜に形成されたコンタクトホール内で、薄膜トランジスタのドレイン電極に接続されている。
【0004】
液晶表示装置等のディスプレイにおいては、視認性を向上させるために暗所コントラストが重要視されてきたが、近年、明所コントラストにも着目されつつある。明所コントラストの改善を図るには、バックライトの輝度を上げる等の手法があるが、消費電力の増大を招く。そのため、内部反射率の低減と透過率の向上が急務となっている。
【0005】
特許文献1には、透過率を向上させるために、薄膜トランジスタが含まれる積層膜における、透過領域に延長された回路部分以外の領域に透過開口部を設ける構成が開示されている。特許文献1において、積層膜は基板の表面が露出するまで完全に削除されている。
【先行技術文献】
【特許文献】
【0006】
特開2021-071725号公報
【発明の概要】
【発明が解決しようとする課題】
【0007】
積層膜を除去するにあたり、有機膜については感光性材料を使うことで容易に除去することができる。しかしながら、無機膜は、エッチングによる除去しかできないため、完全に積層膜を除去するとなると分布や残渣等の影響が懸念され、透過率に影響を与える恐れがある。また、無機膜を除去するためには処理時間が長くかかり、装置負荷が非常に大きいといった問題もある。
【0008】
本開示の一態様は、かかる点に鑑みてなされたものであり、装置負荷を抑制しつつ、明所コントラストを改善し得るアクティブマトリクス基板、アクティブマトリクス基板の製造方法、および液晶表示装置を実現することを目的とする。
【課題を解決するための手段】
【0009】
上記の課題を解決するために、本開示の一態様に係るアクティブマトリクス基板は、マトリクス状に配列された複数の画素領域を有し、基板と、前記基板上に支持され、前記複数の画素領域のそれぞれに対応して設けられたTFTであって、半導体層、ゲート電極、ゲート絶縁膜、ソース電極およびドレイン電極、層間膜を有するTFTと、行方向に延び、前記ゲート電極の同じ導電膜から形成された複数のゲート配線と、列方向に延び、前記ソース電極および前記ドレイン電極と同じ導電膜から形成された複数のソース配線と、を備え、前記TFT、前記ゲート配線および前記ソース配線が配置されていない部分に光透過部を有し、前記層間膜は、窒化シリコンから形成された窒化シリコン層と、酸化シリコンから形成された酸化シリコン層と、を有し、かつ、前記光透過部において、前記窒化シリコン層を含まない第1部分を有する。
【0010】
上記の課題を解決するために、本開示の一態様に係る液晶表示装置は、本開示の一態様に係るアクティブマトリクス基板と、前記アクティブマトリクス基板に対向するように配置された対向基板と、前記アクティブマトリクス基板と前記対向基板との間に設けられた液晶層と、を備える。
(【0011】以降は省略されています)
この特許をJ-PlatPat(特許庁公式サイト)で参照する
関連特許
個人
立体像表示装置
1か月前
カンタツ株式会社
光学系
25日前
住友化学株式会社
偏光板
1か月前
株式会社シグマ
結像光学系
19日前
株式会社シグマ
結像光学系
9日前
住友化学株式会社
垂直偏光板
1か月前
東レ株式会社
貼合体の製造方法
1か月前
東レ株式会社
赤外線遮蔽構成体
1か月前
日本精機株式会社
ミラーユニット
18日前
古河電気工業株式会社
融着機
25日前
日本電気株式会社
光モジュール
19日前
日本電気株式会社
光集積回路素子
1か月前
日東電工株式会社
導光部材
9日前
個人
多方向視差効果のための微細穴加工
20日前
株式会社コシナ
投射ズームレンズ
2日前
個人
眼鏡装着位置変更具および眼鏡
1か月前
日東電工株式会社
光学積層体
11日前
三菱電機株式会社
レンズモジュール
1か月前
京セラ株式会社
光学系
17日前
日本精機株式会社
ヘッドアップディスプレイ
9日前
住友化学株式会社
積層体
1か月前
日東電工株式会社
調光フィルム
1か月前
住友化学株式会社
偏光板
1か月前
日本精機株式会社
ヘッドアップディスプレイ
12日前
住友化学株式会社
偏光板
1か月前
AGC株式会社
インフィニティミラー
26日前
マクセル株式会社
映像表示装置
2日前
新光電気工業株式会社
光導波路部品
1か月前
日本精機株式会社
ヘッドアップディスプレイ装置
9日前
住友化学株式会社
光学積層体
1か月前
新光電気工業株式会社
光導波路部品
1か月前
住友化学株式会社
偏光積層体
1か月前
日本精機株式会社
ヘッドアップディスプレイ装置
10日前
株式会社リコー
光走査装置及び画像形成装置
9日前
キヤノン株式会社
レンズ装置および撮像装置
1か月前
株式会社タムロン
ズームレンズ及び撮像装置
17日前
続きを見る
他の特許を見る