TOP
|
特許
|
意匠
|
商標
特許ウォッチ
Twitter
他の特許を見る
公開番号
2025161135
公報種別
公開特許公報(A)
公開日
2025-10-24
出願番号
2024064056
出願日
2024-04-11
発明の名称
画像処理装置及び画像処理装置の制御方法
出願人
シャープ株式会社
代理人
個人
,
個人
,
個人
,
個人
主分類
H04N
1/00 20060101AFI20251017BHJP(電気通信技術)
要約
【課題】例えば、初期設定が必要な画像処理装置について、初期設定のユーザリビティが向上するような画像処理装置等を提供することを可能とする。
【解決手段】画像処理に関するサービスを実行可能な制御部と、表示部と、を備え、前記制御部は、第1のサービス実行中に前記表示部に第1のボタンを表示し、前記第1のボタンが選択されると、第1のサービスに係る情報を待避情報として記憶し、前記第1のサービスと異なる第2のサービスを実行する操作画面を表示し、前記第2のサービスが終了後に、前記第1のボタンと異なる第2のボタンを表示し、前記第2のボタンが選択されると、前記待避情報を読み出して、前記第1のサービスの実行を再開する
画像処理装置。
【選択図】図1
特許請求の範囲
【請求項1】
画像処理に関するサービスを実行可能な制御部と、
表示部と、を備え、
前記制御部は、
第1のサービス実行中に前記表示部に第1のボタンを表示し、
前記第1のボタンが選択されると、第1のサービスに係る情報を待避情報として記憶し、
前記第1のサービスと異なる第2のサービスを実行する操作画面を表示し、
前記第2のサービスが終了後に、前記第1のボタンと異なる第2のボタンを表示し、
前記第2のボタンが選択されると、前記待避情報を読み出して、前記第1のサービスの実行を再開する
画像処理装置。
続きを表示(約 1,800 文字)
【請求項2】
前記制御部は、
前記第1のボタンが選択されると、前記待避情報に基づいたコード情報を出力し、
前記第2のボタンが選択されると、前記コード情報を読み取り、
前記出力したコード情報と、前記読み取ったコード情報とが一致したときは、前記待避情報を読み出して、前記第1のサービスの実行を再開する
請求項1に記載の画像処理装置。
【請求項3】
前記コード情報は、所定時間経過後又は使用後に無効化される請求項2に記載の画像処理装置。
【請求項4】
前記制御部は、
前記第1のボタンが選択されると、前記待避情報を含むコード情報を出力し、
前記第2のボタンが選択されると、前記コード情報を読み取り、
前記コード情報から前記待避情報を読み取って、前記第1のサービスの実行を再開する
請求項1に記載の画像処理装置。
【請求項5】
画像処理に応じて課金する課金部を更に備え、
前記制御部は、
前記第1のボタンが選択されると、前記待避情報として、前記課金部に対する投入金額の残金を示す残金情報をさらに含み、
前記第1のサービスと異なる第2のサービスを実行する操作画面を表示する場合は、一度残金情報をリセットし、
前記第2のボタンが選択されると、前記待避情報を読み出して、前記第1のサービスの実行を再開するのと併せて、前記残金情報を復元する
請求項4に記載の画像処理装置。
【請求項6】
前記制御部は、
前記第1のボタンが選択されると、第1のサービスに係る情報を待避情報として他の装置に送信し、
前記第2のボタンが選択されると、前記送信した装置から前記待避情報を読み出して、前記第1のサービスの実行を再開する
請求項1に記載の画像処理装置。
【請求項7】
前記制御部は、
前記第1のサービスを中断して前記第2のサービスを実行する操作画面を表示し、
前記第1のサービスが中断である状態に対応したメッセージを前記操作画面に表示し、
前記第2のサービスが終了すると、前記メッセージに変えて、前記第2のボタンを表示する
請求項1に記載の画像処理装置。
【請求項8】
前記制御部は、
前記第1のボタン及び前記第2のボタンを、前記表示部に表示される操作画面に表示するとき、他の操作ボタンと比較して大きなサイズで表示する
請求項1に記載の画像処理装置。
【請求項9】
画像処理に関するサービスを実行可能な制御部と、
表示部と、入力部と、出力部とを備え、
前記制御部は、
第1のサービス実行中に前記表示部に第1のボタンを表示し、
前記第1のボタンが選択されると、第1のサービスに係る情報を待避情報として記憶し、
前記待避情報に対応するコード情報を含む2次元コードを前記出力部から出力し、
前記第1のサービスと異なる第2のサービスを実行する操作画面を表示し、
前記第2のサービスが終了後に、前記第1のボタンと異なる第2のボタンを表示し、
前記第2のボタンが選択されると、前記入力部から、前記2次元コードを読み取り、
前記2次元コードからコード情報を抽出し、
前記コード情報に対応する待避情報を記憶しているときは、当該待避情報に基づいて第1のサービスに係る情報を復元し、
前記第1のサービスの実行を再開する
画像処理装置。
【請求項10】
画像処理に関するサービスを実行可能な制御部と、表示部と、を備えた画像処理装置における制御方法であって、
第1のサービス実行中に前記表示部に第1のボタンを表示し、
前記第1のボタンが選択されると、第1のサービスに係る情報を待避情報として記憶し、
前記第1のサービスと異なる第2のサービスを実行する操作画面を表示し、
前記第2のサービスが終了後に、前記第1のボタンと異なる第2のボタンを表示し、
前記第2のボタンが選択されると、前記待避情報を読み出して、前記第1のサービスの実行を再開する
画像処理装置の制御方法。
発明の詳細な説明
【技術分野】
【0001】
本開示は、画像処理装置等に関する。
続きを表示(約 2,400 文字)
【背景技術】
【0002】
例えば、特許文献1に示すように割り込み機能解除後にジョブ設定の設定値を表示する画像形成装置が知られている。
【先行技術文献】
【特許文献】
【0003】
特開昭62-011877号
【発明の概要】
【発明が解決しようとする課題】
【0004】
本開示は、例えば、サービスを中断してからサービスを再開させる場合に、ユーザの手間がかからない画像処理装置等を提供することを目的の一つとする。
【課題を解決するための手段】
【0005】
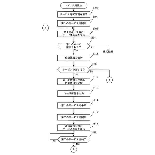
本開示の画像処理装置は、画像処理に関するサービスを実行可能な制御部と、表示部と、を備え、前記制御部は、第1のサービス実行中に前記表示部に第1のボタンを表示し、前記第1のボタンが選択されると、第1のサービスに係る情報を待避情報として記憶し、前記第1のサービスと異なる第2のサービスを実行する操作画面を表示し、前記第2のサービスが終了後に、前記第1のボタンと異なる第2のボタンを表示し、前記第2のボタンが選択されると、前記待避情報を読み出して、前記第1のサービスの実行を再開する。
【0006】
本開示の画像処理装置は、画像処理に関するサービスを実行可能な制御部と、表示部と、入力部と、出力部とを備え、前記制御部は、第1のサービス実行中に前記表示部に第1のボタンを表示し、前記第1のボタンが選択されると、第1のサービスに係る情報を待避情報として記憶し、前記待避情報に対応するコード情報を含む2次元コードを前記出力部から出力し、前記第1のサービスと異なる第2のサービスを実行する操作画面を表示し、前記第2のサービスが終了後に、前記第1のボタンと異なる第2のボタンを表示し、前記第2のボタンが選択されると、前記入力部から、前記2次元コードを読み取り、前記2次元コードからコード情報を抽出し、前記コード情報に対応する待避情報を記憶しているときは、当該待避情報に基づいて第1のサービスに係る情報を復元し、前記第1のサービスの実行を再開する。
【0007】
本開示の画像処理装置における制御方法は、画像処理に関するサービスを実行可能な制御部と、表示部と、を備えた画像処理装置における制御方法であって、第1のサービス実行中に前記表示部に第1のボタンを表示し、前記第1のボタンが選択されると、第1のサービスに係る情報を待避情報として記憶し、前記第1のサービスと異なる第2のサービスを実行する操作画面を表示し、前記第2のサービスが終了後に、前記第1のボタンと異なる第2のボタンを表示し、前記第2のボタンが選択されると、前記待避情報を読み出して、前記第1のサービスの実行を再開する。
【発明の効果】
【0008】
本開示によれば、例えば、画像処理装置においてユーザが操作を譲り、他のユーザが利用を済ませて操作を再開するときに、ユーザが譲った状態から再開できる画像形成装置が可能となる。
【図面の簡単な説明】
【0009】
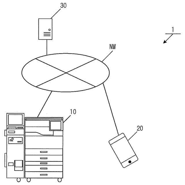
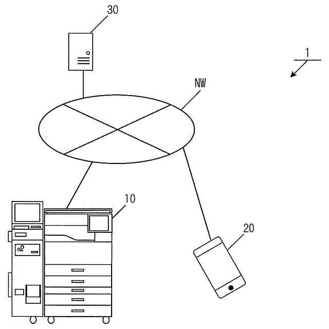
第1実施形態における設定システムの概要を説明するための図である。
第1実施形態におけるサービスの概要を説明するための図である。
第1実施形態における画像形成装置のハードウェアの構成を説明する図である。
第1実施形態におけるソフトウェアの構成を説明するための図である。
第1実施形態における(a)システム設定の一例、(b)サービス情報の一例、(c)ユーザ情報の一例、(d)待避情報の一例を説明する図である。
第1実施形態における処理の流れを説明する図である。
第1実施形態における処理の流れを説明する図である。
第1実施形態における動作例を説明する図である。
第1実施形態における動作例を説明する図である。
第1実施形態における動作例を説明する図である。
第1実施形態における動作例を説明する図である。
第2実施形態における(a)端末装置のハードウェアの構成、(b)サーバ装置のハードウェアの構成を説明する図である。
第2実施形態における(a)端末装置のソフトウェアの構成(b)サーバ装置のソフトウェアの構成を説明するための図である。
第1実施形態におけるユーザ別待避情報の一例を説明する図である。
第2実施形態における処理の流れを説明する図である。
第2実施形態における処理の流れを説明する図である。
第2実施形態における動作例を説明する図である。
第2実施形態における動作例を説明する図である。
第2実施形態における動作例を説明する図である。
第3実施形態における(a)ソフトウェアの構成を説明するための図である、(b)付加情報の一例を説明する図である。
第3実施形態における処理の流れを説明する図である。
第3実施形態における処理の流れを説明する図である。
第3実施形態における動作例を説明する図である。
第4実施形態における処理の流れを説明する図である。
第4実施形態における処理の流れを説明する図である。
第4実施形態における動作例を説明する図である。
【発明を実施するための形態】
【0010】
一般的に画像形成装置は、ジョブ設定等に基づいて、例えば、プリントジョブやファックスジョブ等のジョブを実行する。ここで、ジョブを実行中に、新たなジョブを実行する必要があるときは、例えば、画像形成装置が、実行中のコピージョブを一時中断し、新たなジョブを実行する。そして、MFPは新たなジョブが終了後、再びその実行していたジョブを再開する割り込み機能が知られている。
(【0011】以降は省略されています)
この特許をJ-PlatPat(特許庁公式サイト)で参照する
関連特許
シャープ株式会社
送風機
9日前
シャープ株式会社
端末装置
1か月前
シャープ株式会社
通信端末
1か月前
シャープ株式会社
通信装置
11日前
シャープ株式会社
筐体構造
23日前
シャープ株式会社
加熱機器
23日前
シャープ株式会社
表示装置
9日前
シャープ株式会社
表示装置
9日前
シャープ株式会社
走行装置
1か月前
シャープ株式会社
表示装置
24日前
シャープ株式会社
端末装置
25日前
シャープ株式会社
画像形成装置
18日前
シャープ株式会社
画像形成装置
1か月前
シャープ株式会社
画像形成装置
4日前
シャープ株式会社
アンテナ装置
24日前
シャープ株式会社
画像形成装置
25日前
シャープ株式会社
画像形成装置
18日前
シャープ株式会社
イオン発生装置
1か月前
シャープ株式会社
緩衝材及び梱包体
25日前
シャープ株式会社
端末装置および測定方法
20日前
シャープ株式会社
端末装置および通信方法
10日前
シャープ株式会社
端末装置および通信方法
1か月前
シャープ株式会社
トナー及びその製造方法
1か月前
シャープ株式会社
決済システム及び決済方法
26日前
シャープ株式会社
情報処理装置及び設定方法
23日前
シャープ株式会社
端末および端末の制御方法
1か月前
シャープ株式会社
動画像符号化装置、復号装置
23日前
シャープ株式会社
定着装置および画像形成装置
1か月前
シャープ株式会社
給紙装置および画像形成装置
1か月前
シャープ株式会社
動画像符号化装置、復号装置
26日前
シャープ株式会社
端末装置、および、基地局装置
25日前
シャープ株式会社
画像処理装置及び表示制御方法
9日前
シャープ株式会社
端末装置、および、基地局装置
1か月前
シャープ株式会社
給油管理装置、及び給油システム
23日前
シャープ株式会社
シート搬送装置および画像形成装置
10日前
シャープ株式会社
塵芥回収装置及び塵芥回収システム
9日前
続きを見る
他の特許を見る