TOP
|
特許
|
意匠
|
商標
特許ウォッチ
Twitter
他の特許を見る
公開番号
2025120102
公報種別
公開特許公報(A)
公開日
2025-08-15
出願番号
2024135132
出願日
2024-08-13
発明の名称
見本帳
出願人
株式会社サンゲツ
代理人
フェリシテ弁理士法人
主分類
G09F
5/04 20060101AFI20250807BHJP(教育;暗号方法;表示;広告;シール)
要約
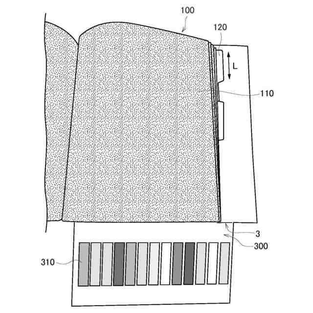
【課題】1冊で同時に施工例の写真及び実物サンプルを見ることができる見本帳を提供することができる。
【解決手段】本開示に係る見本帳1は、第1商品見本110を有する複数の第1見本頁100を含む第1見本帳10と、複数の第2商品見本210を有する複数の第2見本頁200を有する第2見本帳20と、を備え、第1見本帳10及び第2見本帳20が一体化されており、第2見本頁200に、第2商品見本210を含むインテリア空間の写真及び画像220の少なくとも1つが記載されており、第2商品見本210は、天井材の商品見本210A及び壁紙の商品見本210Bを含み、第2見本頁200において、上から順に、天井材の商品見本210A及び壁紙の商品見本210Bが配置されている。
【選択図】図6
特許請求の範囲
【請求項1】
第1商品見本を有する複数の第1見本頁を含む第1見本帳と、
複数の第2商品見本を有する複数の第2見本頁を有する第2見本帳と、を備え、
前記第1見本帳及び前記第2見本帳が一体化されており、
前記第2見本頁に、前記第2商品見本を含むインテリア空間の写真及び画像の少なくとも1つが記載されており、
前記第2商品見本は、天井材の商品見本及び壁紙の商品見本を含み、
前記第2見本頁において、上から順に、前記天井材の商品見本及び前記壁紙の商品見本が配置されていることを特徴とする見本帳。
続きを表示(約 970 文字)
【請求項2】
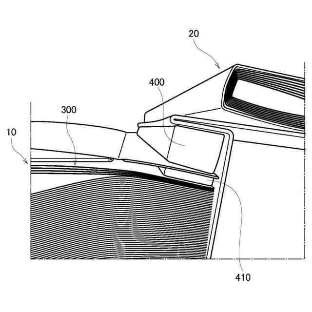
前記第2見本頁は、前記第1見本帳から横方向に開くことができるように構成されていることを特徴とする請求項1に記載の見本帳。
【請求項3】
前記第2見本頁において、床材の画像、巾木の画像及びカーペットの画像の少なくとも1つが、前記壁紙の商品見本の下に記載されていることを特徴とする請求項1に記載の見本帳。
【請求項4】
第1商品見本を有する複数の第1見本頁を含む第1見本帳と、
複数の第2商品見本を有する複数の第2見本頁を有する第2見本帳と、を備え、
前記第1見本帳及び前記第2見本帳が一体化されており、
前記第2見本頁に、前記第2商品見本を含むインテリア空間の写真及び画像の少なくとも1つが記載されており、
前記第2見本帳は、前記第2見本頁が横方向に開くことができる三つ折り構造を有していることを特徴とする見本帳。
【請求項5】
複数の第1商品見本を有する複数の第1見本頁を含む第1見本帳と、
複数の第2商品見本を有する複数の第2見本頁を有する第2見本帳と、を備え、
前記第1見本帳及び前記第2見本帳が一体化されており、
前記第2見本頁に、前記第2商品見本を含むインテリア空間の写真及び画像の少なくとも1つが記載されており、
前記第1見本頁は、横方向に延びる切込み線によって少なくとも2つの部分に分割されており、
前記複数の第1商品見本は、前記部分のそれぞれに対応することを特徴とする見本帳。
【請求項6】
壁紙の商品見本を有する複数の第1見本頁を含む第1見本帳と、
天井材の見本を有する第3見本頁と、を備え、
前記第3見本頁は、前記第1見本帳から上方向に開かれた状態の折り込み頁において天より外に飛び出した部分に設けられていることを特徴とする見本帳。
【請求項7】
壁紙の商品見本を有する複数の第1見本頁を含む第1見本帳と、
床材の見本及び巾木の見本の少なくとも一方を有する第3見本頁と、を備え、
前記第3見本頁は、前記第1見本帳から上方向に開かれた状態の折り込み頁において地より外に飛び出した部分に設けられていることを特徴とする見本帳。
発明の詳細な説明
【技術分野】
【0001】
本開示は、見本帳に関する。
続きを表示(約 1,200 文字)
【背景技術】
【0002】
従来から、100m
2
以下の小さな商品見本(実物サンプル)が複数貼り付けられている見本頁を有する見本帳が知られている(例えば、特許文献1参照)。
【先行技術文献】
【特許文献】
【0003】
特開2023-45259号公報
【発明の概要】
【発明が解決しようとする課題】
【0004】
しかしながら、従来、ユーザが、上述の見本帳で商品を見ていても、実際に購入する商品を決定する前には、200m
2
以上の大きな商品見本(実物サンプル)を取り寄せることになり、二度手間になってしまうという問題点があった。
【0005】
また、従来は、1冊の見本帳で同時に施工例の写真及び実物サンプルを見ることができなかったため、ユーザは、商品の意思決定に時間がかかっていた。
【0006】
また、内装コーディネートの提案者(営業や工務店やハウスメーカー等)は、コーディネート案を提案するために、ユーザごとに壁紙等の実物サンプルを貼り付けたコーディネートの提案資料を自分で作る必要があり、業務負荷が高いという問題点があった。
【0007】
そこで、本開示は、上述の課題に鑑みてなされたものであり、1冊で内装コーディネートを検討しやすくなる見本帳を提供することを目的とする。
【0008】
また、本開示は、内装コーディネートの提案者(営業や工務店やハウスメーカー等)が、見本帳だけで、コーディネート案を提案することができ、コーディネートの提案資料作成の負荷を軽減できることを目的とする。
【課題を解決するための手段】
【0009】
本開示の第1の特徴は、見本帳であって、第1商品見本を有する複数の第1見本頁を含む第1見本帳と、複数の第2商品見本を有する複数の第2見本頁を有する第2見本帳と、を備え、前記第1見本帳及び前記第2見本帳が一体化されており、前記第2見本頁に、前記第2商品見本を含むインテリア空間の写真及び画像の少なくとも1つが記載されており、前記第2商品見本は、前記天井材の商品見本及び前記壁紙の商品見本を含み、前記第2見本頁において、上から順に、前記天井材の商品見本及び前記壁紙の商品見本が配置されていることを要旨とする。
【0010】
本開示の第2の特徴は、見本帳であって、第1商品見本を有する複数の第1見本頁を含む第1見本帳と、複数の第2商品見本を有する複数の第2見本頁を有する第2見本帳と、を備え、前記第1見本帳及び前記第2見本帳が一体化されており、前記第2見本頁に、前記第2商品見本を含むインテリア空間の写真及び画像の少なくとも1つが記載されており、前記第2見本帳は、前記第2見本頁が横方向に開くことができる三つ折り構造を有していることを要旨とする。
(【0011】以降は省略されています)
この特許をJ-PlatPat(特許庁公式サイト)で参照する
関連特許
株式会社サンゲツ
インテリア用品提案支援システム
1か月前
株式会社サンゲツ
天井面材
1か月前
株式会社サンゲツ
インテリア用品提案支援システム
1か月前
株式会社サンゲツ
インテリア空間シミュレーション装置
2か月前
個人
教育のAI化
19日前
個人
英語教材
1か月前
個人
回転式カード学習具
2か月前
日本精機株式会社
表示装置
22日前
日本精機株式会社
表示装置
2か月前
個人
時刻表示機能つき手帳
3か月前
日本精機株式会社
表示装置
3か月前
個人
計算用教具
1か月前
中国電力株式会社
標示旗
2か月前
日本精機株式会社
車両用表示装置
3か月前
個人
インフィニティミラー
20日前
日本精機株式会社
車両用表示装置
3か月前
日本精機株式会社
車両用表示装置
3か月前
日本精機株式会社
車両用表示装置
28日前
個人
モデルで薔薇の花嫁様を描く為
2か月前
日本精機株式会社
車両用センサ装置
1か月前
個人
微細構造を模した理科学習教材
1か月前
日榮新化株式会社
対象物質感知シート
19日前
シャープ株式会社
表示装置
2か月前
ニチレイマグネット株式会社
サイン器具
1か月前
株式会社一弘社
情報表示板
2か月前
個人
音楽教材
3か月前
株式会社ウメラボ
学習支援システム
1か月前
株式会社ウメラボ
学習支援システム
1か月前
日本精機株式会社
表示装置及びその製造方法
22日前
ニチレイマグネット株式会社
磁着式電飾装置
2か月前
株式会社半導体エネルギー研究所
半導体装置
3か月前
朝日インテック株式会社
ラベルシート
1か月前
株式会社リコー
画像投射システム
2か月前
朝日インテック株式会社
生体モデル装置
22日前
株式会社イリオスNOTO
シート保管具
1か月前
シャープ株式会社
表示装置
1か月前
続きを見る
他の特許を見る