TOP
|
特許
|
意匠
|
商標
特許ウォッチ
Twitter
他の特許を見る
公開番号
2025161985
公報種別
公開特許公報(A)
公開日
2025-10-24
出願番号
2025142048,2021161070
出願日
2025-08-28,2021-09-30
発明の名称
天井面材
出願人
株式会社サンゲツ
,
株式会社名古屋モウルド
代理人
弁理士法人ITOH
主分類
E04B
9/04 20060101AFI20251017BHJP(建築物)
要約
【課題】軽量かつ薄厚でありながら、うねりが生じ難く、意匠性に優れた天井面材と、この天井面材により形成される建物天井を提供すること。
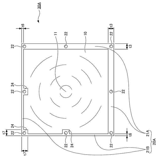
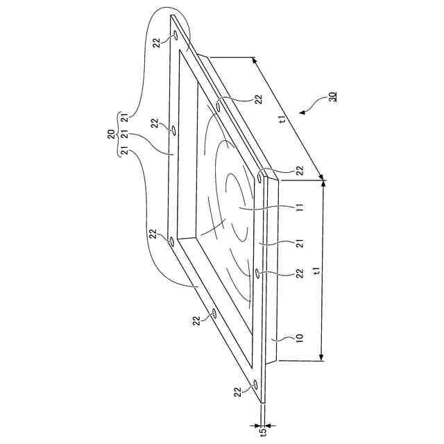
【解決手段】天井下地材40に取り付けられて建物天井60を形成する、天井面材30であり、天井面材30は、面材中央10と、面材中央10の周縁の面材周縁20とを有し、面材中央10はうねり防止部11を備え、面材周縁20は、隣接する別途の天井面材30の面材周縁20が重ね合わされて相互に留め付けられるようになっており、天井面材30は、無機材料と樹脂材料とパルプ繊維とを含む材料により形成されたパルプモウルド成形品であり、パルプモウルド成形品において、無機材料が10乃至50重量%の範囲にあり、樹脂材料が3乃至50重量%の範囲にあり、パルプ繊維が20乃至80重量%の範囲にある。
【選択図】図1
特許請求の範囲
【請求項1】
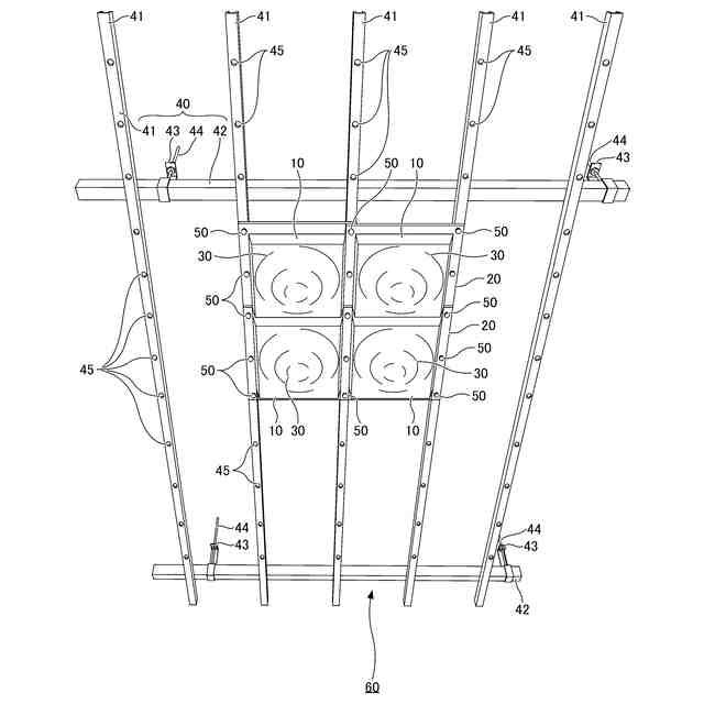
天井下地材に取り付けられて建物天井を形成する、天井面材であって、
前記天井面材は、面材中央と、該面材中央の周縁の面材周縁とを有し、
前記面材中央は、うねり防止部を備え、
前記天井面材は、無機材料と樹脂材料とパルプ繊維とを含む材料により形成されたパルプモウルド成形品であり、
前記うねり防止部は、前記面材中央の中央が室内側へ凸の湾曲面であることを特徴とする、天井面材。
続きを表示(約 790 文字)
【請求項2】
天井下地材に取り付けられて建物天井を形成する、天井面材であって、
前記天井面材は、面材中央と、該面材中央の周縁の面材周縁とを有し、
前記面材中央は、うねり防止部を備え、
前記天井面材は、無機材料と樹脂材料とパルプ繊維とを含む材料により形成されたパルプモウルド成形品であり、
前記うねり防止部は、一つもしくは複数の折り目線と該折り目線で前記面材中央が複数に分割された分割面であり、それぞれの該分割面はその中央が室内側へ凸の湾曲面であることを特徴とする、天井面材。
【請求項3】
天井下地材に取り付けられて建物天井を形成する、天井面材であって、
前記天井面材は、面材中央と、該面材中央の周縁の面材周縁とを有し、
前記面材中央は、うねり防止部を備え、
前記天井面材は、無機材料と樹脂材料とパルプ繊維とを含む材料により形成されたパルプモウルド成形品であり、
前記うねり防止部は、一つもしくは複数の溝条と、該溝条で前記面材中央が複数に分割された分割面であることを特徴とする、天井面材。
【請求項4】
天井下地材に取り付けられて建物天井を形成する、天井面材であって、
前記天井面材は、面材中央と、該面材中央の周縁の面材周縁とを有し、
前記面材中央は、うねり防止部を備え、
前記天井面材は、無機材料と樹脂材料とパルプ繊維とを含む材料により形成されたパルプモウルド成形品であり、
前記うねり防止部は、前記面材中央における前記面材周縁との境界ラインに沿って延設して室内側へ凸の凸条であることを特徴とする、天井面材。
【請求項5】
前記面材中央に比べて前記面材周縁の厚みが薄いことを特徴とする、請求項1乃至4のいずれか一項に記載の天井面材。
発明の詳細な説明
【技術分野】
【0001】
本発明は、天井面材に関する。
続きを表示(約 1,400 文字)
【背景技術】
【0002】
建物天井は一般に、野縁等の天井下地材に対して、石膏ボード等の硬質の天井面材が取付けられることにより、形成されている。ところで、石膏ボード等の天井面材は、比較的重量があることから、地震による天井落下が課題の一つとなる。そこで、軽量な天井面材にて建物天井を形成することにより、この天井落下の課題が解消され得る。
【0003】
軽量で薄厚の天井面材としては、パルプ繊維を主原料とした混抄シート等を挙げることができ、このような天井面材を天井下地材に留め付けて建物天井を形成することにより、意匠性にも優れた建物天井となる。
【0004】
ここで、特許文献1には、中空状の空気層を構成する芯材部と、芯材部の表面と裏面に貼着された外ライナとを備えた段ボール板材の表面、裏面及び周端面を不燃性材料で被覆した天井材が提案されている。この天井材では、外ライナを形成する素材の単位面積当たりの質量が、芯材部を形成する素材の単位面積当たりの質量以上であり、天井材の少なくとも片面には、化粧紙もしくは化粧フィルムが貼着されている。
【先行技術文献】
【特許文献】
【0005】
特開2014-66128号公報
【発明の概要】
【発明が解決しようとする課題】
【0006】
特許文献1に記載の天井材によれば、段ボール板材を芯材とすることから軽量となり、地震時における天井落下の課題は生じない。
【0007】
ところで、上記するように、軽量かつ薄厚の天井面材を建物天井に適用する場合、天井面材の表面にうねり(波打ち)が生じ易く、このうねりに起因する陰影が目立つことにより建物天井の意匠性が逆に損なわれるといった新たな課題が懸念される。また、特許文献1に記載の天井材においても、表面に化粧紙が貼着されていることから、天井面材の表面のうねりに関する同様の課題を内包する。
【0008】
本発明は上記課題に鑑みてなされたものであり、軽量かつ薄厚でありながら、うねりが生じ難く、意匠性に優れた天井面材を提供することを目的としている。
【課題を解決するための手段】
【0009】
前記目的を達成すべく、本発明による天井面材の一態様は、
天井下地材に取り付けられて建物天井を形成する、天井面材であって、
前記天井面材は、面材中央と、該面材中央の周縁の面材周縁とを有し、
前記面材中央は、うねり防止部を備え、
前記天井面材は、無機材料と樹脂材料とパルプ繊維とを含む材料により形成されたパルプモウルド成形品であり、
前記うねり防止部は、前記面材中央の中央が室内側へ凸の湾曲面であることを特徴とする。
【0010】
本態様によれば、天井面材の面材中央がうねり防止部を備えていることにより、天井面材が軽量かつ薄厚であっても、うねりの発生を抑制することができ、意匠性に優れた天井面材を形成できる。また、うねり防止部が、面材中央の中央が室内側へ凸の湾曲面であることにより、シンプルかつ目立たない構成のうねり防止部にて面材中央のうねりを効果的に抑制することができる。さらに、天井面材がパルプモウルド成形品(パルプモールド成形品)であることにより、多様な三次元形状で薄厚の天井面材を製作することができる。
(【0011】以降は省略されています)
この特許をJ-PlatPat(特許庁公式サイト)で参照する
関連特許
株式会社サンゲツ
天井面材
1か月前
個人
接合構造
2か月前
個人
タッチミー
2か月前
個人
安心補助てすり
1か月前
個人
ベンリナアングル
2か月前
個人
免震建築構造
4日前
株式会社フジタ
合成床
4日前
株式会社シンケン
住宅
1か月前
個人
防災建築物
1か月前
株式会社熊谷組
床構成材
2か月前
三協立山株式会社
構造体
27日前
三洋工業株式会社
床構造
1か月前
株式会社大林組
接合構造
1か月前
三協立山株式会社
構造体
1か月前
三協立山株式会社
構造体
1か月前
鹿島建設株式会社
接合構造
1か月前
鹿島建設株式会社
補強構造
4日前
鹿島建設株式会社
制震架構
1か月前
岡部株式会社
柱梁接合構造
19日前
ミサワホーム株式会社
住宅
1か月前
ミサワホーム株式会社
玄関
1か月前
鹿島建設株式会社
解体方法
1か月前
株式会社オカムラ
移動式什器
1か月前
株式会社 シコク
手摺り装置
1か月前
日精株式会社
機械式駐車装置
2か月前
日精株式会社
機械式駐車装置
1か月前
株式会社タカショー
塀
1か月前
株式会社竹中工務店
建物構造
1か月前
株式会社タカショー
塀
1か月前
極東開発工業株式会社
駐車装置
1か月前
理研軽金属工業株式会社
庇
12日前
積水ハウス株式会社
建築物
11日前
株式会社オカムラ
パーティション
1か月前
理研軽金属工業株式会社
庇
20日前
株式会社オカムラ
パーティション
1か月前
積水ハウス株式会社
建築物
1か月前
続きを見る
他の特許を見る