TOP
|
特許
|
意匠
|
商標
特許ウォッチ
Twitter
他の特許を見る
10個以上の画像は省略されています。
公開番号
2025154965
公報種別
公開特許公報(A)
公開日
2025-10-10
出願番号
2024058282
出願日
2024-03-29
発明の名称
機械式駐車装置
出願人
日精株式会社
代理人
個人
主分類
E04H
6/42 20060101AFI20251002BHJP(建築物)
要約
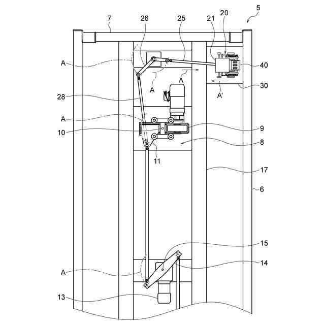
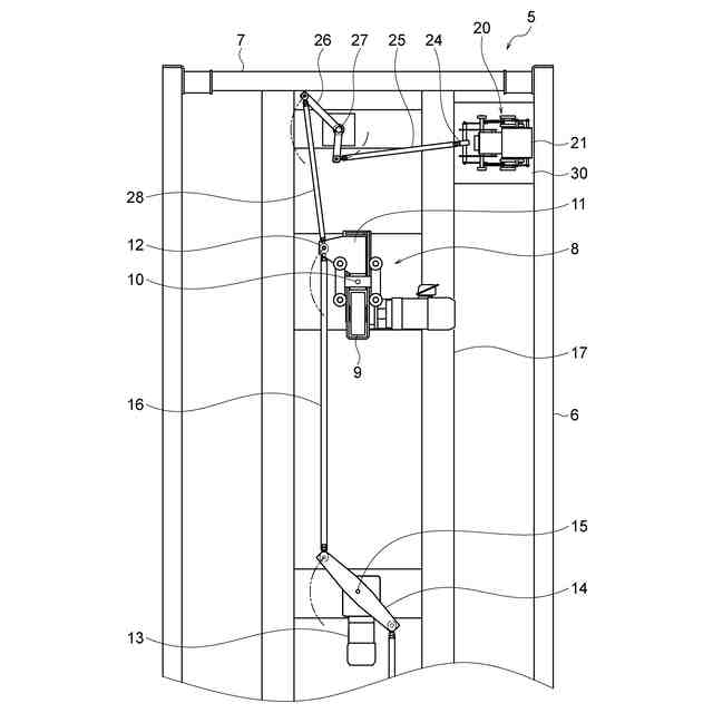
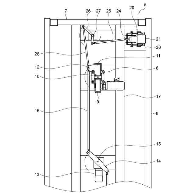
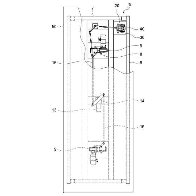
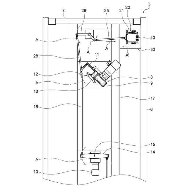
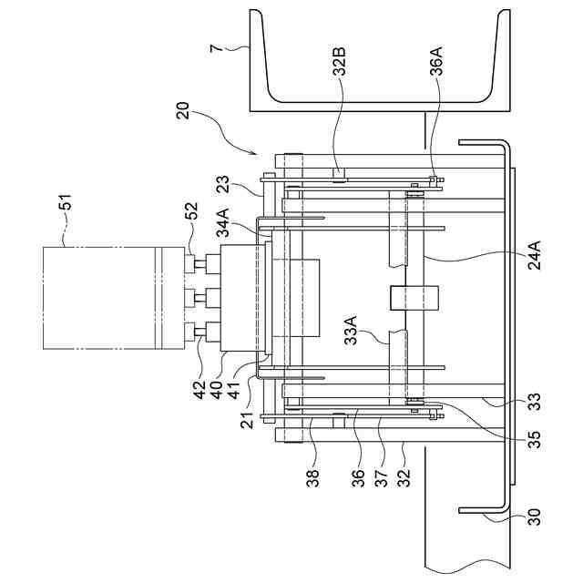
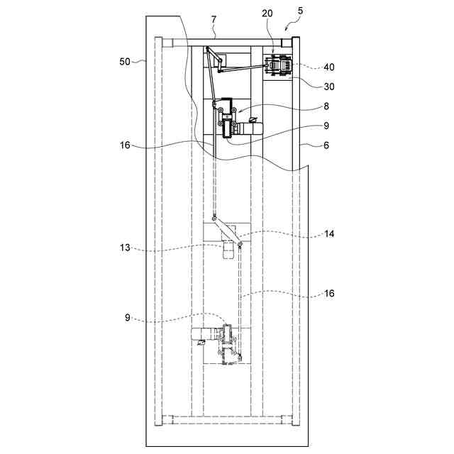
【課題】トレーを機械式駐車装置運転時の停止位置に位置させたまま充電でき、メンテナンス時等の作業者の感電事故を防止する機械式駐車装置を提供する。
【解決手段】給電部20の少なくとも給電子42を覆う位置と開放する位置とを取り得る覆体21と、を含んで構成され、縦横送り装置8の縦横方向の切り換え動作に連動して、縦横送り装置8に作動連結されるリンク機構に連結されて覆体21の移動方向に沿って揺動する揺動体34と、揺動体34の揺動端側に接続される第1平行リンク機構と、第1平行リンク機構に接続され、覆体21を覆う位置と開放位置との間を移動させる第2平行リンク機構と、揺動体34の揺動端部に固定され、揺動体34が縦横送り装置8に連結されるリンク機構によって揺動することで給電体40を供給位置と非供給位置との間を移動させる支持部材34Aと、を有する。
【選択図】図5
特許請求の範囲
【請求項1】
トレーを格納する複数の格納区画を有する機械式駐車装置であって、
前記格納区画は、前記トレーを縦横に移動させる縦横送り装置と、前記縦横送り装置に作動連結され、前記トレーの受電部に電力を供給する供給位置と電力を供給しない非供給位置とを取り得る給電体を有する給電部と、前記給電部の少なくとも給電子を覆う位置と開放する位置とを取り得る覆体と、を含んで構成され、
前記縦横送り装置の縦横方向の切り換え動作に連動して、前記縦横送り装置に作動連結されるリンク機構に連結されて前記覆体の移動方向に沿って揺動する揺動体と、
前記揺動体の揺動端側に接続される第1平行リンク機構と、前記第1平行リンク機構に接続され、前記覆体を前記覆う位置と前記開放位置との間を移動させる第2平行リンク機構と、
前記揺動体の揺動端部に固定され、前記揺動体が前記縦横送り装置に連結される前記リンク機構によって揺動することで前記給電体を前記供給位置と前記非供給位置との間を移動させる支持部材と、を有し、
前記リンク機構の作動により、前記第1平行リンク機構及び第2平行リンク機構が作動されて前記覆体が前記開放する位置に移動されると、前記揺動体の前記支持部材が前記給電子を前記トレーの前記受電部に接触させる位置を取り得る、機械式駐車装置。
続きを表示(約 330 文字)
【請求項2】
前記揺動体は、側面視、上部が狭く下部が広い三角状の部材とされ、前記上部が揺動軸により支持され、前記下部の前記縦横送り機構に近い側に前記第1平行リンク機構が接続され、前記下部の前記給電体に近い側に前記支持部材が設けられる、請求項1に記載の機械式駐車装置。
【請求項3】
前記覆体、前記揺動体、及び前記揺動軸に前記揺動体とともに取り付けられる給電体揺動部材は、前記給電体とは絶縁されている、請求項1又は2に記載の機械式駐車装置。
【請求項4】
前記縦横送り装置は、前記トレーの下面に設置される縦送りレール又は横送りレールに下方から接触駆動する水平旋回する駆動車輪を有する、請求項1に記載の機械式駐車装置。
発明の詳細な説明
【技術分野】
【0001】
本発明は、機械式駐車装置に関する。特に、充電トレーに電力を供給する電力供給部に特徴を有する。
続きを表示(約 2,200 文字)
【背景技術】
【0002】
近年、自動車において電気自動車が普及し始めている。電気自動車には、純粋にバッテリとモータとで走行するバッテリ電気自動車(BEV)と称するもの、内燃機関とバッテリとモータとを併用し、バッテリには外部充電設備から電気を充電可能なプラグインハイブリッド車(PHEV)等、バッテリの外部からの充電が必要な自動車がある。
【0003】
バッテリの充電には、一般充電の他に急速充電ができる車種もあるが、いずれにしても、バッテリの充電には長時間を要するため、機械式駐車装置においても、駐車中に充電ができる設備を備えたものの要求が高まっている。
【0004】
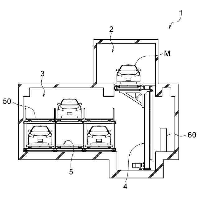
ところで、機械式駐車装置は、トレーに車両を載置して格納室に搬送し、搬送されたトレーが格納室内を循環移動する形式のもの、格納棚に格納して移動しないもの、垂直循環式では、充電用のレールを上下方向に設置するもの、等々、複数の種類があるが、その充電手段には、トレーに電力を供給する手段自体に複雑な機構を用いたり、充電位置と循環位置とが異なっていて、循環位置にトレーを戻さなければトレーを移動できないもの等があり、製造コストの高額化や機械式駐車装置の運転上の不便がある。
【0005】
例えば、特許文献1には、複数の駐車スペースと、車両を搭載可能であり、駐車スペース間を第1方向および前記第1方向と交差する第2方向に移動可能なパレット、を備え、前記複数の駐車スペースのうちの少なくとも1つの駐車スペースには給電端子が設けられ、前記パレットには受電端子が設けられ、前記給電端子と前記受電端子とは、前記第1方向に接続可能であり、前記給電端子は、前記パレットが前記給電端子が設けられた駐車スペースへ前記第2方向に移動する際に、前記受電端子と接触しない位置に設けられており、前記給電端子が設けられた駐車スペース内の停止位置に前記パレットが移動した後、前記パレットを前記給電端子側の充電位置へ更に移動させて前記受電端子を前記給電端子へ接触させることを特徴とする機械式駐車場が記載されている。
【0006】
また、特許文献2には、電気車両を搭載可能な充電パレットを少なくとも1つ備え、前記充電パレットを所定の駐車棚に格納するときに、前記駐車棚で前記充電パレットを所定の駐車位置へ第1方向に移動させる機械式駐車装置であって、前記駐車棚に設けられており、電源装置と接続された複数の第1接点と、前記充電パレットの前記第1方向の端部であって当該充電パレットが前記駐車位置にあるときに前記複数の第1接点と対峙可能な位置に設けられており、前記複数の第1接点と対応する複数の第2接点と、前記複数の第1接点の前記駐車棚に対する前記第1方向の位置または前記複数の第2接点の前記充電パレットに対する前記第1方向の位置を変位可能とする第1移動機構と、前記複数の第1接点の前記駐車棚に対する前記第1方向と略直交する第2方向の位置または前記複数の第2接点の前記充電パレットに対する前記第2方向の位置を変位可能とし、前記第1移動機構と分離された第2移動機構と、前記充電パレットの前記第1方向への移動に伴って前記複数の第1接点と前記複数の第2接点とが対峙するように前記複数の第1接点と前記複数の第2接点の相対的な前記第2方向への移動を案内する案内機構とを備えている、機械式駐車装置が記載されている。
【先行技術文献】
【特許文献】
【0007】
特許第6618261号公報
特許第6212607号公報
【発明の概要】
【発明が解決しようとする課題】
【0008】
しかしながら、特許文献1に記載された機械式駐車場は、駐車スペース内において、循環移動して停止する停止位置から給電駐車スペースの充電位置に更に移動させなければ、パレットに設けられた受電端子と給電駐車スペースの給電ユニットに設けられた給電端子とを接続させることができない。すなわち、入出庫の呼び操作が行われてパレットを循環するタイミングで、パレットを給電駐車スペースの充電位置から循環移動可能な停止位置に戻す必要があり、その都度充電が中断されてしまう。また、集電子等が露出していることにより、メンテナンス時の作業者の感電事故を誘発する虞がある。
【0009】
また、特許文献2に記載された機械式駐車装置は、充電パレットを、第1移動機構、第2移動機構等を含む棚側接点組立体に向けて移動させて、パレット側接点組立体を棚側接点組立体に押し当てて接触させなければ充電することができない。また、棚側接点組立体は、複数の移動機構を含む複雑な構造を有しており、これを複数の各棚に設置することで製造コストが嵩む。また、集電子等が露出していることにより、メンテナンス時の作業者の感電事故を誘発する虞がある。
【0010】
本発明は、トレーを機械式駐車装置運転時の停止位置に位置させたまま充電でき、メンテナンス時の作業者の感電事故を防止する機械式駐車装置を提供することを目的とする。
【課題を解決するための手段】
(【0011】以降は省略されています)
この特許をJ-PlatPat(特許庁公式サイト)で参照する
関連特許
個人
接合構造
2か月前
個人
屋台
2か月前
個人
タッチミー
2か月前
個人
安心補助てすり
1か月前
個人
ベンリナアングル
2か月前
個人
筋交自動設定装置
2か月前
個人
免震建築構造
1日前
個人
身体用シェルター
2か月前
個人
身体用シェルター
2か月前
個人
防災建築物
1か月前
株式会社シンケン
住宅
1か月前
株式会社フジタ
合成床
1日前
個人
可搬型供養墓
2か月前
三協立山株式会社
構造体
2か月前
三協立山株式会社
構造体
1か月前
三協立山株式会社
構造体
2か月前
三協立山株式会社
構造体
2か月前
三協立山株式会社
構造体
2か月前
三協立山株式会社
構造体
2か月前
三協立山株式会社
構造体
2か月前
三協立山株式会社
構造体
24日前
株式会社熊谷組
床構成材
1か月前
株式会社大林組
接合構造
1か月前
三協立山株式会社
構造体
29日前
三洋工業株式会社
床構造
1か月前
株式会社熊谷組
吊り治具
2か月前
株式会社エフコンサルタント
面材
2か月前
株式会社エフコンサルタント
面材
2か月前
ミサワホーム株式会社
住宅
1か月前
ミサワホーム株式会社
住戸
2か月前
ミサワホーム株式会社
玄関
29日前
鹿島建設株式会社
解体方法
1か月前
鹿島建設株式会社
接合構造
1か月前
鹿島建設株式会社
補強構造
1日前
岡部株式会社
柱梁接合構造
16日前
アイジー工業株式会社
スターター
2か月前
続きを見る
他の特許を見る