TOP
|
特許
|
意匠
|
商標
特許ウォッチ
Twitter
他の特許を見る
公開番号
2025157830
公報種別
公開特許公報(A)
公開日
2025-10-16
出願番号
2024060099
出願日
2024-04-03
発明の名称
建物構造
出願人
株式会社竹中工務店
代理人
個人
主分類
E04B
1/18 20060101AFI20251008BHJP(建築物)
要約
【課題】壁構造体にて建物中央側に構成されるコア構造部と、外周柱、及び、外周梁にて建物外周側に構成される外周架構部とが備えられる建物構造において、建物の大型化に伴ってフロア面積が大きくなる場合でも、コア構造部と外周架構部との間に梁形を極力現わさない無柱空間を実現し易い技術を提供する。
【解決手段】壁構造体11にて建物中央側に構成されるコア構造部1と、外周柱21、及び、外周梁22にて建物外周側に構成される外周架構部2と、コア構造部1から建物外周側に片持ち状に跳ね出す複数の跳ね出し梁31、及び、当該複数の跳ね出し梁31の先端部に亘る中間梁32にて構成される跳ね出し架構部3と、が備えられている。
【選択図】図1
特許請求の範囲
【請求項1】
壁構造体にて建物中央側に構成されるコア構造部と、
外周柱、及び、外周梁にて建物外周側に構成される外周架構部と、
前記コア構造部から建物外周側に片持ち状に跳ね出す複数の跳ね出し梁、及び、当該複数の跳ね出し梁の先端部に亘る中間梁にて構成される跳ね出し架構部と、
が備えられている建物構造。
続きを表示(約 160 文字)
【請求項2】
前記中間梁の天端が、前記外周梁の天端とは異なる高さ位置に設定されている請求項1記載の建物構造。
【請求項3】
前記コア構造部における前記跳ね出し梁の跳ね出し箇所には、前記コア構造部の前記壁構造体に作用する面外曲げ応力に抵抗する面外曲げ抵抗柱が備えられている請求項1又は2記載の建物構造。
発明の詳細な説明
【技術分野】
【0001】
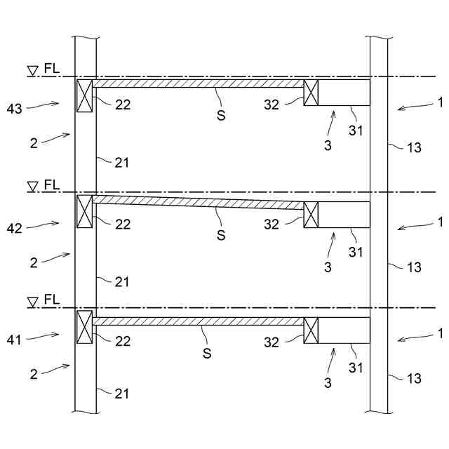
本発明は、壁構造体にて建物中央側に構成されるコア構造部と、外周柱、及び、外周梁にて建物外周側に構成される外周架構部とが備えられる建物構造に関する。
続きを表示(約 1,700 文字)
【背景技術】
【0002】
壁構造体にて建物中央側に構成されるコア構造部と、外周柱、及び、外周梁にて建物外周側に構成される外周架構部とが備えられるセンターコア型の建物構造が知られている(例えば特許文献1参照)。
このようなセンターコア型の建物構造では、コア構造部から外周架構部までの間隔が大きい場合、床スラブを適切に支持するべく、コア構造部と外周架構部との間の中間位置で床スラブを支持する中間梁が設けられることがある。
そして、従来、中間梁は、コア構造部と外周架構部の外周柱とに亘る一対の大梁の中間部どうしの間に架設されていた。
【先行技術文献】
【特許文献】
【0003】
特開2004-076293号公報
【発明の概要】
【発明が解決しようとする課題】
【0004】
しかしながら、上記のように一対の大梁の中間部どうしの間に中間梁を設ける場合、建物の大型化に伴ってフロア面積が大きくなると、それに応じて中間梁のスパン(換言すれば長さ)が大きくなるので、そのスパンの大きな中間梁を適切に支持するために梁せいの大きな大梁や柱を追加する必要が生じ、コア構造部と外周架構部との間に梁形を極力現わさない無柱空間を実現するのが難しいという問題があった。
【0005】
この実情に鑑み、本発明の主たる課題は、壁構造体にて建物中央側に構成されるコア構造部と、外周柱、及び、外周梁にて建物外周側に構成される外周架構部とが備えられる建物構造において、建物の大型化に伴ってフロア面積が大きくなる場合でも、コア構造部と外周架構部との間に梁形を極力現わさない無柱空間を実現し易い技術を提供する点にある。
【課題を解決するための手段】
【0006】
本発明の第1特徴構成は、壁構造体にて建物中央側に構成されるコア構造部と、
外周柱、及び、外周梁にて建物外周側に構成される外周架構部と、
前記コア構造部から建物外周側に片持ち状に跳ね出す複数の跳ね出し梁、及び、当該複数の跳ね出し梁の先端部に亘る中間梁にて構成される跳ね出し架構部と、
が備えられている点にある。
【0007】
本構成によれば、建物中央側のコア構造部から建物外周側に跳ね出す跳ね出し架構部が備えられているので、跳ね出し架構部の中間梁にてコア構造部と外周架構部との中間位置で床スラブを支持することができる。そして、建物の大型化に伴ってフロア面積が大きくなり、中間梁の長さが大きくなる場合でも、例えば中間梁を支持する跳ね出し梁の本数を増やす等により、梁せいの大きな大梁や柱を追加することなく対応することができる。
よって、建物の大型化に伴いフロア面積が大きくなる場合でも、コア構造部と外周架構部との間に梁形を極力現わさない無柱空間を実現し易い建物構造を提供することができる。
しかも、跳ね出し架構部は、跳ね出し梁の跳ね出し高さ位置を変更することで中間梁の天端レベルを容易に変更することができる。そのため、例えば中間梁の上方に支持される床スラブ部分の目標設置高さ位置に応じて中間梁の天端レベルを変更し、当該床スラブ部分を目標設置高さ位置で適切に支持することができる。
【0008】
本発明の第2特徴構成は、前記中間梁の天端が、前記外周梁の天端とは異なる高さ位置に設定されている点にある。
【0009】
本構成によれば、中間梁の天端が、外周梁の天端とは異なる高さ位置に設定されているので、それら中間梁の天端と外周梁の天端とのレベル差を利用して、例えば中間梁と外周梁に支持される床スラブに対して建物内外方向に沿う勾配(例えば水勾配)等を効率良く容易に付けることができる。
【0010】
本発明の第3特徴構成は、前記コア構造部における前記跳ね出し梁の跳ね出し箇所には、前記コア構造部の前記壁構造体に作用する面外曲げ応力に抵抗する面外曲げ抵抗柱が備えられている点にある。
(【0011】以降は省略されています)
この特許をJ-PlatPat(特許庁公式サイト)で参照する
関連特許
株式会社竹中工務店
複合壁
29日前
株式会社竹中工務店
構造物
1か月前
株式会社竹中工務店
免震建物
1か月前
株式会社竹中工務店
建物構造
1か月前
株式会社竹中工務店
建物構造
1か月前
株式会社竹中工務店
免震構造
1か月前
株式会社竹中工務店
発電システム
22日前
株式会社竹中工務店
水硬性組成物
1か月前
株式会社竹中工務店
跳ね出し架構
1か月前
株式会社竹中工務店
煙突改修方法
1か月前
株式会社竹中工務店
帯状木質材巻付体
1か月前
株式会社竹中工務店
排水処理システム
1日前
株式会社竹中工務店
配管ユニット構造
29日前
株式会社竹中工務店
水素供給システム
10日前
株式会社竹中工務店
塗装方法及び積層材料
8日前
株式会社竹中工務店
ラチス構造材の補強構造
17日前
株式会社竹中工務店
水平打ち継ぎ部補強構造
1日前
株式会社竹中工務店
荷重支持構造及び荷重支持方法
1か月前
株式会社竹中工務店
人流推定装置及び人流推定方法
1か月前
株式会社竹中工務店
天井構造及び天井構造の固定方法
16日前
株式会社竹中工務店
被覆基材及び被覆基材の製造方法
8日前
株式会社竹中工務店
場所打ちコンクリート杭の施工方法
1か月前
株式会社竹中工務店
構真柱の施工方法、及び構真柱の支持構造
16日前
株式会社竹中工務店
制御装置、制御方法、及び制御プログラム
2日前
株式会社竹中工務店
ノイズ除去方法及びノイズ除去プログラム
1か月前
株式会社竹中工務店
鉄筋コンクリート躯体と鉄骨柱との接合構造
1か月前
株式会社竹中工務店
CaCO3量推定方法及び炭酸化度判定方法
1日前
株式会社竹中工務店
ジオポリマー組成物及びジオポリマー硬化体
1か月前
株式会社竹中工務店
パラメータ探索装置及びパラメータ探索方法
1日前
株式会社竹中工務店
輝度分布推定装置及び輝度分布推定プログラム
1か月前
株式会社竹中工務店
水硬性組成物及び水硬性組成物硬化体の製造方法
1か月前
株式会社竹中工務店
信号処理装置、信号処理方法、及び信号処理プログラム
9日前
株式会社竹中工務店
熱中症リスク評価支援装置及び熱中症リスク評価支援プログラム
1か月前
日本製鉄株式会社
セメント硬化体補強用鋼繊維及びセメント組成物
1か月前
株式会社竹中工務店
地盤改良用セメントスラリー組成物及びソイルセメントスラリーの調製方法
1か月前
株式会社竹中工務店
木質柱仕口部材接合構造、プレキャスト仕口部材の施工方法、及びプレキャスト仕口部材
1か月前
続きを見る
他の特許を見る