TOP
|
特許
|
意匠
|
商標
特許ウォッチ
Twitter
他の特許を見る
公開番号
2025163600
公報種別
公開特許公報(A)
公開日
2025-10-29
出願番号
2024067030
出願日
2024-04-17
発明の名称
荷重支持構造及び荷重支持方法
出願人
株式会社竹中工務店
代理人
弁理士法人太陽国際特許事務所
主分類
E02D
29/05 20060101AFI20251022BHJP(水工;基礎;土砂の移送)
要約
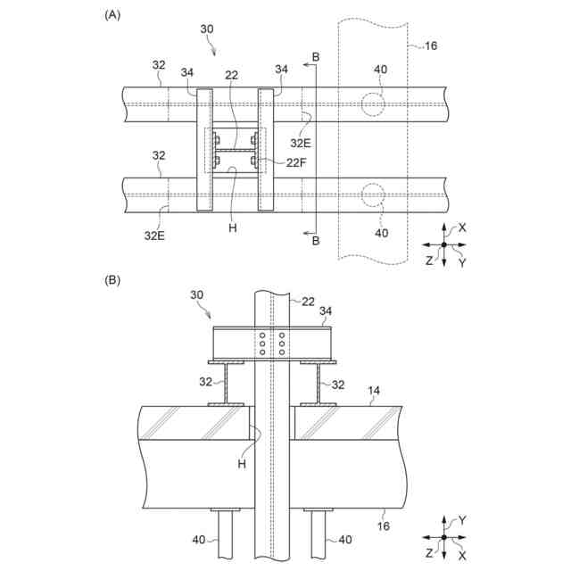
【課題】建物の工事を進行し易くする。
【解決手段】荷重支持構造は、作業用の構台20を支える支柱22と、構台20より下方の梁又はスラブ14Bに設置され、支柱22に作用する荷重をスラブ14Bへ移し替える仮設受け部材30と、スラブ14Bを支持する仮設サポート40と、を有する。
【選択図】図5
特許請求の範囲
【請求項1】
作業用の構台を支える支柱と、
前記構台より下方の梁又はスラブに設置され、前記支柱に作用する荷重を前記梁又はスラブへ移し替える仮設受け部材と、
前記梁又はスラブを支持する仮設サポートと、
を有する荷重支持構造。
続きを表示(約 540 文字)
【請求項2】
前記仮設受け部材は、前記梁又はスラブの上方において前記梁又はスラブを支持する梁に架け渡され、前記仮設サポートは、前記梁又はスラブの下方に配置されて前記梁又はスラブを支持する、
請求項1に記載の荷重支持構造。
【請求項3】
前記仮設受け部材は、
前記梁又はスラブの上方において前記支柱の両側へ配置される一対の受け梁と、
前記一対の受け梁に架け渡されて配置され、両側から前記支柱に固定される一対の固定部材と、
を備えた請求項1又は2に記載の荷重支持構造。
【請求項4】
作業用の構台より下方の梁又はスラブに仮設受け部材を配置して、前記構台を支える支柱に作用する荷重を前記梁又はスラブへ移し替える工程と、
前記梁又はスラブを支持する仮設サポートを配置する工程と、
前記支柱において前記仮設受け部材より下にある部分を切断する工程と、
を備えた荷重支持方法。
【請求項5】
前記仮設受け部材の設置及び前記支柱の切断後、前記支柱において切断された下側部分を、前記仮設受け部材が設置された階の直下階から下方の階に向かって順次切断する、
請求項4に記載の荷重支持方法。
発明の詳細な説明
【技術分野】
【0001】
本発明は、荷重支持構造及び荷重支持方法に関する。
続きを表示(約 1,200 文字)
【背景技術】
【0002】
下記特許文献1には、地下階の上方の階から下方の階へ吊り柱を順次つぎ足しながら根切りして、その後、吊り柱を、下方の階から上方の階へ順次撤去する地下逆打ち工法が記載されている。この吊り柱は、一階床梁に吊り下げ支持され、一階床梁は構真柱に支持されている。
【先行技術文献】
【特許文献】
【0003】
特開2003-34939号公報
【発明の概要】
【発明が解決しようとする課題】
【0004】
上記特許文献1の吊り柱は、上方の荷重を支持する必要がない。一方で、例えば構台支柱のように、上方の荷重を支持しつつ、建築工事の進行に伴って撤去される柱もある。しかしながら、このような柱の撤去前には、柱そのものが存置していること、柱が貫通している仮設開口がスラブにあること、等により、建物の設備工事や仕上げ工事が進行できない状況となる。
【0005】
本発明は、上記事実を考慮し、建物の工事を進行し易くできる荷重支持構造及び荷重支持方法を提供することを目的とする。
【課題を解決するための手段】
【0006】
請求項1の荷重支持構造は、作業用の構台を支える支柱と、前記構台より下方の梁又はスラブに設置され、前記支柱に作用する荷重を前記梁又はスラブへ移し替える仮設受け部材と、前記梁又はスラブを支持する仮設サポートと、を有する。
【0007】
請求項1の荷重支持構造では、構台より下方の梁又はスラブに仮設受け部材を設置して、支柱に作用する荷重を梁又はスラブへ移し替える。このため、支柱において梁又はスラブより下にある部分を切断できる。これにより、例えば支柱が挿通されているスラブ(仮設受け部材を設置したスラブより下方のスラブ)の貫通孔を塞ぐことができる。したがって、支柱に作用する荷重を移し替えない場合と比較して、仕上げ工事等の工事を進行し易くできる。
【0008】
また、梁又はスラブを仮設サポートで支持することで、構台に重機が乗り入れても、構台を支持できる。
【0009】
請求項2の荷重支持構造は、請求項1に記載の荷重支持構造において、前記仮設受け部材は、前記梁又はスラブの上方において前記梁又はスラブを支持する梁又はスラブに架け渡され、前記仮設サポートは、前記梁の下方に配置されて前記梁又はスラブを支持する。
【0010】
請求項2の荷重支持構造では、支柱に作用する荷重が、仮設受け部材及び梁又はスラブを介して仮設サポートによって支持される。このため、仮設サポートの位置を、梁又はスラブの下方において移動できる。これにより、梁又はスラブの下方の空間の工事を進行し易い。
(【0011】以降は省略されています)
この特許をJ-PlatPat(特許庁公式サイト)で参照する
関連特許
株式会社竹中工務店
複合壁
12日前
株式会社竹中工務店
構造物
14日前
株式会社竹中工務店
免震構造
26日前
株式会社竹中工務店
建物構造
15日前
株式会社竹中工務店
免震建物
20日前
株式会社竹中工務店
立体架構
1か月前
株式会社竹中工務店
建物構造
1か月前
株式会社竹中工務店
煙突改修方法
15日前
株式会社竹中工務店
水硬性組成物
1か月前
株式会社竹中工務店
跳ね出し架構
1か月前
株式会社竹中工務店
発電システム
5日前
株式会社竹中工務店
配管ユニット構造
12日前
株式会社竹中工務店
構造物の施工方法
1か月前
株式会社竹中工務店
帯状木質材巻付体
22日前
株式会社竹中工務店
冷温水供給システム
1か月前
株式会社竹中工務店
ラチス構造材の補強構造
今日
株式会社竹中工務店
荷重支持構造及び荷重支持方法
21日前
株式会社竹中工務店
人流推定装置及び人流推定方法
23日前
株式会社竹中工務店
コンクリート製の床材の施工方法
1か月前
株式会社竹中工務店
場所打ちコンクリート杭の施工方法
26日前
株式会社竹中工務店
ノイズ除去方法及びノイズ除去プログラム
28日前
株式会社竹中工務店
鉄筋コンクリート躯体と鉄骨柱との接合構造
1か月前
株式会社竹中工務店
ジオポリマー組成物及びジオポリマー硬化体
21日前
株式会社竹中工務店
輝度分布推定装置及び輝度分布推定プログラム
28日前
株式会社竹中工務店
水硬性組成物及び水硬性組成物硬化体の製造方法
1か月前
株式会社竹中工務店
熱中症リスク評価支援装置及び熱中症リスク評価支援プログラム
20日前
日本製鉄株式会社
セメント硬化体補強用鋼繊維及びセメント組成物
28日前
株式会社竹中工務店
地盤改良用セメントスラリー組成物及びソイルセメントスラリーの調製方法
1か月前
株式会社竹中工務店
木質柱仕口部材接合構造、プレキャスト仕口部材の施工方法、及びプレキャスト仕口部材
26日前
個人
バケット
20日前
個人
建物の不同沈下の修正方法
27日前
鹿島建設株式会社
接続方法
今日
千代田工営株式会社
回転貫入杭
1か月前
株式会社大林組
操縦装置
23日前
株式会社富田製作所
継手部構造
20日前
日立建機株式会社
建設機械
13日前
続きを見る
他の特許を見る