TOP
|
特許
|
意匠
|
商標
特許ウォッチ
Twitter
他の特許を見る
10個以上の画像は省略されています。
公開番号
2025161191
公報種別
公開特許公報(A)
公開日
2025-10-24
出願番号
2024064173
出願日
2024-04-11
発明の名称
免震構造
出願人
株式会社竹中工務店
代理人
弁理士法人太陽国際特許事務所
主分類
E04H
9/02 20060101AFI20251017BHJP(建築物)
要約
【課題】構造体の変位に対して小さい変形の支承部材で振動を減衰できる免震構造を提供する。
【解決手段】免震構造は、構造体(上部構造体14)を支持する柱16と、柱16の一方の端部に設けられ、構造設計上のピン接合である回転支持部16Aと、柱16の他方の端面に柱16の中心線CLの回りに対称に配置され、圧縮剛性が引張り剛性より大きい弾性又は粘弾性の支承部材24と、を備える。
【選択図】図1
特許請求の範囲
【請求項1】
構造体を支持する柱と、
前記柱の一方の端部に設けられ、構造設計上のピン接合である回転支持部と、
前記柱の他方の端面に前記柱の中心線の回りに対称に配置 され、圧縮剛性が引張り剛性より大きい弾性又は粘弾性の支承部材と、
を備えた免震構造。
続きを表示(約 380 文字)
【請求項2】
前記柱の前記支承部材が設置される側の端部が前記回転支持部より拡幅して形成されている、
請求項1に記載の免震構造。
【請求項3】
前記構造体が変位した際に、復元力を付与する復元材を備えた、
請求項1又は2に記載の免震構造。
【請求項4】
前記復元材は、前記構造体が上方へ変位した際に引張られて復元力を付与するケーブルである、
請求項3に記載の免震構造。
【請求項5】
前記復元材は、前記構造体が横方向へ変位した際にせん断変形して復元力を付与する弾性又は粘弾性の復元材である、
請求項3に記載の免震構造。
【請求項6】
前記支承部材は、前記柱の中心から外側へ向かう方向において下側へ傾斜して配置されている、
請求項1に記載の免震構造。
発明の詳細な説明
【技術分野】
【0001】
本発明は、免震構造に関する。
続きを表示(約 1,200 文字)
【背景技術】
【0002】
下記特許文献1には、免震層に免震装置及びダンパーを設置した建物が示されている。
【先行技術文献】
【特許文献】
【0003】
特開2011-137309号公報
【発明の概要】
【発明が解決しようとする課題】
【0004】
上記特許文献1に示されたように、免震構造の建物では、免震層に変位を集中させて他の層間の相対変位を抑制することがある。また、振動を減衰させるために、免震層にはダンパーなどの減衰材を設ける場合もある。このとき、免震装置を構成する支承部材は、建物等の構造体の荷重を支持しつつ、構造体の変位と等しい量だけせん断変形する必要がある。同様に、構造体の変位と等しい量だけ減衰材も変形する必要がある。このため、免震装置や減衰材には、構造体の変位に応じた大きな変形能力が求められる。
【0005】
本発明は、上記事実を考慮し、構造体の変位に対して小さい変形の支承部材で振動を減衰できる免震構造を提供することを目的とする。
【課題を解決するための手段】
【0006】
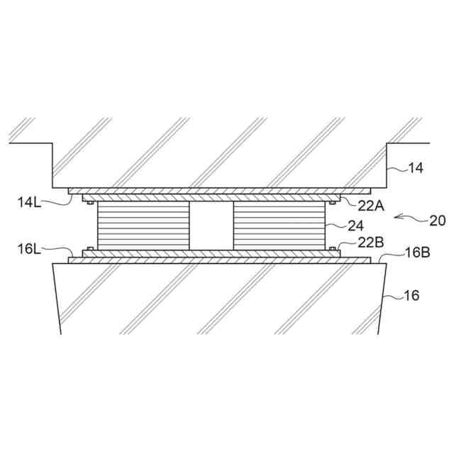
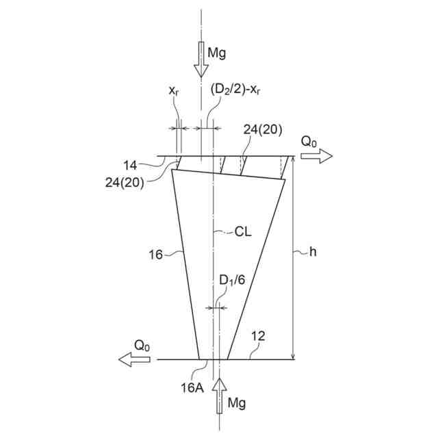
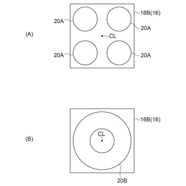
請求項1の免震構造は、構造体を支持する柱と、前記柱の一方の端部に設けられ、構造設計上のピン接合である回転支持部と、前記柱の他方の端面に前記柱の中心線の回りに対称に配置され、圧縮剛性が引張り剛性より大きい弾性又は粘弾性の支承部材と、を備える。
【0007】
請求項1の免震構造では、柱に支持された構造体に、例えば地震時に右方向へ水平力が作用すると、その力が小さいときは支承部材が右側へせん断変形すると共に、構造体を左側に戻そうとする復元力を生じる。一方、水平力が大きくなると一方の端部に設けられた回転支持部が回転し始め、柱は右側へ傾斜する。
【0008】
これにより、柱の他方の端面に設けられた支承部材は、柱の中心線より左側及び右側の一方側に構造体の荷重が作用して圧縮され、柱には右側へ傾斜した姿勢を元に戻そうとする復元力が作用する。このとき、支承部材は右側へせん断変形し、支承部材には、柱に作用する復元力と同じ大きさのせん断力が生じる。
【0009】
このように、柱が傾斜するまでは支承部材の復元力で、柱が傾斜してからは柱の傾斜に伴う重力復元で姿勢を戻す構成とすることで、地震力に対する構造体の水平変位量を、柱の傾斜によって吸収できる。これにより、せん断変形量の小さい(せん断剛性の大きい)支承部材で免震構造を構築できる。すなわち、構造体の変位に対して少ない変形の支承部材で振動を減衰できる。
【0010】
請求項2の免震構造は、請求項1に記載の免震構造において、前記柱の前記支承部材が設置される側の端部が前記回転支持部より拡幅して形成されている。
(【0011】以降は省略されています)
この特許をJ-PlatPat(特許庁公式サイト)で参照する
関連特許
個人
免震建築構造
3日前
株式会社フジタ
合成床
3日前
三協立山株式会社
構造体
1か月前
三協立山株式会社
構造体
26日前
鹿島建設株式会社
補強構造
3日前
岡部株式会社
柱梁接合構造
18日前
ミサワホーム株式会社
住宅
1か月前
ミサワホーム株式会社
玄関
1か月前
日精株式会社
機械式駐車装置
1か月前
株式会社タカショー
塀
1か月前
株式会社タカショー
塀
1か月前
株式会社 シコク
手摺り装置
1か月前
極東開発工業株式会社
駐車装置
1か月前
積水ハウス株式会社
建築物
19日前
理研軽金属工業株式会社
庇
19日前
個人
木造建築物の建築方法
24日前
積水ハウス株式会社
建築物
10日前
理研軽金属工業株式会社
庇
11日前
株式会社大林組
スロープ構造
1か月前
個人
構造体および構造体の構築方法
3日前
三協立山株式会社
フェンスの製造方法
3日前
株式会社カナイ
接合金物
24日前
ミサワホーム株式会社
住宅の外構構造
1か月前
株式会社大林組
梁筋の配筋方法
1か月前
アイリスチトセ株式会社
ブース
26日前
株式会社大林組
災害時支援装置
1か月前
個人
自動車本体及びホイールの盗難防止装置
1か月前
積水ハウス株式会社
柱及び建築物
10日前
株式会社大林組
大梁胴縁接続構造
1か月前
清水建設株式会社
パネル枠
18日前
JFEシビル株式会社
柱梁接合部の構造
3日前
理研軽金属工業株式会社
パネル構造
11日前
岐阜プラスチック工業株式会社
床材
24日前
株式会社タカショー
支柱の支持構造
24日前
理研軽金属工業株式会社
屋根構造体
11日前
大和ハウス工業株式会社
座屈拘束ブレース
1か月前
続きを見る
他の特許を見る