TOP
|
特許
|
意匠
|
商標
特許ウォッチ
Twitter
他の特許を見る
公開番号
2025169745
公報種別
公開特許公報(A)
公開日
2025-11-14
出願番号
2024074793
出願日
2024-05-02
発明の名称
接合金物
出願人
株式会社カナイ
代理人
個人
,
個人
,
個人
主分類
E04B
1/58 20060101AFI20251107BHJP(建築物)
要約
【課題】施工効率が高く、構造材どうしを強固に接合することができる接合金物を提供する。
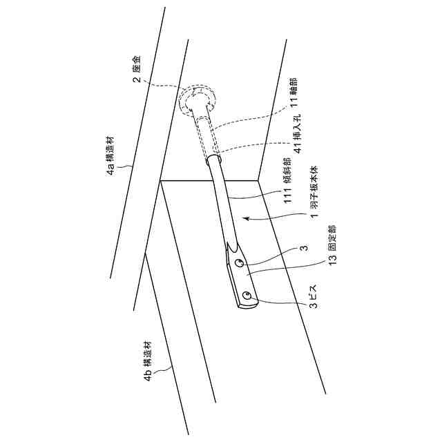
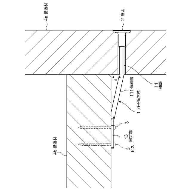
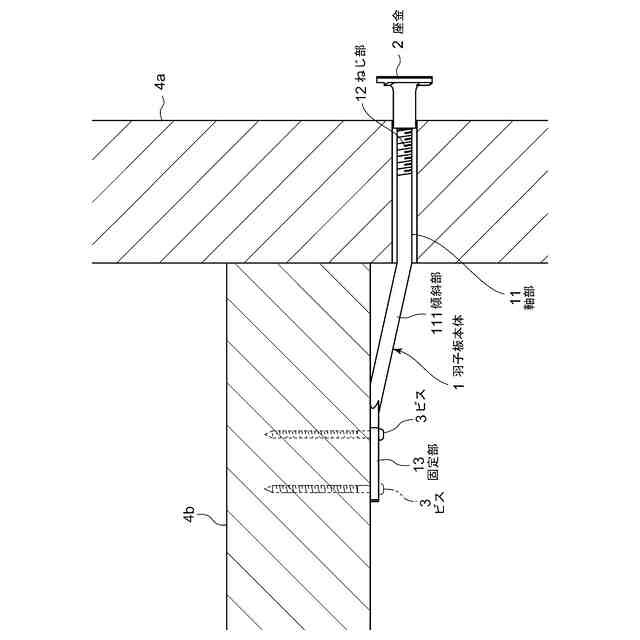
【解決手段】一方の構造材と、前記一方の構造材と垂直に接合する他方の構造材と、を接合する接合金物であって、前記接合金物は、羽子板本体と、前記羽子板本体の一方の端部に係合する座金と、からなり、前記羽子板本体は、前記一方の構造材に、前記他方の構造材の長さ方向と平行に設けた挿通孔に挿通する棒状の軸部と、前記軸部の一方の端部に形成し、前記座金と係合するボルト部と、前記軸部の他方の端部をプレス加工し、前記挿通孔に挿通可能であり、前記軸部の軸と略平行に形成し、前記他方の構造材の側面にビスにより固定する、平板状の固定部と、からなり、前記座金は、前記一方の構造材の、前記他方の構造材の接合面と対向する面の前記挿通孔の入口に嵌合する。
【選択図】図1
特許請求の範囲
【請求項1】
一方の構造材と、前記一方の構造材と垂直に接合する他方の構造材と、を接合する接合金物であって、
前記接合金物は、羽子板本体と、前記羽子板本体の一方の端部に係合する座金と、からなり、
前記羽子板本体は、
前記一方の構造材に、前記他方の構造材の長さ方向と平行に設けた挿通孔に挿通する棒状の軸部と、
前記軸部の一方の端部に形成し、前記座金と係合するボルト部と、
前記軸部の他方の端部をプレス加工し、前記挿通孔に挿通可能であり、前記軸部の軸と略平行に形成し、前記他方の構造材の側面にビスにより固定する、平板状の固定部と、からなり、
前記座金は、前記一方の構造材の、前記他方の構造材の接合面と対向する面の前記挿通孔の入口に嵌合することを特徴とする、接合金物。
続きを表示(約 140 文字)
【請求項2】
前記座金は、前記ボルト部に螺合する座付きナットであることを特徴とする、
請求項1に記載の接合金物。
【請求項3】
前記ボルト部には、前記一方の端部から所定の位置の周方向に亘って溝を形成することを特徴とする、
請求項2に記載の接合金物。
発明の詳細な説明
【技術分野】
【0001】
本発明は、木造住宅において、構造材を接合する接合金物に関するものである。
続きを表示(約 1,800 文字)
【背景技術】
【0002】
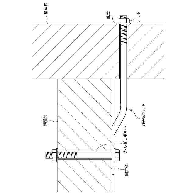
木造住宅において、交差する2本の構造材を接合する金物として、羽子板ボルトが知られている。
従来の羽子板ボルトは、ボルト軸の頭部に固定板を取り付けたものであり、端部のボルトを一方の構造材に挿通し、固定板側に他方の構造材に挿通したボルト(かんざしボルト)及びナットを介して該他方の構造材に固定板を固定し、端部のボルトに座金およびナットを取り付けて、ナットを締め付けることにより、2本の構造材を引きつけて接合する(図7)。
【0003】
従来の羽子板ボルトは、端部のボルトを一方の構造材に挿通してボルトを突出させてから、固定板側をかんざしボルト及びナットで固定すると共に、突出させたボルトに座金およびナットを取り付けるため、部品点数も多く、施工効率が低かった。
このため、従来の羽子板ボルトを改良し、施工効率を高めた羽子板ボルトとして、特許文献1の羽子板ボルトがある。
【0004】
特許文献1に記載の羽子板ボルトは固定部にビス孔を形成し、ビスにより一方の構造材に固定するため、かんざしボルトおよびかんざしボルト用の孔の施工が不要であり、固定する位置が自由に選択でき、施工効率が高い。また、軸部の端部側は座金に代えて、プレス加工により平板状の座金部を一体に形成する。このため、部品点数が少なく、施工効率が高い。
【先行技術文献】
【特許文献】
【0005】
特開2018-87414号公報
【発明の概要】
【発明が解決しようとする課題】
【0006】
特許文献1に記載の羽子板ボルトは、座金部を一体に形成するため、施工時には座金部を一方の構造材に係止して引き寄せた状態で固定部をビスにより固定する必要がある。このとき、引き寄せが不十分な場合には、構造材どうしの接合力が弱くなってしまう。
また、かんざしボルト用の孔は不要だが、座金部を収めるための座掘りが必要となる。
【0007】
本発明は、施工効率が高く、構造材どうしを強固に接合することができる接合金物を提供することを目的とする。
【課題を解決するための手段】
【0008】
上記目的を達成するためになされた本願発明の接合金物は、一方の構造材と、前記一方の構造材と垂直に接合する他方の構造材と、を接合する接合金物であって、前記接合金物は、羽子板本体と、前記羽子板本体の一方の端部に係合する座金と、からなり、前記羽子板本体は、前記一方の構造材に、前記他方の構造材の長さ方向と平行に設けた挿通孔に挿通する棒状の軸部と、前記軸部の一方の端部に形成し、前記座金と係合するボルト部と、前記軸部の他方の端部をプレス加工し、前記挿通孔に挿通可能であり、前記軸部の軸と略平行に形成し、前記他方の構造材の側面にビスにより固定する、平板状の固定部と、からなり、前記座金は、前記一方の構造材の、前記他方の構造材の接合面と対向する面の前記挿通孔の入口に嵌合することを特徴とする。
前記座金は、前記ボルト部に螺合する座付きナットであってもよい。
前記ボルト部には、前記一方の端部から所定の位置の周方向に亘って溝を形成してもよい。
【発明の効果】
【0009】
本発明は、上記した課題を解決するための手段により、次のような効果を得ることができる。
(1)従来の羽子板ボルトと異なり、かんざしボルトおよびかんざしボルト用の孔の施工が不要であり、固定する位置が自由に選択でき、施工効率が高い。
(2)座金を締め付けることで構造材どうしを引き寄せが不十分な場合には、構造材どうしの接合力が弱くなってしまう。
(3)座金を収めるための座掘りが不要であり、施工効率が高い。
【図面の簡単な説明】
【0010】
本発明の接合金物の斜視図
本発明の接合金物の使用状態の説明図(1)
本発明の接合金物の側面図
座付きナットの斜視図
本発明の接合金物の使用状態の説明図(2)
本発明の接合金物の使用状態の説明図(3)
従来の羽子板ボルトの説明図
【発明を実施するための形態】
(【0011】以降は省略されています)
この特許をJ-PlatPat(特許庁公式サイト)で参照する
関連特許
個人
免震建築構造
6日前
個人
住宅の省エネ方法
2日前
株式会社フジタ
合成床
6日前
岡部株式会社
柱梁接合構造
21日前
鹿島建設株式会社
補強構造
6日前
理研軽金属工業株式会社
庇
14日前
積水ハウス株式会社
建築物
22日前
積水ハウス株式会社
建築物
13日前
理研軽金属工業株式会社
庇
22日前
個人
構造体および構造体の構築方法
6日前
三協立山株式会社
フェンスの製造方法
6日前
清水建設株式会社
パネル枠
21日前
JFEシビル株式会社
柱梁接合部の構造
6日前
積水ハウス株式会社
柱及び建築物
13日前
理研軽金属工業株式会社
屋根構造体
14日前
理研軽金属工業株式会社
パネル構造
14日前
鹿島建設株式会社
コンクリートの充填監視方法
13日前
株式会社シェルタージャパン
中空棟構造
13日前
大成建設株式会社
防振床構造
13日前
清水建設株式会社
ガラスパネル構造
8日前
丸井産業株式会社
取付金具
21日前
旭化成ホームズ株式会社
建物
2日前
清水建設株式会社
構造物の施工方法
15日前
有限会社興国石材
墓及び骨壺又は遺灰の保護方法
15日前
個人
排水口用ドレン
7日前
東リ株式会社
樹脂床材
13日前
積水ハウス株式会社
建築物の壁および建築物
6日前
文化シヤッター株式会社
フレーム材および間仕切り
13日前
株式会社竹中工務店
梁構造
2日前
株式会社国元商会
仮設構造体組立て用連結金具
6日前
七王工業株式会社
建築用防音材およびその用途
2日前
株式会社ソーケン彩装
床構造およびその施工方法
21日前
株式会社竹中工務店
仕口部材
1日前
元旦ビューティ工業株式会社
屋根改修構造
7日前
清水建設株式会社
免震構造物
21日前
大和ハウス工業株式会社
建物の施工方法および建物構造
13日前
続きを見る
他の特許を見る