TOP
|
特許
|
意匠
|
商標
特許ウォッチ
Twitter
他の特許を見る
公開番号
2025174680
公報種別
公開特許公報(A)
公開日
2025-11-28
出願番号
2024081185
出願日
2024-05-17
発明の名称
中空棟構造
出願人
株式会社シェルタージャパン
代理人
個人
,
個人
主分類
E04D
1/30 20060101AFI20251120BHJP(建築物)
要約
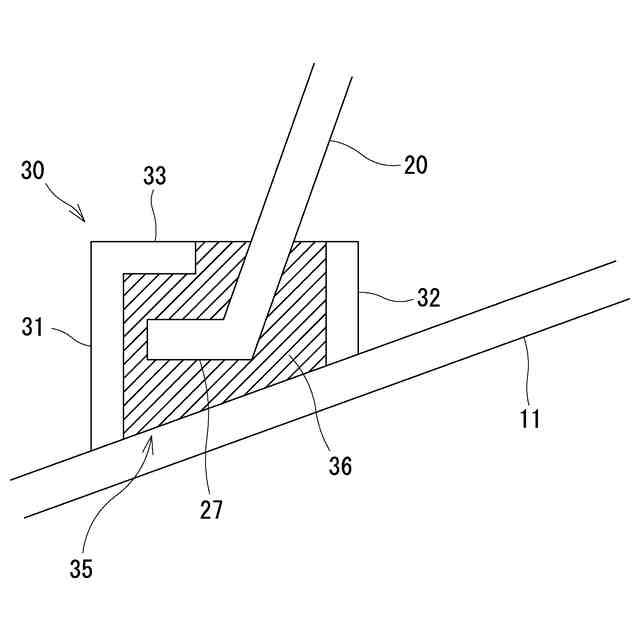
【課題】短期間に簡単に大棟に取り付けることができて、耐久性や耐震性能に優れた中空棟構造を提供する。
【解決手段】中空棟構造1は、屋根100の頂部101に設置され、支持部10、および棟本体20を有している。支持部10と棟本体20は連結部30を介して可撓連結されており、支持部10、棟本体20、及び連結部30は、協働して中空部50を画定している。さらに、中空部50への雨水の侵入を防止するために水切り板70が設けられている。水切り板70の一端は棟本体20の中間部に設けられる接続部25に着脱可能な状態で嵌合している。また、水切り板70の他端は屋根瓦105に接触している。支持部10は、一対の支持板11、11と、支持板11同士を回動可能に接続するヒンジ部15を有している。支持板11を回動して、支持板11同士のなす角度を調整することで、支持板11は調整板112に面接触する状態となっている。
【選択図】 図1
特許請求の範囲
【請求項1】
屋根の頂部に設置される中空棟構造であって、
野地板部の両傾斜面に沿って設置されるとともに、前記野地板部に固定される支持部と、
前記支持部から突設して設けられる棟本体と、
前記支持部と前記棟本体とを可撓連結する連結部と、を備え、
前記支持部は、一対の支持板と、一対の前記支持板を回動可能に接続するヒンジ部とを有し、
前記支持部、前記棟本体、および前記連結部は協働して中空部を画定することを特徴とする中空棟構造。
続きを表示(約 520 文字)
【請求項2】
前記支持板は、前記中空部の外部側に位置する打込み部が設けられ、
前記打込み部に固定具を打ち込むことで、前記支持板と前記野地板部は相互に固定されることを特徴とする請求項1に記載の中空棟構造。
【請求項3】
前記空間部への雨水の侵入を防止するための水切り板を備え、
前記水切り板は、一端が前記棟本体の中間部に設けられる接続部に嵌合し、他端が屋根瓦に接触することを特徴とする請求項1に記載の中空棟構造。
【請求項4】
前記接続部は、長手方向に延びる凹部が設けられ、前記凹部は、長手方向に延びる第1接続板と、前記第1接続板の下方に位置し前記第1接続板と平行な状態で長手方向に延びる第2接続板とによって画定され、
前記水切り板は、前記凹部に嵌入される嵌入部が設けられることを特徴とする請求項3に記載の中空棟構造。
【請求項5】
前記第1接続板と前記水切り板は、上面がほぼ面一の状態であることを特徴とする請求項4に記載の中空棟構造。
【請求項6】
前記棟本体の外面側は、棟瓦に似せた装飾が施されることを特徴とする請求項1に記載の中空棟構造。
発明の詳細な説明
【技術分野】
【0001】
本発明は、屋根の頂部に設置される中空棟構造に関する。
続きを表示(約 1,900 文字)
【背景技術】
【0002】
大棟に設置される棟構造については、屋根棟木の上側にある垂木の上に設置した野地板に、直接に練土を盛り、のし瓦を積み重ね、更に最上部に冠瓦を載置し、棟築土で固着し、棟築土の乾燥固化によりのし瓦及び冠瓦を相互に固定し築造していた。すなわち、完成した棟構造は、のし瓦及び冠瓦は釘止め等により固定さていない状態となっている。したがって、従来の棟構造は、台風や地震の振動に対して弱く、棟部の冠瓦や、のし瓦が棟築土から剥がれて脱落し、棟築土が崩壊する事例が数多くみられた。さらに、経年変化によって、棟築土が風化し、より一層の弱体化を招く結果となっていた。
【0003】
また、この築造方法では多量の棟築土を使用するので、大棟には常時、極めて大きな荷重が載荷される状態となる。その結果、地震の発生を契機として、家屋の倒壊が発生する事態も数多く確認されている。例えば、2024年1月1日に発生した能登半島地震では、多くの家屋が倒壊した。また、倒壊を免れた家屋についても、棟構造の破壊が数多く確認されている。
【0004】
地震などに起因して破損した棟構造を現状の通りに修復するには、数多くののし瓦や、冠瓦を調達する必要がある。しかし、このような材料は、現在、大量に生産されているものではなく、材料の調達に長期に渡る時間を要することとなる。また、仮に、これらの材料が早期に調達できたとしても、棟構造の修復は複雑な工程を経ることから、困難を極める。加えて、修復施工できる作業員が圧倒的に不足している。これらの事実を総合的に勘案すると、早期の修復は困難であると考えられる。
【0005】
特許文献1では、棟の軽量化により耐震性能を向上させ、構造面でジョイントを減らすことで防水性を高め、さらに棟瓦に緊急メッセージやライトアップ等の機能性を付与させた耐震棟が提案されている。耐震棟は、断面が中空であり、底部と側面を一体構造とした上部笠木部分を着脱自在に装着するとともに、取付構造体を介して屋根下地に直接に置かれた状態で、瓦に固定されている。
【0006】
特許文献2では、棟瓦の葺設の際に屋根勾配に関わらず確実、且つ容易に棟瓦を位置決めし、位置決めした状態で棟瓦を容易に屋根の棟に取付けることができ、棟瓦を取付けた状態において外観が美しくコストのかからない棟瓦の取付け構造が提案されている。棟瓦の取付け構造は、棟の上方を覆う棟瓦本体と、棟瓦本体の両側端部に設けた載置部とで構成されている。棟瓦本体の裏面の両側に略下方に突出する支持部が設けられている。両支持部を打入部よりも内方に配置する。両支持部の外側面に下に行く程内方に位置するように傾斜する当たり部が形成されている。棟瓦の両載置部を最上部の両屋根瓦に載置されると共に傾斜した両当たり部の任意の位置を両笠木の棟側の上角部に当接されている。棟瓦本体の打入部から打入した固着具は、両笠木に固着されている。
【先行技術文献】
【特許文献】
【0007】
特開2014-198981号公報
特開2004-150041号公報
【発明の概要】
【発明が解決しようとする課題】
【0008】
しかしながら、特許文献1で提案されている耐震棟は、屋根下地の勾配に合わせて、その都度の毎に取付構造体を作製する必要があり短期間に容易に製作できないと考えられる。また、屋根下地の施工誤差に対応できず、屋根下地と取付構造体との間に大きな隙間が生じる可能性がある。特許文献2で提案されている棟瓦の取付け構造は、固着具を、棟瓦本体の打入部から打入して、両笠木に固着するので、棟瓦本体の強度の弱体化が懸念される。また、打入部から雨水が侵入する虞も否定できない。
【0009】
本発明は、これらの問題点に着目してなされたものであり、短期間に簡単に大棟に取り付けることができて、耐久性や耐震性能に優れた中空棟構造を提供するものである。
【課題を解決するための手段】
【0010】
上記課題を解決するための発明は、屋根の頂部に設置される中空棟構造であって、野地板部の両傾斜面に沿って設置されるとともに、野地板部に固定される支持部と、支持部から突設して設けられる棟本体と、支持部と棟本体とを可撓連結する連結部と、を備え、支持部は一対の支持板と、一対の支持板を回動可能に接続するヒンジ部とを有し、支持部、棟本体、および連結部は協働して中空部を画定することを特徴とする。
(【0011】以降は省略されています)
この特許をJ-PlatPat(特許庁公式サイト)で参照する
関連特許
個人
接合構造
1か月前
個人
屋台
2か月前
個人
タッチミー
1か月前
個人
野良猫ハウス
2か月前
個人
安心補助てすり
1か月前
個人
転落防止用手摺
2か月前
個人
ベンリナアングル
1か月前
個人
居住車両用駐車場
3か月前
個人
筋交自動設定装置
2か月前
ニチハ株式会社
建築板
3か月前
積水樹脂株式会社
柵体
2か月前
個人
熱抵抗多層断熱建材
2か月前
個人
補強部材
2か月前
個人
防災建築物
1か月前
鹿島建設株式会社
壁体
3か月前
成友建設株式会社
建物
2か月前
株式会社シンケン
住宅
1か月前
個人
身体用シェルター
2か月前
個人
身体用シェルター
2か月前
イワブチ株式会社
組立柱
2か月前
株式会社熊谷組
床構成材
1か月前
三洋工業株式会社
床構造
1か月前
三協立山株式会社
構造体
23日前
三協立山株式会社
構造体
1か月前
個人
可搬型供養墓
2か月前
三協立山株式会社
構造体
2か月前
株式会社熊谷組
木質材料
2か月前
三協立山株式会社
構造体
2か月前
三協立山株式会社
構造体
2か月前
三協立山株式会社
構造体
18日前
株式会社熊谷組
吊り治具
1か月前
三協立山株式会社
構造体
2か月前
三協立山株式会社
構造体
2か月前
株式会社大林組
接合構造
1か月前
三協立山株式会社
構造体
2か月前
岡部株式会社
柱梁接合構造
10日前
続きを見る
他の特許を見る