TOP
|
特許
|
意匠
|
商標
特許ウォッチ
Twitter
他の特許を見る
公開番号
2025172283
公報種別
公開特許公報(A)
公開日
2025-11-26
出願番号
2024077653
出願日
2024-05-13
発明の名称
墓及び骨壺又は遺灰の保護方法
出願人
有限会社興国石材
代理人
個人
主分類
E04H
13/00 20060101AFI20251118BHJP(建築物)
要約
【課題】
本発明の目的は、骨壺又は遺灰の保護を図った墓及び骨壺又は遺灰の保護方法を提供するものである。
【解決手段】
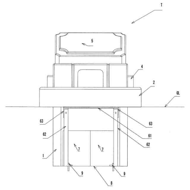
墓は、石棺カロートを備えた墓であって、前記石棺カロート内に設置され、金属製のプレートと、このプレートを支える支持部材とを備えた保護部材とを備え、前記保護部材の前記プレートの下方に骨壺又は遺灰が位置しているものである。
【選択図】図2
特許請求の範囲
【請求項1】
石棺カロートを備えた墓であって、
前記石棺カロート内に設置され、金属製のプレートと、このプレートを支える支持部材とを備えた保護部材とを備え、
前記保護部材の前記プレートの下方に骨壺又は遺灰が位置している
ことを特徴とする墓。
続きを表示(約 580 文字)
【請求項2】
石棺カロートを備えた墓であって、
前記石棺カロート内に設置され、金属製のプレートと、このプレートを支える支持部材とを備えた保護部材とを備え、
前記保護部材の前記プレートの下方に骨壺又は遺灰が位置し、
前記支持部材は、前記石棺カロート内の設置面に対してアンカーボルトで固定されている
ことを特徴とする墓。
【請求項3】
石棺カロートには、外気に通じる換気口が設けられ、
平面視、プレートの外周と前記石棺カロートの内壁との間に隙間が形成されている
ことを特徴とする請求項1又は請求項2記載の墓。
【請求項4】
石棺カロート内の設置面に置かれた骨壺又は遺灰の上方に設けた保護部材による
骨壺又は遺灰の保護方法であって、
前記保護部材は、金属製のプレートと、このプレートを支える支持部材とを備えものであり、前記保護部材の前記プレートの下方に前記骨壺又は前記遺灰が位置している
ことを特徴とする骨壺又は遺灰の保護方法。
【請求項5】
プレートは、四角形状であり、
支持部材は、少なくとも、4つの支持部材か、又は、二つの四角形状の支持プレートである
ことを特徴とする請求項4記載の骨壺又は遺灰の保護方法。
発明の詳細な説明
【技術分野】
【0001】
本発明は、墓及び骨壺又は遺灰の保護方法に係り、特に、骨壺又は遺灰の保護を図った墓及び骨壺又は遺灰の保護方法に関する。
続きを表示(約 1,000 文字)
【背景技術】
【0002】
従来、例えば、石棺カロートの上方に、芝台と、中台と、竿石とを積み重ね、前記中台の前方に水鉢を備えた墓がある(特許文献1参照)。
【先行技術文献】
【特許文献】
【0003】
特開2017-145562号公報
【発明の概要】
【発明が解決しようとする課題】
【0004】
ところが、上記墓にあっては、地震等により、石棺カロート内の骨壺が損傷を受けるという問題点が生じた。
【0005】
本発明は、前記問題点を考慮してなされた墓及び骨壺又は遺灰の保護方法を提供することを目的とする。
【課題を解決するための手段】
【0006】
請求項1記載の墓は、石棺カロートを備えた墓であって、前記石棺カロート内に設置され、金属製のプレートと、このプレートを支える支持部材とを備えた保護部材とを備え、前記保護部材の前記プレートの下方に骨壺又は遺灰が位置しているものである。
【0007】
また、請求項2記載の墓は、石棺カロートを備えた墓であって、前記石棺カロート内に設置され、金属製のプレートと、このプレートを支える支持部材とを備えた保護部材とを備え、前記保護部材の前記プレートの下方に骨壺又は遺灰が位置し、前記支持部材は、前記石棺カロート内の設置面に対してアンカーボルトで固定されているものである。
【0008】
また、請求項3記載の墓は、請求項1又は請求項2記載の墓において、石棺カロートには、外気に通じる換気口が設けられ、平面視、プレートの外周と前記石棺カロートの内壁との間に隙間が形成されているものである。
【0009】
また、請求項4記載の骨壺又は遺灰の保護方法は、石棺カロート内の設置面に置かれた骨壺又は遺灰の上方に設けた保護部材による骨壺又は遺灰の保護方法であって、前記保護部材は、金属製のプレートと、このプレートを支える支持部材とを備えものであり、前記保護部材の前記プレートの下方に前記骨壺又は前記遺灰が位置しているものである。
【0010】
また、請求項5記載の骨壺又は遺灰の保護方法は、請求項4記載の骨壺又は遺灰の保護方法において、プレートは、四角形状であり、支持部材は、少なくとも、4つの支持部材か、又は、二つの四角形状の支持プレートである。
【発明の効果】
(【0011】以降は省略されています)
この特許をJ-PlatPat(特許庁公式サイト)で参照する
関連特許
有限会社興国石材
墓及び骨壺又は遺灰の保護方法
16日前
個人
接合構造
2か月前
個人
屋台
2か月前
個人
タッチミー
2か月前
個人
野良猫ハウス
3か月前
個人
転落防止用手摺
3か月前
個人
安心補助てすり
1か月前
個人
ベンリナアングル
2か月前
個人
居住車両用駐車場
3か月前
ニチハ株式会社
建築板
3か月前
積水樹脂株式会社
柵体
3か月前
個人
筋交自動設定装置
2か月前
個人
免震建築構造
7日前
個人
熱抵抗多層断熱建材
3か月前
個人
補強部材
3か月前
個人
身体用シェルター
2か月前
個人
防災建築物
1か月前
個人
身体用シェルター
2か月前
個人
住宅の省エネ方法
3日前
成友建設株式会社
建物
3か月前
株式会社フジタ
合成床
7日前
株式会社シンケン
住宅
1か月前
鹿島建設株式会社
壁体
3か月前
三協立山株式会社
構造体
2か月前
三協立山株式会社
構造体
2か月前
個人
可搬型供養墓
2か月前
株式会社大林組
接合構造
1か月前
三協立山株式会社
構造体
2か月前
三協立山株式会社
構造体
2か月前
三協立山株式会社
構造体
2か月前
三協立山株式会社
構造体
2か月前
株式会社熊谷組
吊り治具
2か月前
三協立山株式会社
構造体
1か月前
三協立山株式会社
構造体
1か月前
三洋工業株式会社
床構造
1か月前
イワブチ株式会社
組立柱
3か月前
続きを見る
他の特許を見る