TOP
|
特許
|
意匠
|
商標
特許ウォッチ
Twitter
他の特許を見る
10個以上の画像は省略されています。
公開番号
2025173192
公報種別
公開特許公報(A)
公開日
2025-11-27
出願番号
2024078655
出願日
2024-05-14
発明の名称
屋根構造体
出願人
理研軽金属工業株式会社
代理人
個人
,
個人
主分類
E04B
7/14 20060101AFI20251119BHJP(建築物)
要約
【課題】清掃などの雨樋のメンテナンス作業が実施しやすい屋根構造体を提供する。
【解決手段】梁70に吊り支持された屋根構造体10であって、一方の端部が低くなるように傾斜した屋根本体11と、前記屋根本体11の下面11aに取り付けられる横樋ブラケット30と、前記横樋ブラケット30を介して前記屋根本体11に取り外し可能に取り付けられた横樋32と、を備える。
【選択図】図1
特許請求の範囲
【請求項1】
梁に吊り支持された屋根構造体であって、
一方の端部が低くなるように傾斜した屋根本体と、
前記屋根本体の下面に取り付けられる横樋ブラケットと、
前記横樋ブラケットを介して前記屋根本体に取り外し可能に取り付けられた横樋と、
を備える、
屋根構造体。
続きを表示(約 770 文字)
【請求項2】
前記屋根本体は、複数の屋根材を所定方向に並べて互いに接合して形成されており、
隣り合う前記屋根材は、一方に設けられた第1接合部と他方に設けられた第2接合部との係合によって互いに接合されており、
前記屋根材の長手方向の端部に前記横樋が取り付けられている、
請求項1に記載の屋根構造体。
【請求項3】
前記横樋ブラケットは、前記屋根本体の平坦な下面に取り付けられる、
請求項1に記載の屋根構造体。
【請求項4】
前記横樋ブラケットは、ブラケット取付手段によって前記屋根本体の下面に取り付けられ、
前記横樋は、前記ブラケット取付手段を下方から覆うように取り付けられる、
請求項1に記載の屋根構造体。
【請求項5】
前記横樋は、曲げ板材からなる、
請求項1に記載の屋根構造体。
【請求項6】
前記横樋ブラケットは、前記屋根本体の下面に当接して取り付けられる屋根取付部と、前記屋根取付部の両側に設けられて前記横樋の側壁部に固定される横樋取付部と、を備える、
請求項1に記載の屋根構造体。
【請求項7】
前記屋根取付部は、屋根勾配に沿って傾斜している、
請求項6に記載の屋根構造体。
【請求項8】
前記屋根本体の端部に取り付けられる先端部材を備え、
前記先端部材は、前記屋根本体よりも下方に突出しており、
前記横樋ブラケットは、前記先端部材との干渉を避けるための段差部を備える、
請求項1に記載の屋根構造体。
【請求項9】
前記横樋ブラケットは、前記横樋の樋形状の内部に配置されている、
請求項1に記載の屋根構造体。
発明の詳細な説明
【技術分野】
【0001】
この発明は、梁の下方に取り付けられる屋根構造体に関し、特に、横樋を備えた屋根構造体に関する。
続きを表示(約 1,600 文字)
【背景技術】
【0002】
特許文献1には、前後一対の支持枠と、一対の支持枠間に掛け渡した左右一対の側枠とで骨組みを構成した簡易屋根において、各支持枠は、断面方向において、中空に形成された枠本体と枠本体に連なり中空に形成された支持部とを備え、各側枠は、その各端部を支持部に載置した状態でこれに取り付けられた構造が開示されている。後枠は、断面方向において、略円形中空状の後枠本体と、後枠本体の前側に位置する「U」字状の雨樋部と、雨樋部の前側に位置する方形中空状の中空支持部とで、一体に形成されている。
【先行技術文献】
【特許文献】
【0003】
特開平09-67856号公報
【発明の概要】
【発明が解決しようとする課題】
【0004】
特許文献1に記載したような構造では、枠と雨樋が一体に形成されているため、清掃などの雨樋のメンテナンス作業が実施しにくいという問題があった。
そこで、本開示は、清掃などの雨樋のメンテナンス作業が実施しやすい屋根構造体を提供することを目的とする。
【課題を解決するための手段】
【0005】
本開示の一態様に係る屋根構造体は、梁に吊り支持された屋根構造体であって、一方の端部が低くなるように傾斜した屋根本体と、前記屋根本体の下面に取り付けられる横樋ブラケットと、前記横樋ブラケットを介して前記屋根本体に取り外し可能に取り付けられた横樋と、を備える。
【発明の効果】
【0006】
本開示によれば、横樋が取り外し可能に取り付けられているため、清掃などの雨樋のメンテナンスを行う際に横樋を取り外して作業が行うことができるので、作業がしやすい。
【図面の簡単な説明】
【0007】
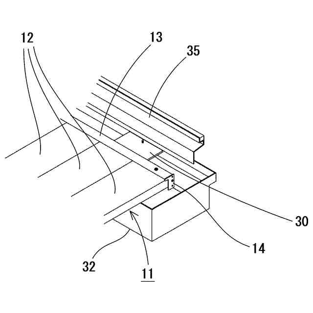
屋根構造体の側面図である。
屋根本体の斜視図である。
屋根構造体の分解斜視図である。
(a)屋根材の正面図、(b)屋根材を係合させる途中の係合箇所の部分拡大図、(c)屋根材を係合させた状態の係合箇所の部分拡大図である。
屋根構造体の施工例を示す図である。
横樋部分の拡大図である。
横樋部分を拡大分解図である。
横樋部分の拡大斜視図である。
梁と屋根材の向きを平面視で直交させた屋根構造体の斜視図である。
梁と屋根材の向きを平面視で平行にした屋根構造体の斜視図である。
(a)変形例1に係る横樋部分の拡大図、(b)変形例2に係る横樋部分の拡大図である。
【発明を実施するための形態】
【0008】
本発明の実施形態について、図を参照しながら説明する。
【0009】
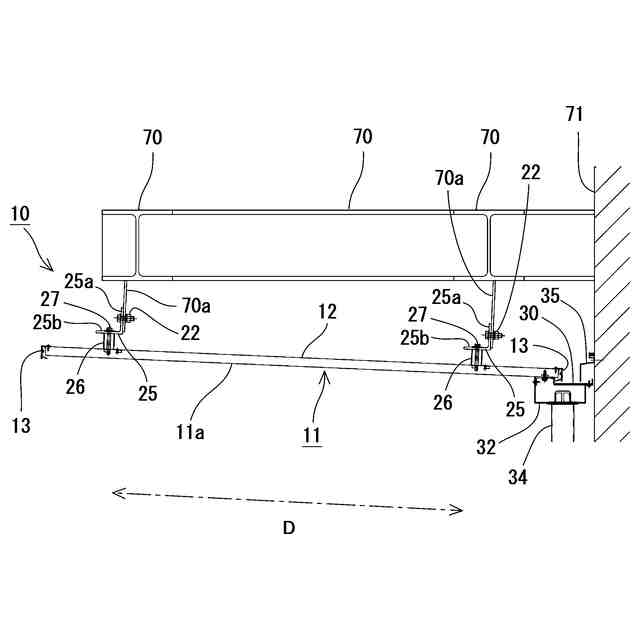
本実施形態に係る屋根構造体10は、直射日光や雨水などを遮るために梁70の下方に吊り支持されるものである。例えば、建物用庇、カーポート、建物間の屋外通路の屋根、バス停の屋根、自転車置き場の屋根などに使用可能である。なお、本実施形態では、梁70が壁面71から水平方向に突出している場合を例に挙げて説明するが、梁70の態様はこれに限らない。例えば、柱から突出する梁70に屋根構造体10を設置してもよいし、両側を支持された梁70に屋根構造体10を設置してもよい。
本実施形態に係る屋根構造体10は、図1に示すように、屋根本体11、横樋ブラケット30、横樋32を備える。
【0010】
屋根本体11は、板状に形成され、一方の端部が低くなるように傾斜している。この屋根本体11は、複数の屋根材12を所定方向に並べて互いに接合して形成されている。屋根本体11の横幅は、連結する屋根材12の数を増減させることで調節可能である。本実施形態に係る屋根材12は、アルミニウム製の中空形材である。複数の屋根材12は、すべて同じ尺で形成され、上下の高さ寸法(厚み)もほぼ同じに設定されている。
(【0011】以降は省略されています)
この特許をJ-PlatPat(特許庁公式サイト)で参照する
関連特許
個人
安心補助てすり
1か月前
個人
免震建築構造
6日前
個人
住宅の省エネ方法
2日前
株式会社シンケン
住宅
1か月前
個人
防災建築物
1か月前
株式会社フジタ
合成床
6日前
株式会社大林組
接合構造
1か月前
三洋工業株式会社
床構造
1か月前
三協立山株式会社
構造体
29日前
株式会社熊谷組
床構成材
2か月前
三協立山株式会社
構造体
1か月前
三協立山株式会社
構造体
1か月前
鹿島建設株式会社
補強構造
6日前
鹿島建設株式会社
制震架構
1か月前
ミサワホーム株式会社
住宅
1か月前
鹿島建設株式会社
解体方法
1か月前
ミサワホーム株式会社
玄関
1か月前
鹿島建設株式会社
接合構造
1か月前
岡部株式会社
柱梁接合構造
21日前
日精株式会社
機械式駐車装置
2か月前
株式会社オカムラ
移動式什器
1か月前
株式会社竹中工務店
建物構造
1か月前
株式会社 シコク
手摺り装置
1か月前
株式会社タカショー
塀
1か月前
日精株式会社
機械式駐車装置
1か月前
株式会社タカショー
塀
1か月前
極東開発工業株式会社
駐車装置
1か月前
個人
木造建築物の建築方法
27日前
三芝硝材株式会社
ガラスユニット
1か月前
株式会社スローテック
耐火被覆体
1か月前
積水ハウス株式会社
建築物
1か月前
株式会社オカムラ
パーティション
1か月前
アルインコ株式会社
作業台
1か月前
理研軽金属工業株式会社
庇
14日前
積水ハウス株式会社
建築物
22日前
積水ハウス株式会社
建築物
13日前
続きを見る
他の特許を見る