TOP
|
特許
|
意匠
|
商標
特許ウォッチ
Twitter
他の特許を見る
10個以上の画像は省略されています。
公開番号
2025157763
公報種別
公開特許公報(A)
公開日
2025-10-16
出願番号
2024059983
出願日
2024-04-03
発明の名称
作業台
出願人
アルインコ株式会社
代理人
個人
,
個人
主分類
E04G
1/30 20060101AFI20251008BHJP(建築物)
要約
【課題】昇降用脚と非昇降用脚を設けた作業台に関して、作業者に昇降用脚を使用させ、非昇降用脚を使用させないようにした作業台を提供する。
【解決手段】天板の第1妻縁部を支持する第1脚体を昇降用脚(2A)とし、第2妻縁部を支持する第2脚体を作業者が昇降を禁止された非昇降用脚(3A)としており、前記第1妻縁部及び第2妻縁部の両端近傍からそれぞれ一対の第1手掛かり棒(6a,6b)及び第2手掛かり棒(7a,7b)を立設した作業台において、前記一対の第2手掛かり棒(7a,7b)の間に形成された開口部(10)に対して、作業者が該開口部を通過することを妨げる通過禁止バー(11)を設けており、該通過禁止バー(11)は、前記開口部(10)を横断する使用姿勢(P3)と手掛かり棒に沿わされる格納姿勢(P1)との間で姿勢変更自在となるように構成されている。
【選択図】図9
特許請求の範囲
【請求項1】
長手方向の第1桁縁部及び第2桁縁部と短手方向の第1妻縁部及び第2妻縁部を有する天板(1)と、前記第1妻縁部及び第2妻縁部をそれぞれ支持する第1脚体(2)及び第2脚体(3)と、前記第1妻縁部及び第2妻縁部の両端近傍から上向きに立設されたそれぞれ一対の第1手掛かり棒(6a,6b)及び第2手掛かり棒(7a,7b)を備え、
前記第1脚体(2)により作業者が天板(1)に昇降するための昇降用脚(2A)を構成し、前記第2脚体(3)により作業者が昇降を禁止された非昇降用脚(3A)を構成して成る作業台において、
前記第2妻縁部の上方で一対の第2手掛かり棒(7a,7b)の間に形成された開口部(10)に対して、作業者が該開口部を通過することを妨げる通過禁止バー(11)を設けており、
前記通過禁止バー(11)は、前記一対の第2手掛かり棒(7a,7b)の一方の手掛かり棒に設けられ、前記開口部(10)を横断する使用姿勢(P3)と、該手掛かり棒に沿わされる格納姿勢(P1)との間で、姿勢変更自在に構成されて成ることを特徴とする作業台。
続きを表示(約 2,000 文字)
【請求項2】
第1桁縁部の両端近傍に位置する一対の手掛かり棒(6a,7a)の上端部を相互に連結する第1桁側安全バー(8a)と、第2桁縁部の両端近傍に位置する一対の手掛かり棒(6b,7b)の上端部を相互に連結する第2桁側安全バー(8b)が設けられており、
第1手掛かり棒(6a,6b)と第2手掛かり棒(7a,7b)の周面は、相互に対向する面により内側面(f1)を構成すると共に反対側の面により外側面(f2)を構成し、
前記第1桁側安全バー(8a)と第2桁側安全バー(8b)は、折畳むことにより、所定の手掛かり棒の内側面(f1)に沿って格納されるように構成されており、
前記通過禁止バー(11)は、前記格納姿勢(P1)としたとき前記一対の第2手掛かり棒(7a,7b)の一方の手掛かり棒の外側面(F2)に沿って格納されるように構成されて成ることを特徴とする請求項1に記載の作業台。
【請求項3】
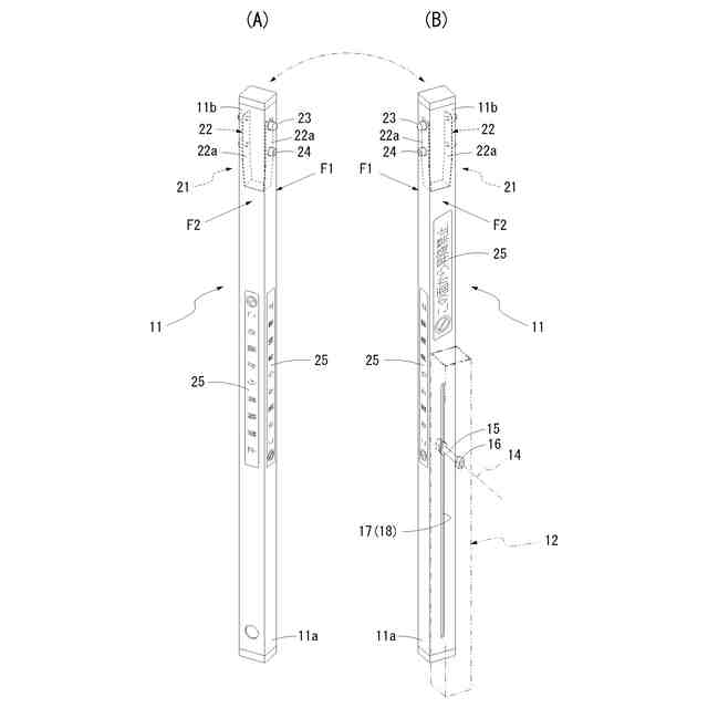
前記一対の第2手掛かり棒(7a,7b)は、一方を支持側の手掛かり棒(12)とし、他方を受側の手掛かり棒(13)として、支持側の手掛かり棒(12)の長手方向の中間部に枢軸(14)を突設しており、
前記通過禁止バー(11)は、前記使用姿勢(P3)とされたとき、尾端部(11a)を支持側の手掛かり棒(12)の上下方向の中間部に位置させ、先端部(11b)を受側の手掛かり棒(13)に重ねるように構成され、尾端部の近傍から先端部に向けて延びるガイド手段(17)を設けると共に、該ガイド手段(17)を前記枢軸(14)に回動自在かつ摺動自在に軸支することにより保持されており、
前記ガイド手段(17)を介して摺動することにより、前記通過禁止バー(11)の長手方向の中間部を支持側の手掛かり棒(12)に交差させた状態を通過禁止バー(11)の中間姿勢(P2)として、
前記中間姿勢(P2)から前記ガイド手段(17)の摺動を介して先端部(11b)を受側の手掛かり棒(13)に重ねることにより前記使用姿勢(P3)とされ、
前記中間姿勢(P2)から前記枢軸(14)を中心とする回動を介して通過禁止バー(11)を支持側の手掛かり棒(12)に沿って重ねることにより前記格納姿勢(P1)とされるように構成して成ることを特徴とする請求項1又は2に記載の作業台。
【請求項4】
前記通過禁止バー(11)の先端部(11b)に、スプリング(22)により係止方向に付勢された係止片(23)と、該係止片(23)を係止解除方向に移動させる操作片(24)を備えた係止装置(21)を設けており、
前記受側の手掛かり棒(13)は、前記使用姿勢(P3)とされた通過禁止バー(11)の先端部(11b)を受入れると共に、前記係止装置(21)の係止片(23)を係止させることにより固定する使用時係止具(20)を設け、
前記支持側の手掛かり棒(12)は、前記格納姿勢(P1)とされた通過禁止バー(11)の先端部(11b)を受入れると共に、前記係止装置(21)の係止片(23)を係止させることにより固定する格納時係止具(19)を設けて成ることを特徴とする請求項3に記載の作業台。
【請求項5】
前記一対の第2手掛かり棒(7a,7b)は、一方を支持側の手掛かり棒(12)とし、他方を受側の手掛かり棒(13)として、支持側の手掛かり棒(12)に長手方向に延びるガイド手段(17M)を設けており、
前記通過禁止バー(11)は、前記使用姿勢(P3)とされたとき、尾端部(11a)を支持側の手掛かり棒(12)の上下方向の中間部に位置させ、先端部(11b)を受側の手掛かり棒(13)に重ねるように構成され、尾端部(11a)の近傍に枢軸(14M)を設けると共に、該枢軸(14M)を前記ガイド手段(17M)に回動自在かつ摺動自在に軸支することにより保持されており、
前記ガイド手段(17M)を介して摺動することにより、前記開口部(10)を横断する姿勢とされた通過禁止バー(11)を該開口部(10)の上下方向に移動させた状態を通過禁止バー(11)の中間姿勢(P2)として、
前記中間姿勢(P2)から前記ガイド手段(17M)の摺動を介して通過禁止バー(11)を前記開口部(10)の上下方向の中央部に移動して先端部(11b)を受側の手掛かり棒(13)に重ねることにより前記使用姿勢(P3)とされ、
前記中間姿勢(P2)から前記枢軸(14M)を中心とする回動を介して通過禁止バー(11)を支持側の手掛かり棒(12)に沿って重ねることにより前記格納姿勢(P1)とされるように構成して成ることを特徴とする請求項1又は2に記載の作業台。
発明の詳細な説明
【技術分野】
【0001】
本発明は、天板を支持する昇降用脚と非昇降用脚を設けた作業台に関して、特に作業者が天板に昇降する際に、昇降用脚を使用させ、非昇降用脚を使用させないようにしたものに関する。
続きを表示(約 1,600 文字)
【背景技術】
【0002】
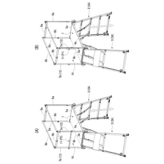
従来、例えば、図1及び図2に示すような作業台が公知であり、高所作業を行うために供されている。
【0003】
図1に示すように、作業台は、天板1と第1脚体2及び第2脚体3を備えている。天板1は、長手方向の第1桁縁部4a及び第2桁縁部4bと、短手方向の第1妻縁部5a及び第2妻縁部5bを有しており、前記第1脚体2により前記第1妻縁部5aを支持し、前記第2脚体3により前記第2妻縁部5bを支持するように構成されている。尚、作業台は、高所作業を行うときは、前記脚体2、3を下向きの展開姿勢として床面に接地させた状態で使用され、作業を行わないときは、天板1の下側に折畳姿勢として格納した状態とすることにより、運搬や保管に便利となるように構成されている。
【0004】
図示の作業台の場合、前記第1脚体2は、踏桟2aを上下方向に列設しており、これにより作業者が天板1に昇降するための昇降用脚2Aを構成している。
【0005】
これに対して、前記第2脚体3は、作業者が昇降を禁止された非昇降用脚3Aを構成している。例えば、天板1の第2妻縁部5bを壁面に近接させることにより作業を可能とする壁際作業用の作業台等の場合、第2脚体3が床面から直角に近い角度で起立するように構成されている。従って、壁際作業を行わないときでも、第2脚体3を昇降用として使用することは危険なため、これを非昇降用脚3Aとすることが好ましい。このため、図示のように、第2脚体3には踏桟が設けられておらず、むしろ、昇降を禁止する注意書を記載した表示板3aが設けられている。
【0006】
ところで、天板1の上方の作業空間に関して、前記第1妻縁部5aの両端近傍から上向きに一対の第1手掛かり棒6a、6bが立設され、前記第2妻縁部5bの両端近傍から上向きに一対の第2手掛かり棒7a、7bが立設されている。
【0007】
第1手掛かり棒6a、6bは、作業者が天板1に搭乗するために昇降用脚2A(第1脚体2)を上る際に、手指で握持することができる手掛かり手段を提供するものであり、第1脚体2の一対の柱脚2b、2bの上端部に枢着されている。従って、昇降用脚2Aを上った作業者は、第1手掛かり棒6a、6bの間に形成された出入口を介して、天板1の上に搭乗することになる。尚、第1手掛かり棒6a、6bは、図示の起立姿勢から、矢印で示すように反転することにより柱脚2bに重ね合わせることが可能であり、作業台を使用しないときは、第1脚体2と共に天板1の下側に折畳まれる。
【0008】
これに対して、第2手掛かり棒7a、7bは、作業者が手指で握持する手掛かり手段を提供するものではなく、天板1の上で作業する作業者の安全のために供されており、第2脚体3の一対の柱脚3b、3bの上端部に枢着されている。尚、第2手掛かり棒7a、7bは、図示の起立姿勢から、矢印で示すように反転することにより柱脚3bに重ね合わせることが可能であり、作業台を使用しないときは、第2脚体3と共に天板1の下側に折畳まれる。
【0009】
更に、第1手掛かり棒6a、6b及び第2手掛かり棒7a、7bの上端部には、第1桁側安全バー8a及び第2桁側安全バー8bと、第1妻側安全バー9a及び第2妻側安全バー9bが設けられている。
【0010】
第1桁側安全バー8aは、第1桁縁部4aの両端に位置する第1手掛かり棒6aと第2手掛かり棒7aの上端部を連結する。第2桁側安全バー8bは、第2桁縁部4bの両端に位置する第1手掛かり棒6bと第2手掛かり棒7bの上端部を連結する。そして、第1妻側安全バー9aは、第1妻縁部5aの両端に位置する一対の第1手掛かり棒6a、6bの上端部を連結し、第2妻側安全バー9bは、第2妻縁部5bの両端に位置する一対の第2手掛かり棒7a、7bを連結する。
(【0011】以降は省略されています)
この特許をJ-PlatPat(特許庁公式サイト)で参照する
関連特許
個人
接合構造
1か月前
個人
タッチミー
1か月前
個人
屋台
1か月前
個人
野良猫ハウス
2か月前
個人
転落防止用手摺
2か月前
個人
安心補助てすり
22日前
個人
フェンス
2か月前
個人
地下型マンション
4か月前
個人
筋交自動設定装置
1か月前
個人
居住車両用駐車場
2か月前
ニチハ株式会社
建築板
2か月前
積水樹脂株式会社
柵体
2か月前
個人
ベンリナアングル
1か月前
個人
鋼管結合資材
4か月前
個人
熱抵抗多層断熱建材
2か月前
株式会社タナクロ
テント
4か月前
個人
補強部材
2か月前
個人
柵
3か月前
個人
身体用シェルター
1か月前
成友建設株式会社
建物
2か月前
個人
防災建築物
28日前
個人
循環流水式屋根融雪装置
4か月前
鹿島建設株式会社
壁体
2か月前
株式会社シンケン
住宅
23日前
個人
身体用シェルター
1か月前
三協立山株式会社
構造体
1か月前
個人
可搬型供養墓
1か月前
株式会社熊谷組
木質材料
1か月前
株式会社大林組
接合構造
18日前
三洋工業株式会社
床構造
23日前
三協立山株式会社
構造体
1か月前
三協立山株式会社
構造体
23日前
株式会社熊谷組
吊り治具
1か月前
三協立山株式会社
構造体
1か月前
三協立山株式会社
構造体
1か月前
イワブチ株式会社
組立柱
2か月前
続きを見る
他の特許を見る