TOP
|
特許
|
意匠
|
商標
特許ウォッチ
Twitter
他の特許を見る
10個以上の画像は省略されています。
公開番号
2025155383
公報種別
公開特許公報(A)
公開日
2025-10-14
出願番号
2024059193
出願日
2024-04-01
発明の名称
ガラスユニット
出願人
三芝硝材株式会社
代理人
個人
主分類
E04H
9/02 20060101AFI20251006BHJP(建築物)
要約
【課題】水平方向に対する力が働いたとしてもそれを上手く逃がして外枠自体が変形することを防止し、化学強化ガラスを透明筋交いとして機能させることで、結果として耐震性能の向上を図ることができるガラスユニットを提供する。
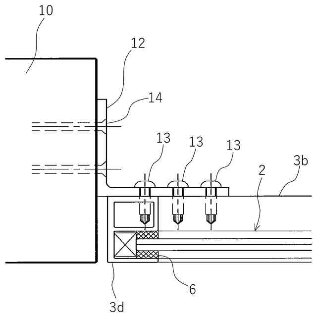
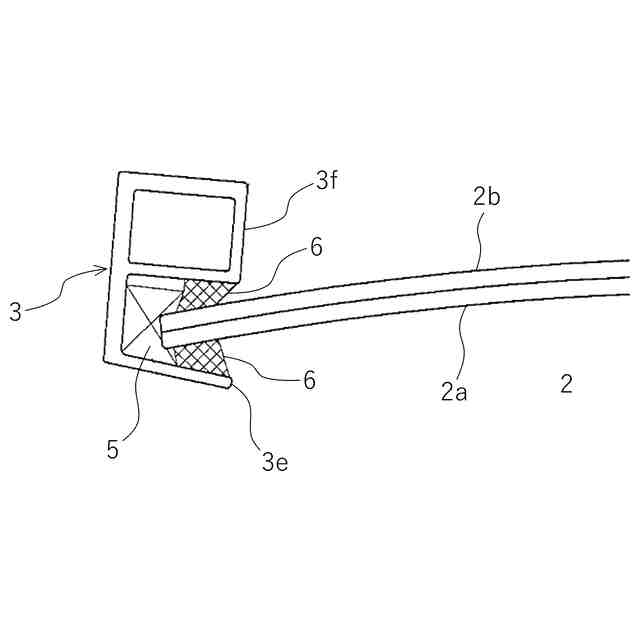
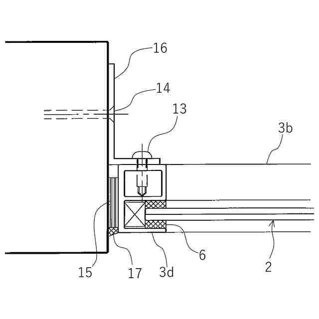
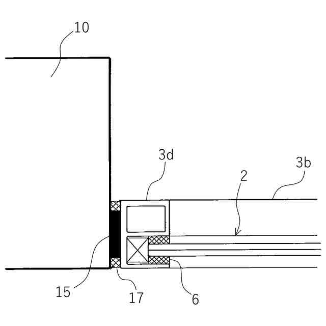
【解決手段】ガラスユニット1は、化学強化ガラスを含んで形成されている略矩形形状のガラス部2と、該ガラス部の周縁を覆う外枠3と、該外枠3の一方の対辺として配されていて覆っているガラス部2の辺の外側に突出している上枠3a及び下枠3bと、該上枠3a及び下枠3bと隣り合う位置で外枠3の他方の対辺として配されていて覆っているガラス部2の辺の内側に収まっている右枠3c及び左枠3dと、該右枠3c及び左枠3dと上枠3a及び下枠3bとの間にて間隔を存させるための隙間4とを備えている。
【選択図】 図1
特許請求の範囲
【請求項1】
化学強化ガラスを含んで形成されている略矩形形状のガラス部と、
該ガラス部の周縁を覆う外枠と、
該外枠の一方の対辺として配されていて覆っている前記ガラス部の辺の外側に突出している上枠及び下枠と、
該上枠及び下枠と隣り合う位置で前記外枠の他方の対辺として配されていて覆っている前記ガラス部の辺の内側に収まっている右枠及び左枠と、
該右枠及び左枠と前記上枠及び下枠との間にて間隔を存させるための隙間とを備えたことを特徴とするガラスユニット。
続きを表示(約 340 文字)
【請求項2】
前記隙間にゴム製のゴム部材が介装されていることを特徴とする請求項1に記載のガラスユニット。
【請求項3】
前記外枠と前記ガラス部とは、0.4N/mm
2
(4kgf/cm
2
)以上の高モジュラスタイプの構造シールにて接着されていることを特徴とする請求項1又は2に記載のガラスユニット。
【請求項4】
前記外枠を形成する上枠、下枠、右枠及び左枠は全て同一断面で形成されていて、
前記外枠は、前記ガラス部の一方の面である外面側を覆う外面枠部の厚みよりも、前記ガラス部の他方の面である内面側を覆う内面枠部の厚みの方が厚く形成されていることを特徴とする請求項3に記載のガラスユニット。
発明の詳細な説明
【技術分野】
【0001】
本発明は、ガラス板の周辺が外枠にて覆われているガラスユニットに関するものである。
続きを表示(約 1,700 文字)
【背景技術】
【0002】
建物において、窓ガラスが配された部分の耐震性能の向上が求められている。特に、日本の伝統的な在来伝統木造住宅等の木材を用いた柱梁構造を有する建築物の場合、このような木造軸組構造では、地震時の水平方向への耐震性能を向上させる必要がある。従来、このような地震時の水平力に対抗するために、金物を併用した筋交い(ブレース)で対応している。しかし筋交いを用いるため、その部分は透視性や採光性を有する開口部とすることが難しくなっている。すなわち、窓ガラス部分に筋交いがあると、窓ガラスが有する透視性や採光性が損なわれることになる。
【0003】
このような窓ガラスに用いられるガラスとして、板ガラス(フロートガラス)があるが、これは割れやすく、破損した場合のガラス破片が鋭利なため安全性に問題がある。一方、建築用加工ガラスの技術も進歩してきており、強化ガラスは従来の板ガラスの欠点を補強するものとして、いわゆる安全ガラスや防災ガラスと称される等して普及してきている。強化ガラスは、一般的な板ガラスと比較して、大幅な強度アップが期待できるため耐力壁として可能性も高く、一定の厚さ以上の強化ガラスを用いてガラス自体の面強度で強度を確保しようとする事例もある。しかし、強化ガラスは、ガラスに存在する異物が原因となり外力が加わっていない状態で破壊してしまう現象(自然破損)があることも知られているため、予測不可能でいつ発生するか分からない地震に対応するための耐力壁としてはふさわしくないと考えられる。
【0004】
一方、近年、産業用、建築用として使われる機会が増えて来た化学強化ガラスは、製造プロセスが従来の強化ガラス(物理強化ガラス、風冷強化ガラス)と異なるため、高い表面圧縮応力層を有していて、応力層の深さが浅く、内部応力も小さいため自然破損することなく、光学的な歪も少ないガラスである。表面圧縮応力層の深さは、通常のフロートガラス組成を使った場合で20μm以上あることが、傷による強度低下の影響を抑える上で有効となる。また、更に、化学強化ガラスを使った合わせガラスとすることで、万一のガラス破損の際にも安全性が確保でき、更に安全性を高めることもできる。このような化学強化ガラスを用いて、上述したような水平方向に対する耐震性能の向上が求められている。
【0005】
一方で、ガラスとその周縁に配された外枠からなるガラスユニットにて窓ガラスは建物躯体に取り付けられる。外枠はガラス周りを囲むようにして取り付けられている(例えば特許文献1参照)。
【先行技術文献】
【特許文献】
【0006】
特開2007-031959号公報
【発明の概要】
【発明が解決しようとする課題】
【0007】
しかしながら、特許文献1のように完全にガラス周縁を外枠にて取り囲むと、水平方向に力が働いた場合に化学強化ガラスの強度が強いため、ガラスが外枠を押す。このガラスの押圧力により、外枠自体が変形してしまう。
【0008】
本発明は、上記従来技術を考慮したものであり、水平方向に対する力が働いたとしてもそれを上手く逃がして外枠自体が変形することを防止し、結果として耐震性能の向上を図ることができるガラスユニットを提供することを目的とする。
【課題を解決するための手段】
【0009】
前記目的を達成するため、本発明では、化学強化ガラスを含んで形成されている略矩形形状のガラス部と、該ガラス部の周縁を覆う外枠と、該外枠の一方の対辺として配されていて覆っている前記ガラス部の辺の外側に突出している上枠及び下枠と、該上枠及び下枠と隣り合う位置で前記外枠の他方の対辺として配されていて覆っている前記ガラス部の辺の内側に収まっている右枠及び左枠と、該右枠及び左枠と前記上枠及び下枠との間にて間隔を存させるための隙間とを備えたことを特徴とするガラスユニットを提供する。
【0010】
好ましくは、前記隙間にゴム製のゴム部材が介装されている。
(【0011】以降は省略されています)
この特許をJ-PlatPat(特許庁公式サイト)で参照する
関連特許
三芝硝材株式会社
ガラスユニット
1か月前
個人
接合構造
2か月前
個人
屋台
2か月前
個人
タッチミー
2か月前
個人
安心補助てすり
1か月前
個人
筋交自動設定装置
2か月前
個人
ベンリナアングル
2か月前
個人
免震建築構造
7日前
株式会社シンケン
住宅
1か月前
個人
身体用シェルター
2か月前
個人
身体用シェルター
2か月前
個人
住宅の省エネ方法
3日前
株式会社フジタ
合成床
7日前
個人
防災建築物
1か月前
三洋工業株式会社
床構造
1か月前
三協立山株式会社
構造体
1か月前
三協立山株式会社
構造体
1か月前
株式会社熊谷組
吊り治具
2か月前
株式会社大林組
接合構造
1か月前
個人
可搬型供養墓
2か月前
株式会社熊谷組
床構成材
2か月前
三協立山株式会社
構造体
2か月前
三協立山株式会社
構造体
2か月前
三協立山株式会社
構造体
2か月前
三協立山株式会社
構造体
2か月前
三協立山株式会社
構造体
2か月前
三協立山株式会社
構造体
2か月前
三協立山株式会社
構造体
1か月前
株式会社熊谷組
木質材料
2か月前
株式会社エフコンサルタント
面材
2か月前
ミサワホーム株式会社
建物
2か月前
ミサワホーム株式会社
住戸
2か月前
鹿島建設株式会社
制震架構
1か月前
鹿島建設株式会社
解体方法
1か月前
ミサワホーム株式会社
玄関
1か月前
アイジー工業株式会社
スターター
2か月前
続きを見る
他の特許を見る