TOP
|
特許
|
意匠
|
商標
特許ウォッチ
Twitter
他の特許を見る
公開番号
2025155000
公報種別
公開特許公報(A)
公開日
2025-10-14
出願番号
2024058310
出願日
2024-03-29
発明の名称
耐火被覆体
出願人
株式会社スローテック
代理人
個人
主分類
E04B
1/94 20060101AFI20251002BHJP(建築物)
要約
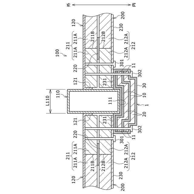
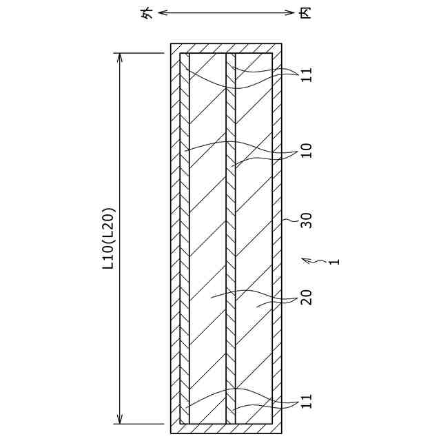
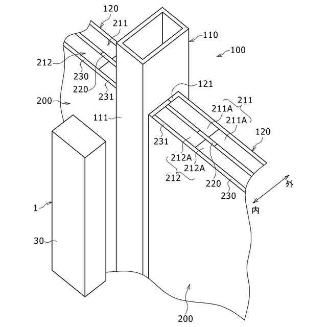
【課題】 耐火性の高い耐火被覆体を提供する。
【解決手段】 両側の外壁パネル120、120を仕切る方立110の室内側を被覆するように取り付けられ耐火性を有する耐火被覆体1であって、方立110の室内側に配置され、水酸化アルミニウを主成分とし加熱されることで水を生成する水酸化アルミニウムペーパー10と、水酸化アルミニウムペーパー10の室内側に配置されると共に、両側に配置される外壁パネル120、120を跨ぐように配置され断熱性を有する断熱シート20と、を備える。
【選択図】図3
特許請求の範囲
【請求項1】
鉛直方向又は水平方向に延びる構造部材を被覆するように取り付けられ耐火性を有する耐火被覆体であって、
前記構造部材の室内側に配置され、金属水酸化物を主成分とし加熱されることで水を生成する金属水酸化物シートと、
前記金属水酸化物シートの室内側に配置され断熱性を有する断熱シートと、
を備える
ことを特徴とする耐火被覆体。
続きを表示(約 260 文字)
【請求項2】
前記断熱シートを被覆し前記金属水酸化物シートで生成した水を当該金属水酸化物シートで保持する水保持フィルムを備える
ことを特徴とする請求項1に記載の耐火被覆体。
【請求項3】
前記水保持フィルムは、袋状であって、前記金属水酸化物シート及び前記断熱シートを包んでいる
ことを特徴とする請求項2に記載の耐火被覆体。
【請求項4】
前記断熱シートはクッション性を有する
ことを特徴とする請求項1から請求項3のいずれか1項に記載の耐火被覆体。
発明の詳細な説明
【技術分野】
【0001】
本発明は、耐火被覆体に関する。
続きを表示(約 1,000 文字)
【背景技術】
【0002】
従来、カーテンウォールのスパンドレル部において、方立における耐火性を高めるために、方立の室内側をマット状のロックウールで被覆する耐火構造が知られている(特許文献1参照)。
【先行技術文献】
【特許文献】
【0003】
特開2022-52971号公報
【発明の概要】
【発明が解決しようとする課題】
【0004】
しかしながら、特許文献1の耐火構造では、屋外の火災による熱が、方立、ロックウールを通って、室内に伝達する虞がある。
【0005】
そこで、本発明は、耐火性の高い耐火被覆体を提供することを課題とする。
【課題を解決するための手段】
【0006】
前記課題を解決するための手段として、本発明は、鉛直方向又は水平方向に延びる構造部材を被覆するように取り付けられ耐火性を有する耐火被覆体であって、前記構造部材の室内側に配置され、金属水酸化物を主成分とし加熱されることで水を生成する金属水酸化物シートと、前記金属水酸化物シートの室内側に配置され断熱性を有する断熱シートと、を備えることを特徴とする耐火被覆体である。
【0007】
このような構成によれば、金属水酸化物シートが構造部材の室内側に配置されているので、例えば、屋外(外部)の火災で構造部材が加熱された場合、構造部材の熱で金属水酸化物シートが加熱され、水が生成する。このように水が生成している間、構造部材、金属水酸化物シート及び断熱シートは昇温し難くなり、熱が断熱シートを通って室内側に伝達し難くなり、耐火性が高くなる。
【0008】
また、前記断熱シートを被覆し前記金属水酸化物シートで生成した水を当該金属水酸化物シートで保持する水保持フィルムを備える構成としてもよい。
【0009】
このような構成によれば、断熱シートを被覆する金属水酸化物シートが、金属水酸化物シートで生成した水をこの金属水酸化物シートで保持する。これにより、金属水酸化物シート及び断熱シートは昇温し難くなり、熱が断熱シートを通って室内側に伝達し難くなり、耐火性が高くなる。
【0010】
また、前記水保持フィルムは、袋状であって、前記金属水酸化物シート及び前記断熱シートを包んでいる構成としてもよい。
(【0011】以降は省略されています)
この特許をJ-PlatPat(特許庁公式サイト)で参照する
関連特許
株式会社スローテック
耐火被覆体
1か月前
個人
接合構造
1か月前
個人
屋台
2か月前
個人
タッチミー
1か月前
個人
野良猫ハウス
2か月前
個人
安心補助てすり
26日前
個人
転落防止用手摺
2か月前
個人
フェンス
3か月前
積水樹脂株式会社
柵体
2か月前
個人
筋交自動設定装置
1か月前
ニチハ株式会社
建築板
2か月前
個人
ベンリナアングル
1か月前
個人
地下型マンション
4か月前
個人
居住車両用駐車場
2か月前
個人
熱抵抗多層断熱建材
2か月前
個人
鋼管結合資材
4か月前
株式会社タナクロ
テント
4か月前
個人
補強部材
2か月前
個人
柵
3か月前
鹿島建設株式会社
壁体
2か月前
個人
身体用シェルター
1か月前
成友建設株式会社
建物
2か月前
個人
循環流水式屋根融雪装置
4か月前
個人
防災建築物
1か月前
株式会社シンケン
住宅
27日前
個人
身体用シェルター
1か月前
イワブチ株式会社
組立柱
2か月前
三協立山株式会社
構造体
1か月前
三協立山株式会社
構造体
1か月前
三協立山株式会社
構造体
1か月前
三協立山株式会社
構造体
1か月前
三協立山株式会社
構造体
11日前
株式会社熊谷組
床構成材
1か月前
三協立山株式会社
構造体
1か月前
三協立山株式会社
構造体
1か月前
株式会社大林組
接合構造
22日前
続きを見る
他の特許を見る