TOP
|
特許
|
意匠
|
商標
特許ウォッチ
Twitter
他の特許を見る
10個以上の画像は省略されています。
公開番号
2025171742
公報種別
公開特許公報(A)
公開日
2025-11-20
出願番号
2024077386
出願日
2024-05-10
発明の名称
取付金具
出願人
丸井産業株式会社
代理人
弁理士法人前田特許事務所
主分類
E04G
17/00 20060101AFI20251113BHJP(建築物)
要約
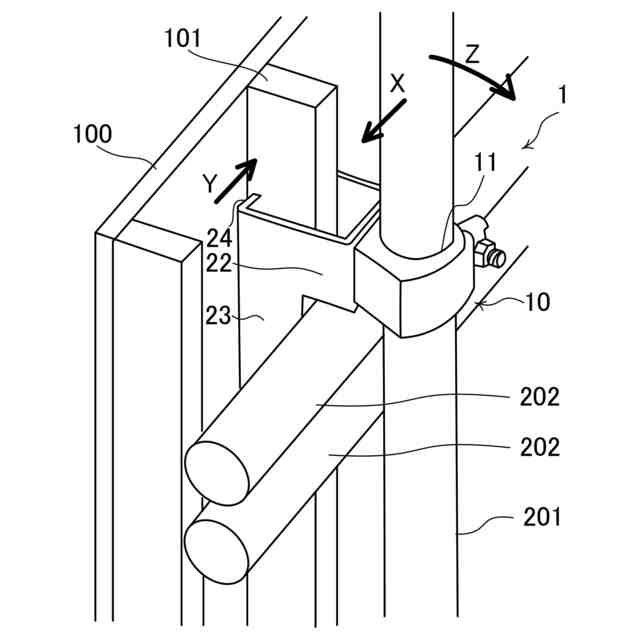
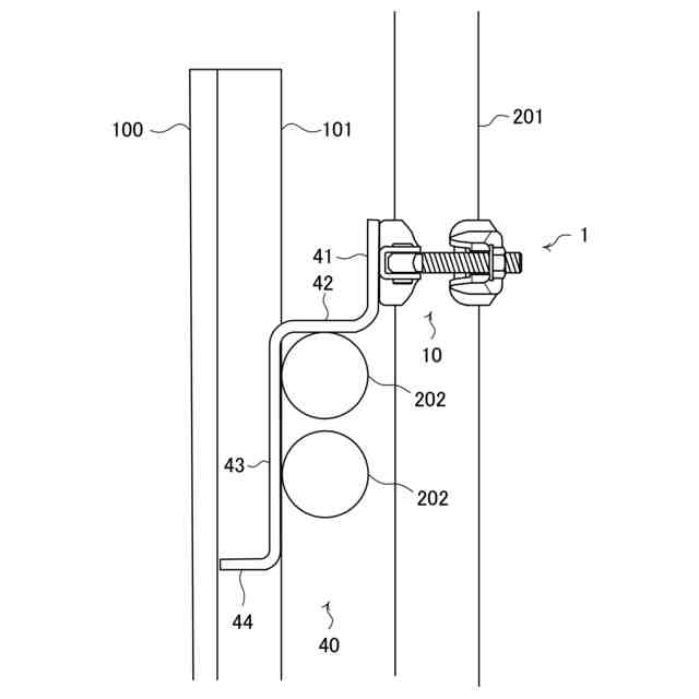
【課題】1つの部品のみで型枠に第1構成部材を固定し、第1構成部材の転倒を防止する。
【解決手段】型枠に長尺状の支柱201を固定するための取付金具1であって、第1構成部材201を固定可能に構成された固定部10と、固定部から離隔して設けられる支持片23を有する支持部20と、を備え、支持片23は、支柱201との間に支柱201と交差する方向に延びる横端太202を位置させるほどの間隔を固定部10から空けて設けられるとともに、横端太202に隣接する型枠100へ当接することで固定部10へ作用する支柱201の荷重による反力Yに抗して取付金具1の回転を規制可能に構成される。
【選択図】図1
特許請求の範囲
【請求項1】
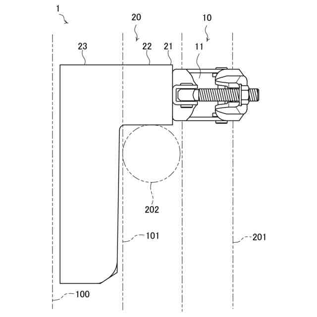
型枠に長尺状の第1構成部材を固定するための取付金具であって、
第1構成部材を固定可能に構成された固定部と、
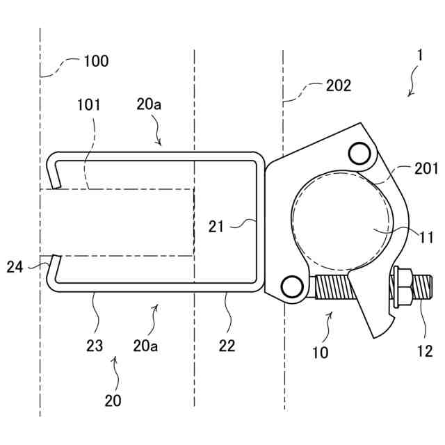
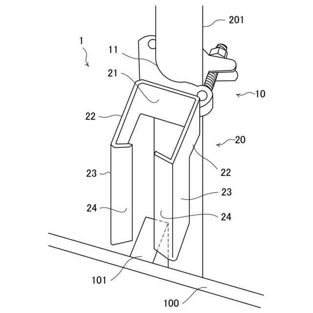
前記固定部から離隔して設けられる支持片を有する支持部と、を備え、
前記支持片は、前記第1構成部材との間に前記第1構成部材と交差する方向に延びる第2構成部材を位置させるほどの間隔を前記固定部から空けて設けられるとともに、前記第2構成部材に隣接する型枠へ当接することで前記固定部へ作用する前記第1構成部材の荷重による反力に抗して取付金具の回転を規制可能に構成されることを特徴とする取付金具。
続きを表示(約 660 文字)
【請求項2】
前記第1構成部材は、上下方向に延びる支柱であり、
前記型枠は、上下方向に延びる型枠構成部材を有し、
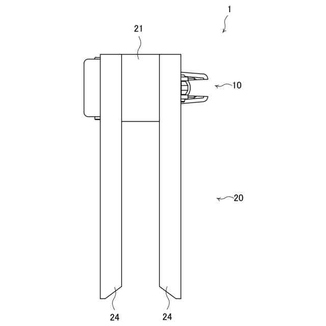
前記支持部は、前記第1構成部材が延びる方向と交差する方向に互いに間隔を空けて延びる一対の前記支持片を有し、一対の前記支持片の間へ前記型枠構成部材を位置させるように上方から差し込み可能に構成されることを特徴とする請求項1に記載の取付金具。
【請求項3】
前記支持部は、前記固定部と前記支持片との間に基部を有し、平面視で前記固定部から離れる方向へ開放するコ字状であり、
前記支持片は、前記基部よりも上下方向に長いことを特徴とする請求項2に記載の取付金具。
【請求項4】
前記第1構成部材は、上下方向に延びる支柱であり、
前記支持部は、前記支持片及び前記支持片に対向する挟持片を有し、側面視で下方に開放するコ字状であり、
前記支持片及び前記挟持片の間へ前記第2構成部材を位置させるように上方から差し込み可能に構成されることを特徴とする請求項1に記載の取付金具。
【請求項5】
前記第1構成部材は、上下方向に延びる支柱であり、
前記支持部は、前記固定部から離れるように延びる基部と、前記基部から下方に向かって延びる前記支持片、を有し、
前記第2構成部材と前記型枠との間へ前記支持片を差し込み可能であり、前記基部の下方に前記第2構成部材を位置させるように構成されることを特徴とする請求項1に記載の取付金具。
発明の詳細な説明
【技術分野】
【0001】
本発明は、型枠に支柱を固定するためなどに用いられる取付金具に関する。
続きを表示(約 1,500 文字)
【背景技術】
【0002】
従来、鉄筋コンクリート構造物の躯体工事において、コンクリートを打設するための型枠へ支柱を固定し、その支柱を用いて手摺等を設置することにより、作業者の安全確保を図っている。例えば、特許文献1には、作業者の親綱を架設するための安全支柱を型枠に取り付けるための型枠取付け金具が開示されている。
【先行技術文献】
【特許文献】
【0003】
特開2014-43678号公報
【発明の概要】
【発明が解決しようとする課題】
【0004】
特に、エレベータシャフトや階段の開口部内に設置された型枠へ支柱を固定する場合、従来の取付金具では、上階及び下階の両方からの作業が必要である。特許文献1のような取付け金具では、支柱が横方向へ転倒しないよう上下2つの金具が用いられている。このように金具を上下で2つ用いなければならない場合や、金具が1つであっても金具のロック作業が必要な場合は、金具の固定と支柱の設置を下階から脚立等を用いて行い、上階において横桟の取付を行う必要があり、作業が煩雑である。
【0005】
本発明は、上記の点に鑑みてなされたものであり、1つの部品のみで型枠に第1構成部材を固定し、第1構成部材の転倒を防止することを目的とする。
【課題を解決するための手段】
【0006】
上記の目的を達成するために、
本発明は、型枠に長尺状の第1構成部材を固定するための取付金具であって、
第1構成部材を固定可能に構成された固定部と、
前記固定部から離隔して設けられる支持片を有する支持部と、を備え、
前記支持片は、前記第1構成部材との間に前記第1構成部材と交差する方向に延びる第2構成部材を位置させるほどの間隔を前記固定部から空けて設けられるとともに、前記第2構成部材に隣接する型枠へ当接することで前記固定部へ作用する前記第1構成部材の荷重による反力に抗して取付金具の回転を規制可能に構成されることを特徴とする。
【0007】
上記の構成により、固定部において第1構成部材を固定するとともに、第2構成部材を跨ぐように支持片において型枠へ支持できるため、1つの部品のみで第1構成部材の転倒を防止することが可能である。また、支持片は型枠へ当接することで前記固定部へ作用する前記第1構成部材の荷重による反力に抗することができるため、取付金具が型枠から離れる方向へ回転することを規制し、第1構成部材を安定して設置することが可能となる。
【0008】
前記第1構成部材は、上下方向に延びる支柱であり、
前記型枠は、上下方向に延びる型枠構成部材を有し、
前記支持部は、前記第1構成部材が延びる方向と交差する方向に互いに間隔を空けて延びる一対の前記支持片を有し、一対の前記支持片の間へ前記型枠構成部材を位置させるように上方から差し込み可能に構成される、構成としてもよい。
【0009】
上記の構成により、上方からの作業のみで支柱を型枠へ固定することが可能となり、簡易な構成で作業性を向上できる。また、取付金具の、型枠から離れる方向への回転及び型枠に沿う方向への回転を規制し、第1構成部材をより安定して設置することが可能となる。
【0010】
前記支持部は、前記固定部と前記支持片との間に基部を有し、平面視で前記固定部から離れる方向へ開放するコ字状であり、
前記支持片は、前記基部よりも上下方向に長い、構成としてもよい。
(【0011】以降は省略されています)
この特許をJ-PlatPat(特許庁公式サイト)で参照する
関連特許
丸井産業株式会社
取付金具
3日前
丸井産業株式会社
長尺材支持具用支持プレート部材
2か月前
個人
接合構造
1か月前
個人
屋台
2か月前
個人
タッチミー
1か月前
個人
野良猫ハウス
2か月前
個人
フェンス
3か月前
個人
転落防止用手摺
2か月前
個人
安心補助てすり
1か月前
積水樹脂株式会社
柵体
2か月前
個人
ベンリナアングル
1か月前
個人
筋交自動設定装置
1か月前
ニチハ株式会社
建築板
2か月前
個人
居住車両用駐車場
2か月前
個人
熱抵抗多層断熱建材
2か月前
個人
柵
3か月前
個人
補強部材
2か月前
株式会社シンケン
住宅
1か月前
成友建設株式会社
建物
2か月前
鹿島建設株式会社
壁体
2か月前
個人
身体用シェルター
1か月前
個人
身体用シェルター
1か月前
個人
防災建築物
1か月前
株式会社大林組
接合構造
27日前
三協立山株式会社
構造体
11日前
三協立山株式会社
構造体
16日前
株式会社熊谷組
吊り治具
1か月前
個人
可搬型供養墓
1か月前
イワブチ株式会社
組立柱
2か月前
三洋工業株式会社
床構造
1か月前
株式会社熊谷組
床構成材
1か月前
三協立山株式会社
構造体
1か月前
株式会社熊谷組
木質材料
2か月前
インターマン株式会社
天井構造
3か月前
三協立山株式会社
構造体
1か月前
三協立山株式会社
構造体
1か月前
続きを見る
他の特許を見る