TOP
|
特許
|
意匠
|
商標
特許ウォッチ
Twitter
他の特許を見る
10個以上の画像は省略されています。
公開番号
2025125980
公報種別
公開特許公報(A)
公開日
2025-08-28
出願番号
2024022303
出願日
2024-02-16
発明の名称
長尺材支持具用支持プレート部材
出願人
丸井産業株式会社
代理人
弁理士法人前田特許事務所
主分類
F16L
3/14 20060101AFI20250821BHJP(機械要素または単位;機械または装置の効果的機能を生じ維持するための一般的手段)
要約
【課題】長尺材支持具への固定を確実にする。
【解決手段】長尺材支持具用の支持プレート部材100は支持プレート部110と長尺材支持具の係止穴221aに係止される1対の係止体130を有する係止部120とを備え、係止体130は基部131および係止穴221aの内縁部221bに係止される外側張出部132を有し、外側張出部132の外方部132aの間の距離が、内縁部221bの間の内縁間距離よりも短くされ得、または接近阻止部により、外側張出部132の外方部132aの間の距離が上記内縁間距離よりも長く保たれる。
【選択図】図4
特許請求の範囲
【請求項1】
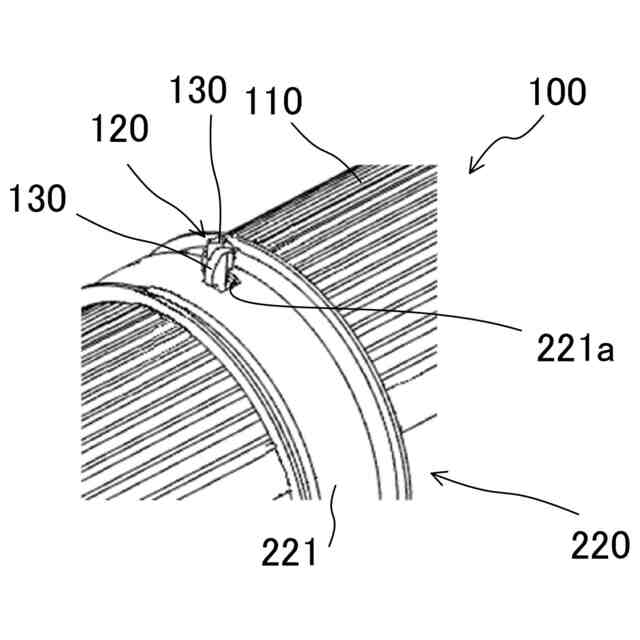
湾曲したバンド部を備えて長尺材を支持する長尺材支持具に取り付けられる長尺材支持具用支持プレート部材であって、
上記バンド部と上記長尺材との間に設けられる支持プレート部と、
上記支持プレート部に立設され、上記長尺材支持具の上記バンド部に形成された係止穴に係止される係止部と、
を備え、
上記係止部は、1対の係止体を有し、上記1対の係止体は、それぞれ、基部、および互いに対向する方向と反対方向に張り出して上記バンド部の上記係止穴における互いに対向する内縁部に係止される外側張出部を有し、
上記1対の係止体における上記外側張出部の外方部どうしの間の係止体外方部間寸法が、上記係止穴の上記対向する内縁部の間の距離である係止穴内縁間距離よりも短くされる挿入可能状態と、
上記係止体外方部間寸法が、上記係止穴内縁間距離よりも長くされる係止状態とをとり得るように構成されるとともに、
上記係止状態においては、上記1対の係止体の外方部どうしが互いに近づく方向に接近するのを阻止する接近阻止部を有するように構成されていることを特徴とする長尺材支持具用支持プレート部材。
続きを表示(約 1,100 文字)
【請求項2】
請求項1の長尺材支持具用支持プレート部材であって、
上記接近阻止部は、上記1対の係止体におけるそれぞれの上記外側張出部と反対側の内方当接部によって構成され、
上記内方当接部が、上記バンド部の上記係止穴における上記対向する内縁部を結ぶ第1の方向と交差する第2の方向に相対的にずれた位置で、上記1対の係止体の上記外方部どうしが互いに近づく方向に接近した位置にあることにより、上記挿入可能状態になる一方、
上記内方当接部どうしが互いに当接することにより上記係止状態になることを特徴とする長尺材支持具用支持プレート部材。
【請求項3】
請求項2の長尺材支持具用支持プレート部材であって、
上記内方当接部は、初期状態において、上記第2の方向に相対的にずれた位置にあることを特徴とする長尺材支持具用支持プレート部材。
【請求項4】
請求項2の長尺材支持具用支持プレート部材であって、
上記内方当接部は、初期状態において、互いに当接した状態にあることを特徴とする長尺材支持具用支持プレート部材。
【請求項5】
請求項1の長尺材支持具用支持プレート部材であって、
上記接近阻止部は、上記1対の係止体におけるそれぞれの上記外側張出部と反対側の内方当接部と、
上記係止状態において、上記内方当接部の間に介在して、それぞれの上記内方当接部に当接する介在当接部材と、
を有することを特徴とする長尺材支持具用支持プレート部材。
【請求項6】
請求項1の長尺材支持具用支持プレート部材であって、
上記1対の係止体の上記外側張出部と反対側の部分には、上記外側張出部と反対方向に張り出した内側張出部が形成され、上記係止状態で上記内側張出部が互いに係合することによって上記係止状態が維持されるように構成されていることを特徴とする長尺材支持具用支持プレート部材。
【請求項7】
請求項6の長尺材支持具用支持プレート部材であって、
上記1対の係止体の上記内側張出部は、それぞれ、上記バンド部の上記係止穴における上記対向する内縁部を結ぶ方向に対して斜めに傾斜した傾斜当接面を有する形状に形成され、
上記内側張出部に、それぞれ所定の方向の力を作用させたときに上記傾斜当接面に沿った摺動により、上記内側張出部が互いに係合する方向に移動するように構成されていることを特徴とする長尺材支持具用支持プレート部材。
【請求項8】
請求項6の長尺材支持具用支持プレート部材であって、
上記内側張出部には、上記互いの係合の解除を抑制する係合凸部が設けられていることを特徴とする長尺材支持具用支持プレート部材。
発明の詳細な説明
【技術分野】
【0001】
本発明は、配管等の長尺材を支持する長尺材支持具に取り付けられて配管等の支持面積を大きくする長尺材支持具用支持プレート部材に関するものである。
続きを表示(約 1,800 文字)
【背景技術】
【0002】
湾曲した帯状のバンド部を有する長尺材支持具によって長尺材を支持する場合、支持面積を大きくするためにバンド部と長尺材との間にプレート部材を介在させることがある。上記のようなプレート部材は、例えば、長尺材支持具のバンド部側に形成されたT形突起をバンド部に形成された溝部に係合させることによって固定される(例えば、特許文献1参照。)。
【先行技術文献】
【特許文献】
【0003】
特開2009-133430号公報
【発明の概要】
【発明が解決しようとする課題】
【0004】
上記のようにプレート部材に形成されたT形突起をバンド部の溝部に係合させて固定する場合、長尺材がずれ動いた場合などに係合が解除されると長尺材支持具から外れてしまうことになる。
【0005】
本発明は、上記の点に鑑みてなされたものであり、長尺材支持具への確実な固定が容易にできるようにすることを目的としている。
【課題を解決するための手段】
【0006】
上記の目的を達成するために、
本発明は、
湾曲したバンド部を備えて長尺材を支持する長尺材支持具に取り付けられる長尺材支持具用支持プレート部材であって、
上記バンド部と上記長尺材との間に設けられる支持プレート部と、
上記支持プレート部に立設され、上記長尺材支持具の上記バンド部に形成された係止穴に係止される係止部と、
を備え、
上記係止部は、1対の係止体を有し、上記1対の係止体は、それぞれ、基部、および互いに対向する方向と反対方向に張り出して上記バンド部の上記係止穴における互いに対向する内縁部に係止される外側張出部を有し、
上記1対の係止体における上記外側張出部の外方部どうしの間の係止体外方部間寸法が、上記係止穴の上記対向する内縁部の間の距離である係止穴内縁間距離よりも短くされる挿入可能状態と、
上記係止体外方部間寸法が、上記係止穴内縁間距離よりも長くされる係止状態とをとり得るように構成されるとともに、
上記係止状態においては、上記1対の係止体の外方部どうしが互いに近づく方向に接近するのを阻止する接近阻止部を有するように構成されていることを特徴とする。
【0007】
これにより、接近阻止部によって、外側張出部の外方部の間の距離が係止穴の内縁間距離よりも長く保たれるので、支持プレート部を長尺材支持具に確実に取り付けることが容易にできる。
【発明の効果】
【0008】
本発明では、長尺材支持具への確実な固定が容易にできる。
【図面の簡単な説明】
【0009】
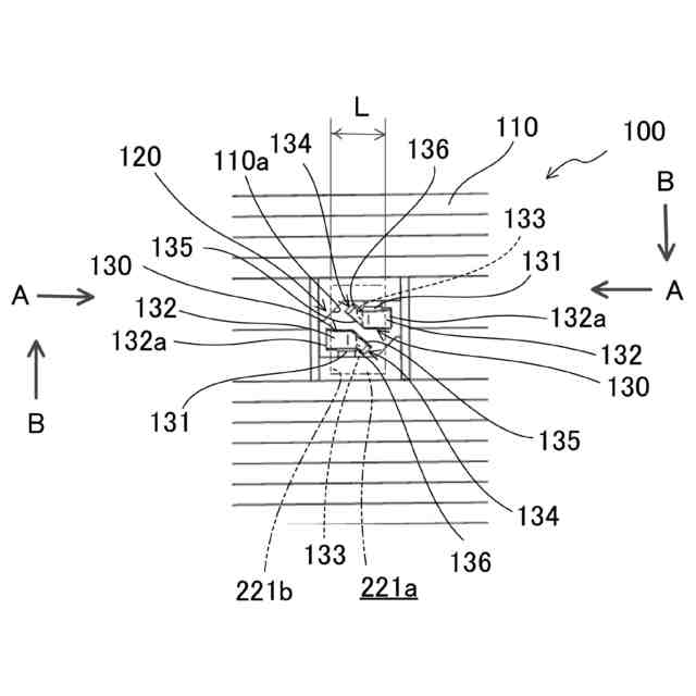
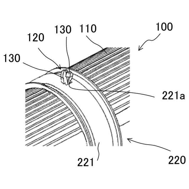
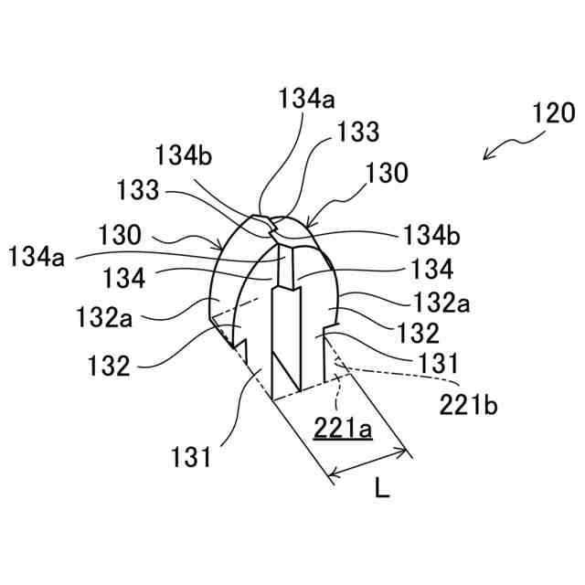
長尺材支持具と支持プレート部材の概略構成を示す斜め下方から見た斜視図
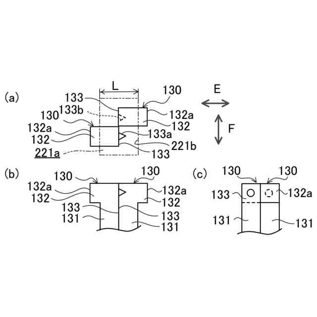
支持プレート部材の非係止状態を示す要部の斜視図
支持プレート部材の非係止状態を示す要部の拡大底面図
支持プレート部材の非係止状態を示す要部の拡大斜視図
支持プレート部材の係止状態を示す要部の拡大斜視図
支持プレート部材の係止状態を示す要部の拡大底面図
実施形態2の支持プレート部材の非係止状態を示す要部の拡大斜視図
実施形態2の支持プレート部材の係止状態を示す要部の拡大斜視図
変形例の非係止状態の模式底面図、正面図、および側面図
変形例の係止状態の模式底面図、正面図、および側面図
他の変形例の非係止状態の模式底面図、正面図、および側面図
他の変形例の係止状態の模式底面図、正面図、および側面図
非係止状態の種々の変形例の模式底面図
さらに他の変形例の非係止状態の模式底面図、正面図、および側面図
さらに他の変形例の係止状態の模式底面図、正面図、および側面図
またさらに他の変形例の非係止状態の要部の拡大斜視図
またさらに他の変形例の係止状態の要部の拡大斜視図
【発明を実施するための形態】
【0010】
以下、本発明の実施形態を図面に基づいて詳細に説明する。なお、以下の実施形態や変形例において、他の実施形態等と同様の機能を有する構成要素については適宜同一または対応する符号を付して説明を省略する。
(【0011】以降は省略されています)
この特許をJ-PlatPat(特許庁公式サイト)で参照する
関連特許
丸井産業株式会社
取付金具
3日前
丸井産業株式会社
長尺材支持具用支持プレート部材
2か月前
個人
留め具
1か月前
個人
鍋虫ねじ
2か月前
個人
ホース保持具
7か月前
個人
紛体用仕切弁
2か月前
個人
回転伝達機構
3か月前
個人
差動歯車用歯形
5か月前
個人
トーションバー
7か月前
個人
ジョイント
2か月前
個人
給排気装置
1か月前
株式会社不二工機
電磁弁
4か月前
株式会社不二工機
電磁弁
6か月前
個人
地震の揺れ回避装置
4か月前
個人
ナット
18日前
個人
ナット
2か月前
個人
吐出量監視装置
2か月前
個人
ゲート弁バルブ
3日前
柿沼金属精機株式会社
分岐管
3か月前
カヤバ株式会社
ダンパ
5か月前
カヤバ株式会社
緩衝器
4か月前
兼工業株式会社
バルブ
19日前
カヤバ株式会社
緩衝器
1か月前
カヤバ株式会社
緩衝器
4か月前
カヤバ株式会社
ダンパ
5か月前
株式会社不二工機
電動弁
1か月前
日東電工株式会社
断熱材
7か月前
株式会社ノーリツ
分配弁
1か月前
株式会社ニフコ
クリップ
1か月前
株式会社奥村組
制振機構
1か月前
株式会社三五
ドライブシャフト
1か月前
株式会社奥村組
制振機構
1か月前
株式会社ノーリツ
分配弁
6か月前
株式会社ノーリツ
分配弁
6か月前
株式会社ノーリツ
分配弁
6か月前
個人
固着具と固着具の固定方法
7か月前
続きを見る
他の特許を見る