TOP
|
特許
|
意匠
|
商標
特許ウォッチ
Twitter
他の特許を見る
公開番号
2025164512
公報種別
公開特許公報(A)
公開日
2025-10-30
出願番号
2024068530
出願日
2024-04-19
発明の名称
住宅の外構構造
出願人
ミサワホーム株式会社
代理人
個人
主分類
E04H
1/02 20060101AFI20251023BHJP(建築物)
要約
【課題】住宅の開放感が損なわれないようにしつつ防犯性を向上できるようにする。
【解決手段】住宅2が建築された敷地1のうち前記住宅2の正面外壁4から離間した位置に塀30が立設され、正面外壁には、人が出入りするための掃き出し窓5が設けられ、塀は、正面外壁のうち掃き出し窓が設けられた第一部位の前方に立設された第一塀を備え、正面外壁のうち掃き出し窓が設けられた第一部位と第一塀との間にテラス部9が設けられ、テラス部は、第一部位と第一塀との間の地面に造成された盛土Eの上に設けられ、テラス部の床面は、掃き出し窓の屋内側に設けられた部屋16の床面と略等しい高さに設定され、第一塀は、その上端部が、テラス部の床面よりも上方に位置するとともに、掃き出し窓の上下方向中央部よりも下方に位置するように設置されている。
【選択図】図1
特許請求の範囲
【請求項1】
住宅が建築された敷地のうち前記住宅の正面外壁から離間した位置に塀が立設されており、
前記正面外壁には、人が出入りするための掃き出し窓が設けられており、
前記塀は、前記正面外壁のうち前記掃き出し窓が設けられた第一部位の前方に立設された第一塀を備えており、
前記正面外壁のうち前記掃き出し窓が設けられた前記第一部位と前記第一塀との間に、アウトリビングとしてのテラス部が設けられ、
前記テラス部は、前記第一部位と前記第一塀との間の地面に造成された盛土の上に設けられていて、当該テラス部の床面は、前記掃き出し窓の屋内側に設けられた部屋の床面と略等しい高さに設定され、
前記第一塀は、その上端部が、前記テラス部の床面よりも上方に位置するとともに、前記掃き出し窓の上下方向中央部よりも下方に位置するように設置されていることを特徴とする住宅の外構構造。
続きを表示(約 1,200 文字)
【請求項2】
請求項1に記載の住宅の外構構造において、
前記正面外壁には、下端部が、前記掃き出し窓の下端部よりも上方に位置する腰高窓が設けられ、
前記塀は、前記正面外壁のうち前記腰高窓が設けられているとともに、正面視において前記第一部位と隣り合って配置されている第二部位の前方に立設された第二塀を備え、
前記第二塀の上端部と前記腰高窓の下端部が略等しい高さ位置となっていることを特徴とする住宅の外構構造。
【請求項3】
請求項2に記載の住宅の外構構造において、
前記第一塀と前記第二塀は、平面視において前後方向に間隔を空けて配置されているとともに、間口方向にずれて配置されていることによって雁行配置されていることを特徴とする住宅の外構構造。
【請求項4】
請求項2又は3に記載の住宅の外構構造において、
前記テラス部は、前記掃き出し窓の前方に配置されていて、前記腰高窓の前方に配置されない状態となっており、
前記第一塀は、前記第二塀よりも高さが低く設定され、
前記第一塀は、前記正面外壁のうち前記第一部位の前方の位置から前記第二部位の前方の位置にかけて配置され、
前記第二塀は、前記正面外壁のうち前記第二部位の前方の位置にのみ配置されていることを特徴とする住宅の外構構造。
【請求項5】
請求項2に記載の住宅の外構構造において、
前記塀は、平面視において、前記第二塀の延長線上に、前記第二塀と間隔を空けた位置に立設された第三塀を備え、
前記第二塀と前記第三塀との間が、人が出入りする門であることを特徴とする住宅の外構構造。
【請求項6】
請求項5に記載の住宅の外構構造において、
前記第三塀の後方であって、かつ、前記正面外壁から離間した位置に立設された第四塀を備え、前記第三塀と前記第四塀は、平面視において前後方向に間隔を空けて配置されているとともに、間口方向にずれて配置されていることによって雁行配置されており、
前記正面外壁のうち前記第四塀の後方に位置する第三部位には玄関開口部が設けられ、
前記正面外壁のうち前記玄関開口部が設けられた前記第三部位と前記第四塀との間に、前記玄関開口部の屋内側に設けられた土間床部と略等しい高さに設定された床面の玄関ポーチが設けられ、
前記第四塀は、その上端部が、前記玄関ポーチの床面よりも上方に位置するとともに、前記玄関開口部の上下方向中央部よりも下方に位置するように設置されていることを特徴とする住宅の外構構造。
【請求項7】
請求項1に記載の住宅の外構構造において、
前記盛土は、前記テラス部から離間するについて徐々に下り勾配となる斜面を有し、当該斜面の最も低い箇所の高さ位置は、前記敷地のうち最も高さの低い箇所と略等しい高さ位置となっていることを特徴とする住宅の外構構造。
発明の詳細な説明
【技術分野】
【0001】
本発明は、住宅の外構構造に関する。
続きを表示(約 2,300 文字)
【背景技術】
【0002】
従来、敷地の周囲に、住宅を外方から取り囲む外構構造物が設けられ、この外構構造物によって防犯性を高めることが行われている。外構構造物としては、例えばプレキャストコンクリートやコンクリートブロックなどの塀状の遮蔽物が採用され、住宅は、このような遮蔽物によって目隠しされ、住人のプライバシーが確保されるようになっている。
【先行技術文献】
【特許文献】
【0003】
特開2002-227433号公報
【発明の概要】
【発明が解決しようとする課題】
【0004】
ところが、住宅が、例えば塀状の遮蔽物によって厳重に目隠しされると、住宅の開放感が損なわれることはもちろんのこと、侵入者の姿を隠してしまうことにより防犯性が損なわれてしまう場合もある。
【0005】
本発明は上記事情に鑑みてなされたものであり、その目的は、住宅の開放感が損なわれないようにしつつ防犯性を向上できるようにすることである。
【課題を解決するための手段】
【0006】
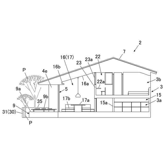
請求項1に記載の発明は、住宅2の外構構造であって、例えば図1~図6に示すように、住宅2が建築された敷地1のうち前記住宅2の正面外壁4(南側外壁4)から離間した位置に塀30が立設されており、
前記正面外壁4には、人が出入りするための掃き出し窓5が設けられており、
前記塀30は、前記正面外壁4のうち前記掃き出し窓5が設けられた第一部位の前方に立設された第一塀31を備えており、
前記正面外壁4のうち前記掃き出し窓5が設けられた前記第一部位と前記第一塀31との間に、アウトリビングとしてのテラス部9(9a)が設けられ、
前記テラス部9は、前記第一部位と前記第一塀31との間の地面に造成された盛土Eの上に設けられていて、当該テラス部9の床面9aは、前記掃き出し窓5の屋内側に設けられた部屋16(17)の床面と略等しい高さに設定され、
前記第一塀31は、その上端部が、前記テラス部9の床面よりも上方に位置するとともに、前記掃き出し窓5の上下方向中央部よりも下方に位置するように設置されていることを特徴とする。
【0007】
請求項1に記載の発明によれば、正面外壁4のうち掃き出し窓5が設けられた第一部位と第一塀31との間に設けられたアウトリビングとしてのテラス部9(床部9a)は、第一部位と第一塀31との間の地面に造成された盛土Eの上に設けられているので、テラス部9の上にいる人は、地面に造成された盛土Eよりも更に高い位置にいることになる。そして、テラス部9の床面9aは、掃き出し窓5の屋内側に設けられた部屋16(17)の床面と略等しい高さに設定され、第一塀31は、その上端部が、テラス部9の床面よりも上方に位置するとともに、掃き出し窓5の上下方向中央部よりも下方に位置するように設置されているので、敷地1の外部からテラス部9を見た場合に、テラス部9にいる人の姿の大部分を視認することが可能となる。また、掃き出し窓5を開放することによって、屋内側に設けられた部屋16(17)とテラス部9とを連続性を持った空間として利用できる。これにより、テラス部9及び掃き出し窓5は、第一塀31によって厳重に目隠しされない状態となって住宅2の開放感が損なわれにくい。しかも、テラス部9から掃き出し窓5を通じて屋内に侵入を試みようとする人の姿の大部分を、外部から捉えることができるので防犯性を向上させることができる。
さらに、テラス部9にいる人からは、高い位置から敷地1の外部を見ることができるので見晴らしがよく、敷地1への人の出入りを確認することができて防犯上好ましい。
【0008】
請求項2に記載の発明は、例えば図1~図3に示すように、請求項1に記載の住宅2の外構構造において、
前記正面外壁4には、下端部が、前記掃き出し窓5の下端部よりも上方に位置する腰高窓6が設けられ、
前記塀30は、前記正面外壁4のうち前記腰高窓6が設けられているとともに、正面視において前記第一部位と隣り合って配置されている第二部位の前方に立設された第二塀32を備え、
前記第二塀32の上端部と前記腰高窓6の下端部が略等しい高さ位置となっていることを特徴とする。
【0009】
請求項2に記載の発明によれば、正面外壁4には、下端部が、掃き出し窓5の下端部よりも上方に位置する腰高窓6が設けられ、塀30は、正面外壁4のうち腰高窓6が設けられているとともに、正面視において第一部位と隣り合って配置されている第二部位の前方に立設された第二塀32を備え、第二塀32の上端部と腰高窓6の下端部が略等しい高さ位置となっているので、腰高窓6は、第二塀32によって厳重に目隠しされない状態となり、住宅2の開放感が損なわれにくい。しかも、腰高窓6を通じて屋内に侵入を試みようとする人がいた場合に、その姿の大部分が第二塀32よりも上方に露出することになり、敷地1の外部から確実に捉えることができるので、防犯性を向上させることができる。
【0010】
請求項3に記載の発明は、例えば図1,図3に示すように、請求項2に記載の住宅2の外構構造において、
前記第一塀31と前記第二塀32は、平面視において前後方向に間隔を空けて配置されているとともに、間口方向にずれて配置されていることによって雁行配置されていることを特徴とする。
(【0011】以降は省略されています)
この特許をJ-PlatPat(特許庁公式サイト)で参照する
関連特許
ミサワホーム株式会社
門扉の支持構造及びブラケット
13日前
個人
接合構造
2か月前
個人
屋台
2か月前
個人
タッチミー
2か月前
個人
安心補助てすり
1か月前
個人
筋交自動設定装置
2か月前
個人
ベンリナアングル
2か月前
個人
免震建築構造
6日前
個人
防災建築物
1か月前
株式会社フジタ
合成床
6日前
株式会社シンケン
住宅
1か月前
個人
住宅の省エネ方法
2日前
個人
身体用シェルター
2か月前
個人
身体用シェルター
2か月前
個人
可搬型供養墓
2か月前
株式会社熊谷組
木質材料
2か月前
三協立山株式会社
構造体
1か月前
三協立山株式会社
構造体
2か月前
株式会社熊谷組
床構成材
2か月前
三協立山株式会社
構造体
2か月前
株式会社熊谷組
吊り治具
2か月前
三協立山株式会社
構造体
2か月前
三協立山株式会社
構造体
2か月前
三協立山株式会社
構造体
2か月前
三協立山株式会社
構造体
2か月前
三洋工業株式会社
床構造
1か月前
三協立山株式会社
構造体
1か月前
三協立山株式会社
構造体
29日前
株式会社大林組
接合構造
1か月前
株式会社エフコンサルタント
面材
2か月前
ミサワホーム株式会社
住宅
1か月前
アイジー工業株式会社
スターター
2か月前
鹿島建設株式会社
制震架構
1か月前
鹿島建設株式会社
解体方法
1か月前
鹿島建設株式会社
接合構造
1か月前
岡部株式会社
柱梁接合構造
21日前
続きを見る
他の特許を見る