TOP
|
特許
|
意匠
|
商標
特許ウォッチ
Twitter
他の特許を見る
公開番号
2025173727
公報種別
公開特許公報(A)
公開日
2025-11-28
出願番号
2024079434
出願日
2024-05-15
発明の名称
門扉の支持構造及びブラケット
出願人
ミサワホーム株式会社
,
YKK AP株式会社
代理人
個人
主分類
E06B
11/02 20060101AFI20251120BHJP(戸,窓,シャッタまたはローラブラインド一般;はしご)
要約
【課題】門扉の下端部を地面の近くまで延ばすことができるとともに、門扉を支障なく開閉できるようにする。
【解決手段】門14の少なくとも一方側に、基礎2aに上に構築された壁13aが設けられ、基礎2aは、立ち上がり部における厚みが壁の厚みよりも厚く形成されるとともに、立ち上がり部の厚み方向一側面が壁の厚み方向一側面よりも外方にはみ出していて、壁の厚み方向一側面の門側端部に、ブラケット30を介して門扉14aが支持され、ブラケットは壁の厚み方向一側面に固定され、基礎の厚み方向一側面よりも外方に突出して上下方向に長尺なブラケット本体31aと、ブラケット本体のうち基礎の厚み方向一側面よりも外方に突出している部位の下端部から下方に延出した下方延出部31bを有し、門扉は、ブラケット本体の上端部と下方延出部に設けられたヒンジ部20を介して回転動作自在に支持されている。
【選択図】図3
特許請求の範囲
【請求項1】
人が出入りする出入口である門の少なくとも一方側に、基礎に上に構築された壁が設けられ、
前記基礎は、立ち上がり部における厚みが前記壁の厚みよりも厚く形成されているとともに、当該立ち上がり部の厚み方向一側面が、前記壁の厚み方向一側面よりも外方にはみ出した状態となっていて、
前記壁における厚み方向一側面の前記門側の端部に、ブラケットを介して門扉が支持されており、
前記ブラケットは、
前記壁の厚み方向一側面に固定されるとともに、前記基礎の厚み方向一側面よりも外方に突出し、上下方向に長尺に形成されたブラケット本体と、
前記ブラケット本体のうち、側面視において前記基礎の厚み方向一側面よりも外方に突出している部位の下端部から下方に延出して設けられた下方延出部と、を有しており、
前記門扉は、少なくとも前記ブラケット本体の上端部と前記下方延出部に設けられたヒンジ部を介して回転動作自在に支持されていることを特徴とする門扉の支持構造。
続きを表示(約 980 文字)
【請求項2】
請求項1に記載の門扉の支持構造において、
前記壁は、前記基礎における前記立ち上がり部の上に立設された壁本体と、前記壁本体を被覆する外装材と、を備えており、
前記ブラケットは、前記外装材の表面よりも外側に配置されているとともに、固定部材によって前記壁本体に対して固定されていることを特徴とする門扉の支持構造。
【請求項3】
屋外設置物を、基礎の上に構築された壁で支持するためのブラケットであって、
前記基礎の立ち上がり部における厚みが前記壁の厚みよりも厚く形成されているとともに、前記立ち上がり部の厚み方向一側面が、前記壁の厚み方向一側面よりも外方にはみ出した状態となっており、
前記壁の厚み方向一側面に固定されるとともに、前記基礎の厚み方向一側面よりも外方に突出し、上下方向に長尺に形成されたブラケット本体と、
前記ブラケット本体のうち、側面視において前記基礎の厚み方向一側面よりも外方に突出している部位の下端部から下方に延出して設けられた下方延出部と、を有しており、
前記ブラケット本体のうち側面視において前記基礎の厚み方向一側面よりも外方に突出している部位と前記下方延出部が前記屋外設置物の取付箇所となっていることを特徴とするブラケット。
【請求項4】
請求項3に記載のブラケットにおいて、
上下方向に長尺に形成された第一ブラケット形成部材と、
前記第一ブラケット形成部材よりも長尺に形成されているとともに、前記第一ブラケット形成部材に接合された第二ブラケット形成部材と、を含んで構成されており、
前記第一ブラケット形成部材の上端面と前記第二ブラケット形成部材の上端面は面一とされ、
前記第二ブラケット形成部材のうち前記第一ブラケット形成部材の下端面よりも下方に延出した部位が前記下方延出部とされていることを特徴とするブラケット。
【請求項5】
請求項4に記載のブラケットにおいて、
当該ブラケットは中空状に形成されており、
前記第一ブラケット形成部材のうち前記壁側に位置する側面が、前記第一ブラケット形成部材を前記壁に固定するための固定箇所となっていることを特徴とするブラケット。
発明の詳細な説明
【技術分野】
【0001】
本発明は、門扉の支持構造及びブラケットに関する。
続きを表示(約 2,900 文字)
【背景技術】
【0002】
例えば特許文献1のように門扉を設置する場合に、地面上に間隔をおいて立設した支柱のうち、門扉取り付け側の支柱の一側面の長手方向に沿って門扉のヒンジ取り付け用の突出部を形成し、その突出部に取り付けたヒンジ用台座を介して門扉を吊り下げるようにして取り付ける技術が知られている。また、門袖は、突出部を除いて支柱の周囲を覆うように板状の下地材が張設されて門袖基体が形成され、下地材の表面にレンガタイルが張設されて壁として構成されている。
【先行技術文献】
【特許文献】
【0003】
特開平11-247568号公報
【発明の概要】
【発明が解決しようとする課題】
【0004】
ところで、壁である門袖は、住宅の壁と同様に基礎上に構築される場合があり、その場合、門扉を開閉させるためのヒンジ部を、基礎の立ち上がり部よりも上方の高さ位置に設ける必要がある。ところが、ヒンジ部が高い位置に設けられることになると、門扉の下端部の高さ位置も高くしなければならない場合がある。そして、このように門扉の下端部の高さ位置が高くなると、地面と門扉の下端部との間に隙間が形成されてしまって好ましくない。また、高い位置に設けられたヒンジ部によって門扉を支持することで、門扉の開閉に支障を来すことも十分に考えられるため、たとえ門袖を構成する壁が基礎上に構築された場合であっても、ヒンジ部の高さ位置を下げて、門扉を支障なく開閉できるようにしたいという要望があった。また、このような門扉に限らず、屋外設置物14aを、基礎上に構築される壁に取り付ける場合には、その下端部の高さ位置が高くなると、地面と屋外設置物の下端部との間に隙間が形成されてしまって好ましくない場合がある。
【0005】
本発明は上記事情に鑑みてなされたものであり、その目的は、門袖を構成する壁が基礎上に構築された場合であっても、門扉の下端部を地面の近くまで延ばすことができるとともに、門扉を支障なく開閉できるようにすることである。さらに、門扉以外の屋外設置物であっても、その下端部を地面の近くに配置できるようにすることである。
【課題を解決するための手段】
【0006】
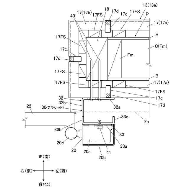
請求項1に記載の発明は、例えば図1~図6に示すように、門扉14a(22,23)の支持構造であって、
人が出入りする出入口である門14の少なくとも一方側に、基礎2aに上に構築された壁13a(第一遮蔽壁13a)が設けられ、
前記基礎2aは、立ち上がり部における厚みが前記壁13aの厚みよりも厚く形成されているとともに、当該立ち上がり部の厚み方向一側面が、前記壁13aの厚み方向一側面よりも外方にはみ出した状態となっていて、
前記壁13aにおける厚み方向一側面の前記門14側の端部に、ブラケット30を介して門扉14aが支持されており、
前記ブラケット30は、
前記壁13aの厚み方向一側面に固定されるとともに、前記基礎2aの厚み方向一側面よりも外方に突出し、上下方向に長尺に形成されたブラケット本体31aと、
前記ブラケット本体31aのうち、側面視において前記基礎2aの厚み方向一側面よりも外方に突出している部位の下端部から下方に延出して設けられた下方延出部31bと、を有しており、
前記門扉14aは、少なくとも前記ブラケット本体31aの上端部と前記下方延出部31bに設けられたヒンジ部20を介して回転動作自在に支持されていることを特徴とする。
【0007】
請求項1に記載の発明によれば、ブラケット本体31aは、壁13aの厚み方向一側面に固定されるとともに、基礎2aの厚み方向一側面よりも外方に突出し、上下方向に長尺に形成されていて、下方延出部31bは、ブラケット本体31aのうち、側面視において基礎2aの厚み方向一側面よりも外方に突出している部位の下端部から下方に延出して設けられているので、ブラケット本体31aの突出方向先端部と下方延出部31bは、基礎2aの厚み方向一側面よりも外方に位置することとなる。そして、門扉14aは、少なくともブラケット本体31aの上端部と下方延出部31bに設けられたヒンジ部20を介して回転動作自在に支持されているので、門扉14aは、基礎2aの厚み方向一側面よりも外方の位置であって、かつ、ブラケット本体31aの上端部と、基礎2aの立ち上がり部における上端面よりも低い位置で回転動作自在に支持されることとなる。これにより、門袖を構成する壁13aが基礎2a上に構築された場合であっても、門扉14aの下端部を地面の近くまで延ばすことができるとともに、門扉14aを支障なく開閉できる。
【0008】
請求項2に記載の発明は、例えば図2~図4に示すように、請求項1に記載の門扉14aの支持構造において、
前記壁13aは、前記基礎2aにおける前記立ち上がり部の上に立設された壁本体P(建築用木質パネルP)と、前記壁本体Pを被覆する外装材17(17a,17b)と、を備えており、
前記ブラケット30は、前記外装材17の表面よりも外側に配置されているとともに、固定部材40によって前記壁本体Pに対して固定されていることを特徴とする。
【0009】
請求項2に記載の発明によれば、ブラケット30は、外装材17の表面よりも外側に配置されているとともに、固定部材40によって壁本体Pに対して固定されているので、ブラケット30を壁13aの表面に配置しつつ、壁本体Pに対して強固に固定することができる。これにより、ブラケット30を壁の厚み方向一側面に確実かつ強固に配置することができるので、門扉14aの下端部を地面の近くまで延ばすことができるとともに、門扉14aを支障なく開閉できる。
【0010】
請求項3に記載の発明は、例えば図2~図6に示すように、屋外設置物(例えば門扉14a)を、基礎2aの上に構築された壁13a(例えば第一遮蔽壁13a)で支持するためのブラケット30であって、
前記基礎2aの立ち上がり部における厚みが前記壁13aの厚みよりも厚く形成されているとともに、前記立ち上がり部の厚み方向一側面が、前記壁13aの厚み方向一側面よりも外方にはみ出した状態となっており、
前記壁13aの厚み方向一側面に固定されるとともに、前記基礎2aの厚み方向一側面よりも外方に突出し、上下方向に長尺に形成されたブラケット本体31aと、
前記ブラケット本体31aのうち、側面視において前記基礎2aの厚み方向一側面よりも外方に突出している部位の下端部から下方に延出して設けられた下方延出部31bと、を有しており、
前記ブラケット本体31aのうち側面視において前記基礎2aの厚み方向一側面よりも外方に突出している部位と前記下方延出部31bが前記屋外設置物14aの取付箇所となっていることを特徴とする。
(【0011】以降は省略されています)
この特許をJ-PlatPat(特許庁公式サイト)で参照する
関連特許
ミサワホーム株式会社
玄関
22日前
ミサワホーム株式会社
門扉の支持構造及びブラケット
1日前
ミサワホーム株式会社
事業所情報提供システム、事業所情報提供方法、事業所情報提供装置及びプログラム
9日前
株式会社ナカオ
作業台
2か月前
中国電力株式会社
脚立
3か月前
株式会社ニチベイ
遮蔽装置
1か月前
三協立山株式会社
開口部装置
1か月前
三協立山株式会社
開口部建材
23日前
三協立山株式会社
開口部建材
23日前
三協立山株式会社
開口部装置
3か月前
三協立山株式会社
開口部装置
3か月前
三協立山株式会社
開口部装置
3か月前
三協立山株式会社
開口部装置
2か月前
三協立山株式会社
開口部装置
2か月前
ミサワホーム株式会社
水切り材
3か月前
豊田合成株式会社
調光装置
1か月前
不二サッシ株式会社
引違いサッシ
2か月前
文化シヤッター株式会社
止水装置
1か月前
不二サッシ株式会社
引違いサッシ
1か月前
文化シヤッター株式会社
引戸装置
1か月前
豊田合成株式会社
調光装置
22日前
株式会社LIXIL
太陽電池ガラス
2か月前
三協立山株式会社
サッシの製造方法
2か月前
株式会社LIXIL
建具
1か月前
倉敷紡績株式会社
外構ユニット
1か月前
株式会社LIXIL
建具
1か月前
株式会社LIXIL
建具
1か月前
株式会社LIXIL
建具
2か月前
株式会社LIXIL
建具
1か月前
株式会社LIXIL
建具
1か月前
株式会社LIXIL
建具
3か月前
株式会社LIXIL
建具
2か月前
株式会社LIXIL
建具
3か月前
株式会社LIXIL
建具
2か月前
有限会社高橋土木
梯子固定装置
9日前
株式会社LIXIL
建具
2か月前
続きを見る
他の特許を見る