TOP
|
特許
|
意匠
|
商標
特許ウォッチ
Twitter
他の特許を見る
公開番号
2025169025
公報種別
公開特許公報(A)
公開日
2025-11-12
出願番号
2024073974
出願日
2024-04-30
発明の名称
ブース
出願人
アイリスチトセ株式会社
代理人
個人
,
個人
主分類
E04H
1/12 20060101AFI20251105BHJP(建築物)
要約
【課題】快適性を高めることができるブースを提供する。
【解決手段】ブースは、扉と当該扉に対して幅方向に対向する側壁とを含む筐体と、筐体の内部空間を空調する空調装置5とを備え、空調装置5は、空気の吸込口61と、吸込口61から吸い込まれた空気を空調する空調部と、空気の排出口63と、空調部で空調された空気を排出口63から排出させる送風部とを含み、空調装置5は、幅方向であって扉側に向けて空気を排出するように配置され、空調装置5は、排出口63から排出される空気の向きが、幅方向と交差する方向に変更されるように当該空気を案内する空気案内部7をさらに備える。
【選択図】図4
特許請求の範囲
【請求項1】
扉と当該扉に対して幅方向に対向する側壁とを含む筐体と、
前記筐体の内部空間を空調する空調装置と
を備え、
前記空調装置は、
空気の吸込口と、
前記吸込口から吸い込まれた空気を空調する空調部と、
空気の排出口と、
前記空調部で空調された空気を前記排出口から排出させる送風部と
を含み、
前記空調装置は、前記幅方向であって前記扉側に向けて前記空気を排出するように配置され、
前記空調装置は、前記排出口から排出される空気の向きが、前記幅方向と交差する方向に変更されるように当該空気を案内する空気案内部をさらに備える、
ブース。
続きを表示(約 620 文字)
【請求項2】
前記空調装置は、
前記空調部を収容する筐体部と、
前記空調部で生じる凝縮水を貯留する水タンク部と
を含み、
前記水タンク部は、前記筐体部に対して、前記幅方向に引き出し可能である、
請求項1に記載のブース。
【請求項3】
前記空調装置は、前記排出口から排出される空気の向きを調整し且つ前記筐体の上下方向と交差する回動軸回りに回動可能な風向調整部をさらに含み、
前記空気案内部は、前記風向調整部の回動時の最大高さ以上の高さの空間を形成するカバー部分を含む、
請求項1又は2に記載のブース。
【請求項4】
前記空気案内部は、前記カバー部分の前記空間と連通し、前記カバー部分の上面に設けれる吹出部分をさらに備え、
前記吹出部分は、前記排出口から排出されて前記カバー部分の前記空間を通過する空気を吹出口から前記内部空間へ吹き出す、
請求項3に記載のブース。
【請求項5】
前記吹出部分の上面は、前記吹出口に向かうにしたがって上向きに傾斜する傾斜面である、
請求項4に記載のブース。
【請求項6】
前記空調装置は、前記筐体部に対して回動可能な把持部をさらに含み、
前記空気案内部は、前記筐体部と前記把持部とによって挟持される被挟持部分をさらに含む、
請求項2に記載のブース。
発明の詳細な説明
【技術分野】
【0001】
本発明は、空調装置を備えるブースに関する。
続きを表示(約 2,000 文字)
【背景技術】
【0002】
空調装置を備えるブースとして、「一般家庭等の部屋の内部に配置できる大きさに構成し、且つ換気機構を備えた小室の全体を防音構造と成し、該小室の内部には机と椅子及び照明装置を設けたことを特徴とする防音勉強部屋」が提案され、小室に簡易冷暖房器具が配置されている。
【先行技術文献】
【特許文献】
【0003】
実開昭54-156440号公報
【発明の概要】
【発明が解決しようとする課題】
【0004】
特許文献1に記載された小室(ブース)では、簡易冷暖房器具からユーザーに向かって空調風を吹き出し可能か否かは開示されておらず、小室内の快適性が不十分であった。
本発明は、上記課題に鑑みてなされたものであり、その目的は、ブース内の快適性を高めることである。
【課題を解決するための手段】
【0005】
本発明に係るブースは、扉と当該扉に対して幅方向に対向する側壁とを含む筐体と、前記筐体の内部空間を空調する空調装置とを備え、前記空調装置は、空気の吸込口と、前記吸込口から吸い込まれた空気を空調する空調部と、空気の排出口と、前記空調部で空調された空気を前記排出口から排出させる送風部とを含み、前記空調装置は、前記幅方向であって前記扉側に向けて前記空気を排出するように配置され、前記空調装置は、前記排出口から排出される空気の向きが、前記幅方向と交差する方向に変更されるように当該空気を案内する空気案内部をさらに備える。
【発明の効果】
【0006】
上記構成によれば、ブース内の快適性を高めることができる。
【図面の簡単な説明】
【0007】
本発明の実施形態に係るブースであって扉が開状態の斜視図である。
上下方向に沿ったブースの断面図である。
空調装置の概略構成図である。
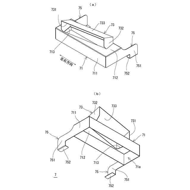
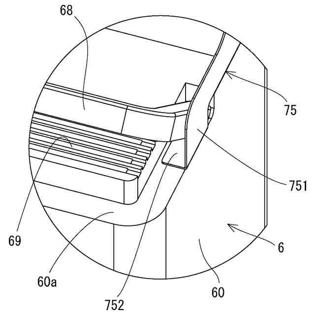
(a)は空調装置を上方から見た斜視図であり、(b)は空調装置から空気案内部及びダクト部が取り外された状態を示す斜視図である。
空気案内部の斜視図であり、(a)は上方から見た図であり、(b)は下方から見た図である。
装置の左右方向と直交する空気案内具の断面図である。
空気案内部の空調装置に対する取り付けを説明するための斜視図である。
【0008】
<概要>
本発明の一態様に係る第1のブースは、扉と当該扉に対して幅方向に対向する側壁とを含む筐体と、前記筐体の内部空間を空調する空調装置とを備え、前記空調装置は、空気の吸込口と、前記吸込口から吸い込まれた空気を空調する空調部と、空気の排出口と、前記空調部で空調された空気を前記排出口から排出させる送風部とを含み、前記空調装置は、前記幅方向であって前記扉側に向けて前記空気を排出するように配置され、前記空調装置は、前記排出口から排出される空気の向きが、前記幅方向と交差する方向に変更されるように当該空気を案内する空気案内部をさらに備える。
これにより、空気の向きを変更できるため、ブース内の快適性を高めることができる。
特に、排気用のダクト部の位置の関係で、空調装置が扉と対向する側壁に沿って配置される場合であっても、空気案内部によって空気の向きを変更できる。
ここでいう、「幅方向と交差する方向」とは、上下方向の上側や、上下方向と幅方向とに直交する前後方向の前側及び/又は後側や、上下方向の上側であって前後方向の前側及び/又は後側などであるが、これに限定されない。
【0009】
本発明の一態様に係る第2のブースは、第1のブースにおいて、前記空調装置は、前記空調部を収容する筐体部と、前記空調部で生じる凝縮水を貯留する水タンク部とを含み、前記水タンク部は、前記筐体部に対して、前記幅方向に引き出し可能である。
これにより、水タンク部に貯まった凝縮水を捨てるメンテナンス作業を容易に実施することができる。
【0010】
本発明の一態様に係る第3のブースは、第1又は第2のブースにおいて、前記空調装置は、前記排出口から排出される空気の向きを調整し且つ前記筐体の上下方向と交差する回動軸回りに回動可能な風向調整部をさらに含み、前記空気案内部は、前記風向調整部の回動時の最大高さ以上の高さの空間を形成するカバー部分を含む。
これにより、風向調整部が回動する際に、風向調整部がカバー部分と干渉するのを防止することができる。
ここでいう、「上下方向と交差する回転軸」には、上下方向と直交する仮想面内の方向、幅方向、前後方向、これらの方向と交差する方向が含まれる。
(【0011】以降は省略されています)
この特許をJ-PlatPat(特許庁公式サイト)で参照する
関連特許
個人
接合構造
2か月前
個人
タッチミー
2か月前
個人
安心補助てすり
1か月前
個人
ベンリナアングル
2か月前
個人
筋交自動設定装置
2か月前
個人
免震建築構造
3日前
個人
防災建築物
1か月前
個人
身体用シェルター
2か月前
個人
身体用シェルター
2か月前
株式会社シンケン
住宅
1か月前
株式会社フジタ
合成床
3日前
三洋工業株式会社
床構造
1か月前
三協立山株式会社
構造体
26日前
株式会社熊谷組
吊り治具
2か月前
個人
可搬型供養墓
2か月前
三協立山株式会社
構造体
1か月前
株式会社熊谷組
床構成材
2か月前
三協立山株式会社
構造体
2か月前
三協立山株式会社
構造体
2か月前
三協立山株式会社
構造体
2か月前
三協立山株式会社
構造体
2か月前
三協立山株式会社
構造体
2か月前
三協立山株式会社
構造体
2か月前
株式会社大林組
接合構造
1か月前
三協立山株式会社
構造体
1か月前
ミサワホーム株式会社
住宅
1か月前
鹿島建設株式会社
解体方法
1か月前
鹿島建設株式会社
制震架構
1か月前
鹿島建設株式会社
接合構造
1か月前
ミサワホーム株式会社
玄関
1か月前
岡部株式会社
柱梁接合構造
18日前
鹿島建設株式会社
補強構造
3日前
ミサワホーム株式会社
住戸
2か月前
ミサワホーム株式会社
建物
2か月前
株式会社エフコンサルタント
面材
2か月前
株式会社エフコンサルタント
面材
2か月前
続きを見る
他の特許を見る