TOP
|
特許
|
意匠
|
商標
特許ウォッチ
Twitter
他の特許を見る
公開番号
2025169678
公報種別
公開特許公報(A)
公開日
2025-11-14
出願番号
2024074629
出願日
2024-05-02
発明の名称
支柱の支持構造
出願人
株式会社タカショー
代理人
個人
,
個人
主分類
E04H
12/22 20060101AFI20251107BHJP(建築物)
要約
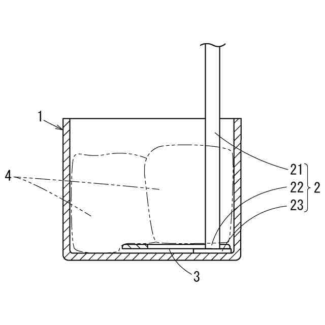
【課題】ウッドデッキ等の設置面を傷つけることなく設置できるとともに、設置場所の自由度が高い支柱の支持構造を提供すること。
【解決手段】設置面Fへの支柱の支持構造であって、支柱2の下端部が、設置面Fに載置された上部開口の容器1の底に受けられるとともに、支柱2の下端部に係止される係止構造を有する荷重受けプレートが、容器1内で水平方向に移動可能で、かつ、支柱2の下端部に係止された状態で容器1内に収容されるとともに、重し袋4が支柱2の下端部に係止された状態の荷重受けプレート上に載置されている支柱の支持構造。
【選択図】図1
特許請求の範囲
【請求項1】
設置面への支柱の支持構造であって、
支柱の下端部が、前記設置面に載置された上部開口の容器の底に受けられるとともに、
前記支柱の下端に係止される係止構造を有する荷重受けプレートが、前記容器内で水平方向に移動可能で、かつ、前記支柱の下端に係止された状態で前記容器内に収容されるとともに、
重しが前記支柱の下端に係止された状態の前記荷重受けプレート上に載置されていることを特徴とする支柱の支持構造。
続きを表示(約 200 文字)
【請求項2】
前記重しが、袋体内に粒状体が充填された重し袋である請求項1に記載の支柱の支持構造。
【請求項3】
前記支柱が、支柱本体と、この支柱本体の下端に設けられた板状の脚部を有し、前記荷重受けプレートが、前記脚部より大面積で、前記支柱本体がスライド自在に嵌り込むスリットを備え、
前記スリットの縁部が前記脚部を係止される請求項1または2に記載の支柱の支持構造。
発明の詳細な説明
【技術分野】
【0001】
本発明は、オーニングなどの支柱を、設置面を痛めることなく支持可能な支柱の支持構造に関する。
続きを表示(約 1,500 文字)
【背景技術】
【0002】
個人の住宅敷地内にウッドデッキを設ける家庭が増えている。しかし、とりあえず自宅の庭スペースにウッドデッキを設けてみたものの、積極的に利用することなく、そのまま放置されるケースもある。比較的手ごろな価格で、かつ手軽に設置できるので、利用目的があいまいなまま設置して、いざ利用しようとすると日よけのためのオーニングがなくて日差しの強い日中や雨天時は全く利用できないという問題があった。
【0003】
組み立て/分解/再利用が容易なオーニングがあれば、必要な時にだけウッドデッキの上にオーニングを組み立てて、使用が終わったらこれを解体して次の使用まで保管することが出来る。ウッドデッキにオーニングが設置されることで、そこにガーデンファニチャーや、目かくし照明などを置いて屋外での活動をより楽しめるようになる。
【0004】
ところで、オーニングなどは、強風により吹き飛ばされるおれがあり、支柱の下端を固定しておく必要がある。設置場所が地面の上であれば、ペグなどに固定金具を支柱の下端に設けられた脚部の孔越しに固定金具を地面に打ち込むようにすればよい。しかしながら、ベランダやテラスの木製床やコンクリート床に敷設された床材の上に設置する場合、釘などを打ち込んで支柱を固定すると、オーニングが不要になり取り除いたとき、釘孔などが床面に残り見栄えの悪いものとなってしまう。
【0005】
一方、金属製の重しとなる重し容器を設置面に載置するとともに、支柱本体の下端を重し容器内に挿入し、重し容器の底に設けた固定部にボルトで固定するようにした支柱の支持構造がすでに提案されている(特許文献1参照)。
【0006】
すなわち、上記支持構造では、重し容器の重みによって、支柱を設置面の所望位置に固定した状態に維持できるので、床面を傷つけることがない。
【0007】
特開2005-155063号公報
【発明の概要】
【発明が解決しようとする課題】
【0008】
しかしながら、ウッドデッキ等は、その大きさや形状が異なったり、障害物が存在したりする場合がある。したがって、上記特許文献1の支持構造では、重し容器がはみ出たり、障害物によって設置できないという問題がある。
本発明は、上記問題に鑑みて、設置面を傷つけることなく設置できるとともに、設置場所の自由度が高い支柱の支持構造を提供することを目的としている。
【課題を解決するための手段】
【0009】
前記課題を解決するために、本願発明にかかる支柱の支持構造は、支柱の下端部が、前記設置面に載置された上部開口の容器の底に受けられるとともに、前記支柱の下端に係止される係止構造を有する荷重受けプレートが、前記容器内で水平方向に移動可能で、かつ、前記支柱の下端に係止された状態で前記容器内に収容されるとともに、重しが前記支柱の下端に係止された状態の前記荷重受けプレート上に載置されていることを特徴とする。
【0010】
本発明において、前記重しとしては、荷重受けプレートに支柱を固定する十分な荷重を加えることができれば、特に限定されないが、たとえば、袋体内に粒状体が充填された重し袋が好適である。すなわち、容器の大きさに応じて袋体に充填する粒状体の充填量を調整することができる。また、かかる重し袋は、1つでも複数用いられても構わない。
(【0011】以降は省略されています)
この特許をJ-PlatPat(特許庁公式サイト)で参照する
関連特許
株式会社タカショー
塀
14日前
株式会社タカショー
塀
14日前
株式会社タカショー
支柱の支持構造
7日前
個人
接合構造
1か月前
個人
屋台
2か月前
個人
タッチミー
1か月前
個人
野良猫ハウス
2か月前
個人
転落防止用手摺
2か月前
個人
フェンス
3か月前
個人
安心補助てすり
29日前
ニチハ株式会社
建築板
2か月前
個人
地下型マンション
4か月前
個人
筋交自動設定装置
1か月前
積水樹脂株式会社
柵体
2か月前
個人
居住車両用駐車場
2か月前
個人
ベンリナアングル
1か月前
個人
鋼管結合資材
4か月前
個人
熱抵抗多層断熱建材
2か月前
株式会社タナクロ
テント
4か月前
個人
補強部材
2か月前
個人
柵
3か月前
個人
防災建築物
1か月前
個人
身体用シェルター
1か月前
鹿島建設株式会社
壁体
2か月前
成友建設株式会社
建物
2か月前
個人
身体用シェルター
1か月前
個人
循環流水式屋根融雪装置
4か月前
株式会社シンケン
住宅
1か月前
三洋工業株式会社
床構造
1か月前
三協立山株式会社
構造体
1か月前
三協立山株式会社
構造体
1か月前
株式会社熊谷組
吊り治具
1か月前
三協立山株式会社
構造体
1か月前
三協立山株式会社
構造体
1か月前
三協立山株式会社
構造体
9日前
インターマン株式会社
天井構造
3か月前
続きを見る
他の特許を見る