TOP
|
特許
|
意匠
|
商標
特許ウォッチ
Twitter
他の特許を見る
公開番号
2025161599
公報種別
公開特許公報(A)
公開日
2025-10-24
出願番号
2024064923
出願日
2024-04-12
発明の名称
場所打ちコンクリート杭の施工方法
出願人
株式会社竹中工務店
代理人
弁理士法人太陽国際特許事務所
主分類
E02D
5/34 20060101AFI20251017BHJP(水工;基礎;土砂の移送)
要約
【課題】場所打ちコンクリート杭の施工時に、コンクリート性状の悪化を抑制することを目的とする。
【解決手段】場所打ちコンクリート杭の施工方法は、杭孔10に挿入された第一トレミー管20及び第二トレミー管30によって杭孔10にコンクリートを打設する場所打ちコンクリート杭の施工方法において、第二トレミー管30を介して杭孔10にコンクリートを打設しながら、第一トレミー管20へのコンクリートの供給を停止し、第一トレミー管20を引き上げて該第一トレミー管20の上端側を分断する第一トレミー管引き上げ工程と、第一トレミー管20を介して杭孔10にコンクリートを打設しながら、第二トレミー管30へのコンクリートの供給を停止し、第二トレミー管30を引き上げて該第二トレミー管30の上端側を分断する第二トレミー管引き上げ工程と、を備える。
【選択図】図3
特許請求の範囲
【請求項1】
杭孔に挿入された第一トレミー管及び第二トレミー管によって前記杭孔にコンクリートを打設する場所打ちコンクリート杭の施工方法において、
前記第一トレミー管へのコンクリートの供給を停止し、前記第二トレミー管を介して前記杭孔にコンクリートを打設しながら、前記第一トレミー管を引き上げて該第一トレミー管の上端側を分断する第一トレミー管引き上げ工程と、
前記第二トレミー管へのコンクリートの供給を停止し、前記第一トレミー管を介して前記杭孔にコンクリートを打設しながら、前記第二トレミー管を引き上げて該第二トレミー管の上端側を分断する第二トレミー管引き上げ工程と、
を備える場所打ちコンクリート杭の施工方法。
続きを表示(約 810 文字)
【請求項2】
前記第一トレミー管及び前記第二トレミー管は、開閉式分岐配管を介してコンクリート供給管に接続され、
前記第一トレミー管引き上げ工程において、前記開閉式分岐配管の前記第一トレミー管側を閉じることにより、前記第一トレミー管へのコンクリートの供給を停止し、
前記第二トレミー管引き上げ工程において、前記開閉式分岐配管の前記第二トレミー管側を閉じることにより、前記第二トレミー管へのコンクリートの供給を停止する、
請求項1に記載の場所打ちコンクリート杭の施工方法。
【請求項3】
前記第一トレミー管及び前記第二トレミー管によって前記杭孔にコンクリートを打設する並行打設工程を備える、
請求項1又は請求項2に記載の場所打ちコンクリート杭の施工方法。
【請求項4】
杭孔に挿入された第一トレミー管及び第二トレミー管によって前記杭孔にコンクリートを打設する場所打ちコンクリート杭の施工方法において、
前記第一トレミー管及び前記第二トレミー管は、軸方向に分断可能に連結される複数の配管をそれぞれ有し、
前記第一トレミー管及び前記第二トレミー管は、一端同士を揃えた状態で、前記配管の連結部が軸方向にずれる部分を有し、
前記第一トレミー管へのコンクリートの供給を停止し、前記第二トレミー管を介して前記杭孔にコンクリートを打設しながら、前記第一トレミー管を引き上げて該第一トレミー管の上端側を前記配管の連結部で分断する第一トレミー管引き上げ工程と、
前記第二トレミー管へのコンクリートの供給を停止し、前記第一トレミー管を介して前記杭孔にコンクリートを打設しながら、前記第二トレミー管を引き上げて該第二トレミー管の上端側を前記配管の連結部で分断する第二トレミー管引き上げ工程と、
を備える場所打ちコンクリート杭の施工方法。
発明の詳細な説明
【技術分野】
【0001】
本発明は、場所打ちコンクリート杭の施工方法に関する。
続きを表示(約 1,200 文字)
【背景技術】
【0002】
海底基礎の施工時に、水中にコンクリートを打設する水中コンクリート打設工法が知られている(例えば、特許文献1参照)。
【0003】
また、安定液が充填された杭孔に、トレミー管によってコンクリートを打設する場所打ちコンクリート杭の施工方法が知られている(例えば、特許文献2参照)。
【先行技術文献】
【特許文献】
【0004】
特開平06-322764号公報
特開平08-184035号公報
【発明の概要】
【発明が解決しようとする課題】
【0005】
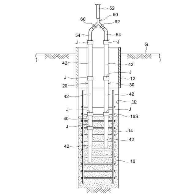
ここで、杭孔に打設されたコンクリート内へのトレミー管の下端側の挿入長さが長くなると、トレミー管の下端から打設されるコンクリートの流動抵抗が大きくなり、例えば、トレミー管が詰まる可能性がある。そのため、トレミー管は、コンクリート内への下端側の挿入長さが所定値(上限値)を超えないように、順に引き上げられる。この際、トレミー管へのコンクリートの供給が停止され、引き上げられたトレミー管の上端側が分断される。
【0006】
しかしながら、トレミー管を引き上げてその上端側を分断する度に、杭孔へのコンクリートの打設を中断すると、施工時間が長くなり、スランプ等のコンクリート性状が悪化する可能性がある。
【0007】
本発明は、上記の事実を考慮し、場所打ちコンクリート杭の施工時に、コンクリート性状の悪化を抑制することを目的とする。
【課題を解決するための手段】
【0008】
請求項1に記載の場所打ちコンクリート杭の施工方法は、杭孔に挿入された第一トレミー管及び第二トレミー管によって前記杭孔にコンクリートを打設する場所打ちコンクリート杭の施工方法において、前記第一トレミー管へのコンクリートの供給を停止し、前記第二トレミー管を介して前記杭孔にコンクリートを打設しながら、前記第一トレミー管を引き上げて該第一トレミー管の上端側を分断する第一トレミー管引き上げ工程と、前記第二トレミー管へのコンクリートの供給を停止し、前記第一トレミー管を介して前記杭孔にコンクリートを打設しながら、前記第二トレミー管を引き上げて該第二トレミー管の上端側を分断する第二トレミー管引き上げ工程と、を備える。
【0009】
請求項1に係る場所打ちコンクリート杭の施工方法によれば、先ず、第一トレミー管引き上げ工程において、第二トレミー管を介して杭孔にコンクリートを打設しながら、第一トレミー管へのコンクリートの供給を停止し、第一トレミー管を引き上げて第一トレミー管の上端側を分断する。
【0010】
次に、第二トレミー管引き上げ工程において、第一トレミー管を介して杭孔にコンクリートを打設しながら、第二トレミー管へのコンクリートの供給を停止し、第二トレミー管を引き上げて第二トレミー管の上端側を分断する。
(【0011】以降は省略されています)
この特許をJ-PlatPat(特許庁公式サイト)で参照する
関連特許
株式会社竹中工務店
発電システム
5日前
株式会社竹中工務店
配管ユニット構造
12日前
株式会社竹中工務店
ラチス構造材の補強構造
今日
個人
バケット
20日前
個人
建物の不同沈下の修正方法
27日前
鹿島建設株式会社
接続方法
今日
株式会社富田製作所
継手部構造
20日前
千代田工営株式会社
回転貫入杭
1か月前
株式会社大林組
操縦装置
23日前
ヤンマーホールディングス株式会社
作業機械
1か月前
日立建機株式会社
建設機械
13日前
ヤンマーホールディングス株式会社
作業機械
1か月前
日立建機株式会社
作業機械
12日前
日立建機株式会社
作業機械
1か月前
FKS株式会社
擁壁及び擁壁の築造方法
22日前
株式会社次世代一次産業実践所
登山道の施工装置
28日前
株式会社三誠
建物の免震構造
27日前
山形新興株式会社
建築物の基礎及び基礎成形型
1か月前
日本車輌製造株式会社
杭打機の表示システム
15日前
個人
アンカーボルト支持装置
1か月前
日本車輌製造株式会社
杭打機の制御システム
26日前
ナブテスコ株式会社
ドーザブレード駆動機構
12日前
日本車輌製造株式会社
建設機械の電源システム
26日前
株式会社大林組
施工支援装置及び施工支援方法
22日前
株式会社大林組
施工支援装置及び施工支援方法
22日前
株式会社大林組
評価支援装置及び評価支援方法
21日前
株式会社大林組
施工支援装置及び施工支援方法
22日前
個人
保護カバー及び保護カバーの取付方法
15日前
株式会社大林組
免震構造及び免震構造の施工方法
15日前
北海道電力株式会社
滞留水への酸素供給方法
1か月前
大成建設株式会社
推定方法
27日前
個人
真空バケット浚渫工法と真空バケット及び真空バケット浚渫船
26日前
住友重機械工業株式会社
作業機械の遠隔制御システム
1か月前
個人
斜面保護構造、及び、斜面保護構造施工方法
12日前
株式会社中山ホールディングス
作業補助装置及び作業システム
22日前
鹿島建設株式会社
生態系環境改善部材及び生態系環境改善構造
12日前
続きを見る
他の特許を見る