TOP
|
特許
|
意匠
|
商標
特許ウォッチ
Twitter
他の特許を見る
公開番号
2025169768
公報種別
公開特許公報(A)
公開日
2025-11-14
出願番号
2024074860
出願日
2024-05-02
発明の名称
発電システム
出願人
株式会社竹中工務店
代理人
弁理士法人太陽国際特許事務所
主分類
H02S
40/22 20140101AFI20251107BHJP(電力の発電,変換,配電)
要約
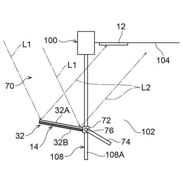
【課題】発電効率の低下や外的要因による破損を抑制することができる発電システムを提供する。
【解決手段】発電システム10は、屋内の天井面104へ配設された太陽光発電シート12と、屋外の日射光L1を太陽光発電シート12へ反射させる反射板14と、を有する。
【選択図】図1
特許請求の範囲
【請求項1】
屋内の天井面へ配設された太陽光発電材と、
屋外の日射光を前記太陽光発電材へ反射させる反射板と、
を備えた発電システム。
続きを表示(約 260 文字)
【請求項2】
前記太陽光発電材は、前記天井面に貼り付けられた太陽光発電シートであり、
前記反射板は、窓の外側から跳ね出した状態で設けられている、請求項1に記載の発電システム。
【請求項3】
前記反射板は、線膨張係数が大きい金属板を線膨張係数が小さい金属板の上面に貼り付けて形成され、前記上面を前記天井面に向けて取り付けられた金属合板である、請求項2に記載の発電システム。
【請求項4】
前記反射板は、水平面に対する傾斜角度を調整可能に設けられている、請求項2に記載の発電システム。
発明の詳細な説明
【技術分野】
【0001】
本発明は、発電システムに関する。
続きを表示(約 1,200 文字)
【背景技術】
【0002】
下記特許文献1には、建物の室内において外窓に対して所定の間隔をおいた位置に配置されたスクリーン部と、スクリーン部を巻き取り可能に保持する保持部と、を備えたロールスクリーン装置が開示されている。スクリーン部は、太陽電池ユニットが設けられた第1スクリーン部と、第1スクリーン部を覆うように設けられた第2スクリーン部と、を備えている。
【0003】
下記特許文献2には、建物外壁部の開口部の外側に取り付けられた太陽電池兼用ライトシェルフが開示されている。太陽電池兼用ライトシェルフは、入射した太陽光の一部を反射させる受光面を有した太陽電池パネルを、略水平に配置して開口部に沿って鉛直方向に間隔を隔て複数枚配設している。
【先行技術文献】
【特許文献】
【0004】
特開2013-177746号公報
特開2000-213255号公報
【発明の概要】
【発明が解決しようとする課題】
【0005】
上記特許文献1に記載のロールスクリーン装置では、建物の室内の外窓に対して間隔をおいた位置に、第1スクリーン部と第2スクリーン部とが設けられている。このため、日射光が第1スクリーン部の太陽電池ユニットに直接照射されにくく、太陽電池ユニットを効率よく発電することが難しい。
【0006】
上記特許文献2では、建物外壁部の開口部の外側に太陽電池パネルを略水平に配置することで、日射光が太陽電池パネルに直接照射されやすい。しかし、太陽電池パネルが屋外に配置されていることで、汚れによる発電効率の低下や、雨や雹などの外的要因により太陽電池パネルの破損が発生する可能性がある、
【0007】
本発明は上記事実を考慮し、発電効率の低下や外的要因による破損を抑制することができる発電システムを提供することが目的である。
【課題を解決するための手段】
【0008】
第1態様に記載の発電システムは、屋内の天井面へ配設された太陽光発電材と、屋外の日射光を前記太陽光発電材へ反射させる反射板と、を備えている。
【0009】
第1態様に記載の発電システムによれば、太陽光発電材を屋内の天井面に配設し、反射板で日射光を太陽光発電材へ反射することで、屋外に設置する場合と比較して、汚れによる発電効率低下や雨や雹などによるデバイスの破損といった外的要因に対する耐久性が向上した発電システムを構築できる。
【0010】
第2態様に記載の発電システムは、第1態様に記載の発電システムにおいて、前記太陽光発電材は、前記天井面に貼り付けられた太陽光発電シートであり、前記反射板は、窓の外側から跳ね出した状態で設けられている。
(【0011】以降は省略されています)
この特許をJ-PlatPat(特許庁公式サイト)で参照する
関連特許
株式会社竹中工務店
複合壁
1か月前
株式会社竹中工務店
構造物
1か月前
株式会社竹中工務店
建物構造
1か月前
株式会社竹中工務店
免震構造
1か月前
株式会社竹中工務店
免震建物
1か月前
株式会社竹中工務店
建物構造
1か月前
株式会社竹中工務店
発電システム
24日前
株式会社竹中工務店
跳ね出し架構
1か月前
株式会社竹中工務店
煙突改修方法
1か月前
株式会社竹中工務店
水素供給システム
12日前
株式会社竹中工務店
帯状木質材巻付体
1か月前
株式会社竹中工務店
配管ユニット構造
1か月前
株式会社竹中工務店
排水処理システム
3日前
株式会社竹中工務店
塗装方法及び積層材料
10日前
株式会社竹中工務店
水平打ち継ぎ部補強構造
3日前
株式会社竹中工務店
ラチス構造材の補強構造
19日前
株式会社竹中工務店
人流推定装置及び人流推定方法
1か月前
株式会社竹中工務店
荷重支持構造及び荷重支持方法
1か月前
株式会社竹中工務店
被覆基材及び被覆基材の製造方法
10日前
株式会社竹中工務店
天井構造及び天井構造の固定方法
18日前
株式会社竹中工務店
場所打ちコンクリート杭の施工方法
1か月前
株式会社竹中工務店
ノイズ除去方法及びノイズ除去プログラム
1か月前
株式会社竹中工務店
構真柱の施工方法、及び構真柱の支持構造
18日前
株式会社竹中工務店
制御装置、制御方法、及び制御プログラム
4日前
株式会社竹中工務店
鉄筋コンクリート躯体と鉄骨柱との接合構造
1か月前
株式会社竹中工務店
CaCO3量推定方法及び炭酸化度判定方法
3日前
株式会社竹中工務店
ジオポリマー組成物及びジオポリマー硬化体
1か月前
株式会社竹中工務店
パラメータ探索装置及びパラメータ探索方法
3日前
株式会社竹中工務店
輝度分布推定装置及び輝度分布推定プログラム
1か月前
株式会社竹中工務店
信号処理装置、信号処理方法、及び信号処理プログラム
11日前
株式会社竹中工務店
熱中症リスク評価支援装置及び熱中症リスク評価支援プログラム
1か月前
日本製鉄株式会社
セメント硬化体補強用鋼繊維及びセメント組成物
1か月前
株式会社竹中工務店
木質柱仕口部材接合構造、プレキャスト仕口部材の施工方法、及びプレキャスト仕口部材
1か月前
個人
高圧電気機器の開閉器
19日前
個人
電気を重力で発電装置
1か月前
キヤノン電子株式会社
モータ
1か月前
続きを見る
他の特許を見る