TOP
|
特許
|
意匠
|
商標
特許ウォッチ
Twitter
他の特許を見る
公開番号
2025158442
公報種別
公開特許公報(A)
公開日
2025-10-17
出願番号
2024060975
出願日
2024-04-04
発明の名称
鉄筋コンクリート躯体と鉄骨柱との接合構造
出願人
株式会社竹中工務店
代理人
弁理士法人太陽国際特許事務所
主分類
E04B
1/58 20060101AFI20251009BHJP(建築物)
要約
【課題】鉄筋コンクリート躯体に生じた力を鉄骨柱の軸力として鉄骨柱に効果的に伝達することである。
【解決手段】鉄筋コンクリート躯体と鉄骨柱との接合構造は、鉄筋コンクリート製の躯体と、躯体に上端部分が埋設された鉄骨柱と、鉄骨柱において躯体に埋設された上端部分から水平方向に突出し、躯体からの荷重を受ける支圧面が形成された突出部材とを備える
【選択図】図4
特許請求の範囲
【請求項1】
鉄筋コンクリート製の躯体と、
前記躯体に上端部分が埋設された鉄骨柱と、
前記鉄骨柱において前記躯体に埋設された上端部分から水平方向に突出し、前記躯体からの荷重を受ける支圧面が形成された突出部材と、
を備える鉄筋コンクリート躯体と鉄骨柱との接合構造。
続きを表示(約 260 文字)
【請求項2】
前記躯体は、梁及び前記梁に下端部が接合された壁であり、
前記突出部材は、一対設けられ、一対の前記突出部材は、前記梁に埋設されており、
一方の前記突出部材と他方の突出部材とは、前記鉄骨柱を挟んで反対側に配置されている、
請求項1に記載の鉄筋コンクリート躯体と鉄骨柱との接合構造。
【請求項3】
前記突出部材は、H鋼材であって、板厚方向が上下方向とされたフランジ板に前記支圧面が形成されている、
請求項1に記載の鉄筋コンクリート躯体と鉄骨柱との接合構造。
発明の詳細な説明
【技術分野】
【0001】
本開示は、鉄筋コンクリート躯体と鉄骨柱との接合構造に関する。
続きを表示(約 1,200 文字)
【背景技術】
【0002】
特許文献1に記載の鉄筋コンクリート梁と鉄骨の柱又は鉄骨を備える柱との接合方法では、鉄骨柱を建て込んだ後に、複数の鉄筋接続用カプラーを固定した鋼板を、鉄骨柱に、鉄骨柱の外周部に設けられたダイヤフラムを介して取り付けると共に、鉄筋コンクリート梁の梁主筋を、鉄筋接続用カプラーに挿入して定着させる。
【先行技術文献】
【特許文献】
【0003】
特開2015-129426号公報
【発明の概要】
【発明が解決しようとする課題】
【0004】
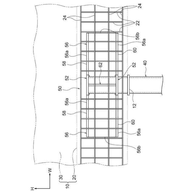
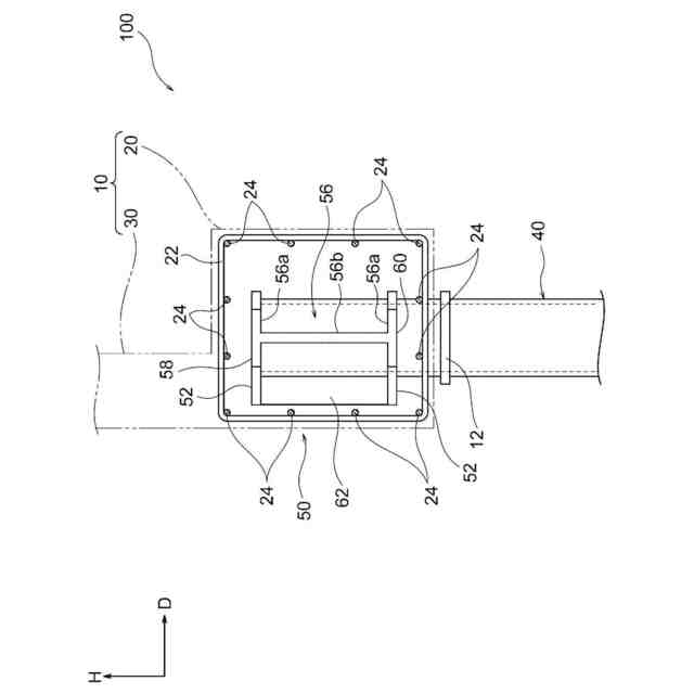
近年デザイン性を考慮して、外部に露出された鉄骨柱の上端部分に鉄筋コンクリート製の躯体を構築することがある。
【0005】
本開示の課題は、鉄筋コンクリート製の躯体に生じた力を鉄骨柱の軸力として鉄骨柱に効果的に伝達することである。
【課題を解決するための手段】
【0006】
第1態様に係る鉄筋コンクリート躯体と鉄骨柱との接合構造は、鉄筋コンクリート製の躯体と、前記躯体に上端部分が埋設された鉄骨柱と、前記鉄骨柱において前記躯体に埋設された上端部分から水平方向に突出し、前記躯体からの荷重を受ける支圧面が形成された突出部材と、を備える。
【0007】
上記態様によれば、鉄骨柱から水平方向に突出した突出部材には、躯体からの支圧を受ける支圧面が形成されている。これにより、鉄筋コンクリート製の躯体に生じた力を、支圧面が形成された突出部材を介して鉄骨柱の軸力として鉄骨柱に効果的に伝達することができる。
【0008】
第2態様に係る鉄筋コンクリート躯体と鉄骨柱との接合構造は、第1態様に記載の鉄筋コンクリート躯体と鉄骨柱との接合構造において、前記躯体は、梁及び前記梁に下端部が接合された壁であり、前記突出部材は、一対設けられ、一対の前記突出部材は、前記梁に埋設されており、一方の前記突出部材と他方の突出部材とは、前記鉄骨柱を挟んで反対側に配置されている。
【0009】
上記態様によれば、突出部材は、梁に埋設されて一対設けられ、一方の突出部材と他方の突出部材とは、鉄骨柱を挟んで反対側に配置されている。これにより、突出部材が鉄骨柱の一方のみに配置されている場合と比して、鉄筋コンクリート製に壁に生じた力を、梁を通して、支圧面が形成された突出部材を介して鉄骨柱の軸力として鉄骨柱に効果的に伝達することができる。
【0010】
第3態様に係る鉄筋コンクリート躯体と鉄骨柱との接合構造は、第1態様に記載の鉄筋コンクリート躯体と鉄骨柱との接合構造において、前記突出部材は、H鋼材であって、板厚方向が上下方向とされたフランジ板に前記支圧面が形成されている。
(【0011】以降は省略されています)
この特許をJ-PlatPat(特許庁公式サイト)で参照する
関連特許
株式会社竹中工務店
複合壁
1か月前
株式会社竹中工務店
構造物
1か月前
株式会社竹中工務店
免震構造
1か月前
株式会社竹中工務店
建物構造
1か月前
株式会社竹中工務店
免震建物
1か月前
株式会社竹中工務店
建物構造
1か月前
株式会社竹中工務店
発電システム
24日前
株式会社竹中工務店
跳ね出し架構
1か月前
株式会社竹中工務店
水硬性組成物
2か月前
株式会社竹中工務店
煙突改修方法
1か月前
株式会社竹中工務店
帯状木質材巻付体
1か月前
株式会社竹中工務店
排水処理システム
3日前
株式会社竹中工務店
構造物の施工方法
2か月前
株式会社竹中工務店
配管ユニット構造
1か月前
株式会社竹中工務店
水素供給システム
12日前
株式会社竹中工務店
塗装方法及び積層材料
10日前
株式会社竹中工務店
ラチス構造材の補強構造
19日前
株式会社竹中工務店
水平打ち継ぎ部補強構造
3日前
株式会社竹中工務店
荷重支持構造及び荷重支持方法
1か月前
株式会社竹中工務店
人流推定装置及び人流推定方法
1か月前
株式会社竹中工務店
天井構造及び天井構造の固定方法
18日前
株式会社竹中工務店
被覆基材及び被覆基材の製造方法
10日前
株式会社竹中工務店
コンクリート製の床材の施工方法
2か月前
株式会社竹中工務店
場所打ちコンクリート杭の施工方法
1か月前
株式会社竹中工務店
ノイズ除去方法及びノイズ除去プログラム
1か月前
株式会社竹中工務店
構真柱の施工方法、及び構真柱の支持構造
18日前
株式会社竹中工務店
制御装置、制御方法、及び制御プログラム
4日前
株式会社竹中工務店
鉄筋コンクリート躯体と鉄骨柱との接合構造
1か月前
株式会社竹中工務店
CaCO3量推定方法及び炭酸化度判定方法
3日前
株式会社竹中工務店
ジオポリマー組成物及びジオポリマー硬化体
1か月前
株式会社竹中工務店
パラメータ探索装置及びパラメータ探索方法
3日前
株式会社竹中工務店
輝度分布推定装置及び輝度分布推定プログラム
1か月前
株式会社竹中工務店
水硬性組成物及び水硬性組成物硬化体の製造方法
2か月前
株式会社竹中工務店
信号処理装置、信号処理方法、及び信号処理プログラム
11日前
株式会社竹中工務店
熱中症リスク評価支援装置及び熱中症リスク評価支援プログラム
1か月前
日本製鉄株式会社
セメント硬化体補強用鋼繊維及びセメント組成物
1か月前
続きを見る
他の特許を見る