TOP
|
特許
|
意匠
|
商標
特許ウォッチ
Twitter
他の特許を見る
公開番号
2025147542
公報種別
公開特許公報(A)
公開日
2025-10-07
出願番号
2024047837
出願日
2024-03-25
発明の名称
構造物の施工方法
出願人
株式会社竹中工務店
代理人
個人
主分類
E04B
5/32 20060101AFI20250930BHJP(建築物)
要約
【課題】作業の効率化を図りながら、安全性を向上させること可能となる、構造物の施工方法を提供すること。
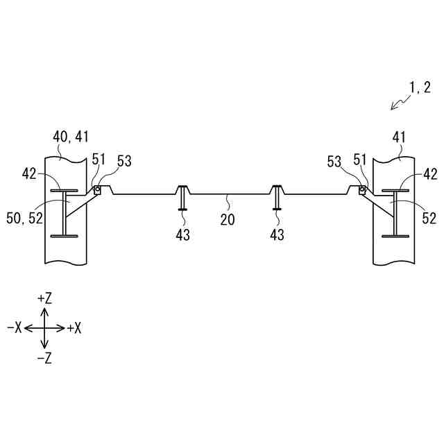
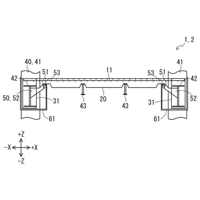
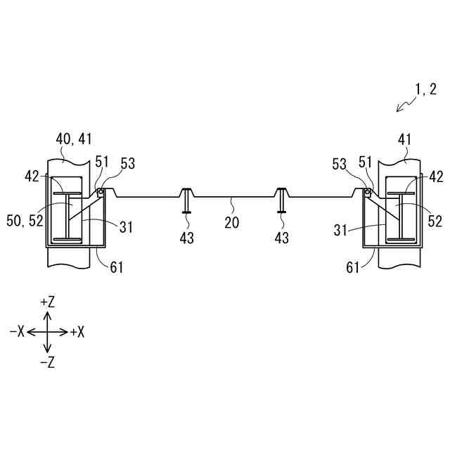
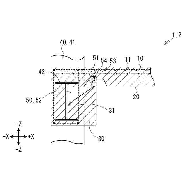
【解決手段】構造物1の施工方法は、対象階層2を備える構造物1を施工するための方法において、対象階層2において、鉄骨フレーム40を設ける設置工程と、設置工程の後に、接続部50を介して、床用デッキプレート20を鉄骨フレーム40に対して接続する接続工程と、接続工程の後に、対象階層2において、梁用鉄筋を配筋し、且つ梁用型枠を設ける第1配筋工程と、接続工程の後に、床用鉄筋を床用デッキプレート20上に配筋する第2配筋工程と、第1配筋工程及び第2配筋工程の後に、床用デッキプレート20及び梁用型枠に対してコンクリートを打設することにより、コンクリート製床材及びコンクリート製梁材を形成する打設工程と、を含む。
【選択図】図6
特許請求の範囲
【請求項1】
鉄骨フレーム、コンクリート製の床材、及びコンクリート製の梁材からなる階層を備える構造物を施工するための施工方法において、
前記階層において、前記鉄骨フレームを設ける設置工程と、
前記設置工程の後に、接続手段を介して、前記床材の型枠として機能する床用デッキプレートを前記鉄骨フレームに対して接続する接続工程と、
前記接続工程の後に、前記階層において、前記梁材を構成する梁用鉄筋を配筋し、且つ前記梁材の型枠である梁用型枠を設ける第1配筋工程と、
前記接続工程の後に、前記床材を構成する床用鉄筋を前記床用デッキプレート上に配筋する第2配筋工程と、
前記第1配筋工程及び前記第2配筋工程の後に、前記床用デッキプレート及び前記梁用型枠に対してコンクリートを打設することにより、前記床材及び前記梁材を形成する打設工程と、を含む、
構造物の施工方法。
続きを表示(約 130 文字)
【請求項2】
前記接続手段は、前記床用デッキプレートのレベルを調整する調整手段を備える、
請求項1に記載の構造物の施工方法。
【請求項3】
前記調整手段は、上下方向に略沿った長孔である、
請求項2に記載の構造物の施工方法。
発明の詳細な説明
【技術分野】
【0001】
本発明は、構造物の施工方法に関する。
続きを表示(約 1,700 文字)
【背景技術】
【0002】
従来から、SRC(鉄骨鉄筋コンクリート)造の構造物を施工するための技術の一つとして、所定の階層において、コンクリート製の梁材(梁コンクリート打設前の梁材を構築するための梁鉄筋・梁型枠材も含む)を施工してから、床用デッキプレートをコンクリート製の梁材間に設置した後に、床用デッキプレートにコンクリートを打設することで、コンクリート製の床材を施工する技術が提案されている(例えば、特許文献1参照)。
【先行技術文献】
【特許文献】
【0003】
特開2014-190116号公報
【発明の概要】
【発明が解決しようとする課題】
【0004】
ところで、近年では、上記構造物を施工する際の安全性を向上させたいというニーズが高まっている。しかしながら、上記従来の技術においては、上述したように、コンクリート製の梁材を施工してから床用デッキプレートをコンクリート製の梁材間に設置するので、例えば、コンクリート製の梁材を施工する際の安全性を確保するためには、専用の足場を別途設ける必要があることから、上記構造物を施工する際に、作業の効率化を図りながら、安全性を向上させることが難しくなるおそれがあった。よって、上記構造物を施工する際に、作業の効率化を図りながら、安全性を向上させる観点からは、改善の余地があった。
【0005】
本発明は、上記に鑑みてなされたものであって、作業の効率化を図りながら、安全性を向上させること可能となる、構造物の施工方法を提供することを目的とする。
【課題を解決するための手段】
【0006】
上述した課題を解決し、目的を達成するために、請求項1に記載の構造物の施工方法は、鉄骨フレーム、コンクリート製の床材、及びコンクリート製の梁材からなる階層を備える構造物を施工するための施工方法において、前記階層において、前記鉄骨フレームを設ける設置工程と、前記設置工程の後に、接続手段を介して、前記床材の型枠として機能する床用デッキプレートを前記鉄骨フレームに対して接続する接続工程と、前記接続工程の後に、前記階層において、前記梁材を構成する梁用鉄筋を配筋し、且つ前記梁材の型枠である梁用型枠を設ける第1配筋工程と、前記接続工程の後に、前記床材を構成する床用鉄筋を前記床用デッキプレート上に配筋する第2配筋工程と、前記第1配筋工程及び前記第2配筋工程の後に、前記床用デッキプレート及び前記梁用型枠に対してコンクリートを打設することにより、前記床材及び前記梁材を形成する打設工程と、を含む。
【0007】
請求項2に記載の構造物の施工方法は、請求項1に記載の構造物の施工方法において、前記接続手段は、前記床用デッキプレートのレベルを調整する調整手段を備える。
【0008】
請求項3に記載の構造物の施工方法は、請求項2に記載の構造物の施工方法において、前記調整手段は、上下方向に略沿った長孔である。
【発明の効果】
【0009】
請求項1に記載の構造物の施工方法によれば、設置工程の後に、接続手段を介して、床用デッキプレートを鉄骨フレームに対して接続する接続工程と、接続工程の後に行われる第1配筋工程、第2配筋工程、及び打設工程とを含むので、従来の技術(コンクリート製の梁材を施工してから床用デッキプレートを設置する技術)に比べて、床用デッキプレートを早期に設置できることから、床用デッキプレートを足場として利用できるため、接続工程の後に行われる第1配筋工程、第2配筋工程、及び打設工程において、専用の足場を別途設けることなく、これら工程の作業を安全に行うことができる。よって、構造物を施工する際に、作業の効率化を図りながら、安全性を向上させることが可能となる。
【0010】
請求項2に記載の構造物の施工方法によれば、接続手段は、床用デッキプレートのレベルを調整する調整手段を備えるので、床用デッキプレートのレベルを調整でき、床用デッキプレートの設置性を高めることができる。
(【0011】以降は省略されています)
この特許をJ-PlatPat(特許庁公式サイト)で参照する
関連特許
株式会社竹中工務店
構造物
1か月前
株式会社竹中工務店
複合壁
28日前
株式会社竹中工務店
建物構造
1か月前
株式会社竹中工務店
煙突改修方法
1か月前
株式会社竹中工務店
発電システム
21日前
株式会社竹中工務店
配管ユニット構造
28日前
株式会社竹中工務店
水素供給システム
9日前
株式会社竹中工務店
排水処理システム
今日
株式会社竹中工務店
塗装方法及び積層材料
7日前
株式会社竹中工務店
水平打ち継ぎ部補強構造
今日
株式会社竹中工務店
ラチス構造材の補強構造
16日前
株式会社竹中工務店
被覆基材及び被覆基材の製造方法
7日前
株式会社竹中工務店
天井構造及び天井構造の固定方法
15日前
株式会社竹中工務店
構真柱の施工方法、及び構真柱の支持構造
15日前
株式会社竹中工務店
制御装置、制御方法、及び制御プログラム
1日前
株式会社竹中工務店
パラメータ探索装置及びパラメータ探索方法
今日
株式会社竹中工務店
CaCO3量推定方法及び炭酸化度判定方法
今日
株式会社竹中工務店
信号処理装置、信号処理方法、及び信号処理プログラム
8日前
個人
接合構造
2か月前
個人
屋台
2か月前
個人
タッチミー
1か月前
個人
野良猫ハウス
3か月前
個人
安心補助てすり
1か月前
個人
フェンス
3か月前
個人
転落防止用手摺
2か月前
個人
ベンリナアングル
1か月前
積水樹脂株式会社
柵体
2か月前
ニチハ株式会社
建築板
3か月前
個人
居住車両用駐車場
3か月前
個人
筋交自動設定装置
2か月前
個人
熱抵抗多層断熱建材
3か月前
個人
免震建築構造
今日
個人
柵
3か月前
個人
補強部材
3か月前
成友建設株式会社
建物
3か月前
個人
身体用シェルター
2か月前
続きを見る
他の特許を見る