TOP
|
特許
|
意匠
|
商標
特許ウォッチ
Twitter
他の特許を見る
10個以上の画像は省略されています。
公開番号
2025177098
公報種別
公開特許公報(A)
公開日
2025-12-05
出願番号
2024083624
出願日
2024-05-22
発明の名称
パラメータ探索装置及びパラメータ探索方法
出願人
株式会社竹中工務店
代理人
弁理士法人太陽国際特許事務所
主分類
G05B
13/00 20060101AFI20251128BHJP(制御;調整)
要約
【課題】本制約条件を満たしつつ目標性能を実現するパラメータを効率的に探索できる。
【解決手段】パラメータ探索装置は、第1の更新処理で目標性能についての候補パラメータベクトルを更新する第1計算更新部と、第1の更新処理で更新された目標性能についての候補パラメータベクトルを入力として、制約条件についての候補パラメータベクトルを更新する第2計算更新部と、第2の更新処理を所定の条件を満たすまで繰り返し実行させ、第2の更新処理で更新された制約条件についての候補パラメータベクトルを第1の更新処理の入力として、第1の更新処理を所定の条件を満たすまで繰り返し実行させる反復計算制御部と、を含む。
【選択図】図5
特許請求の範囲
【請求項1】
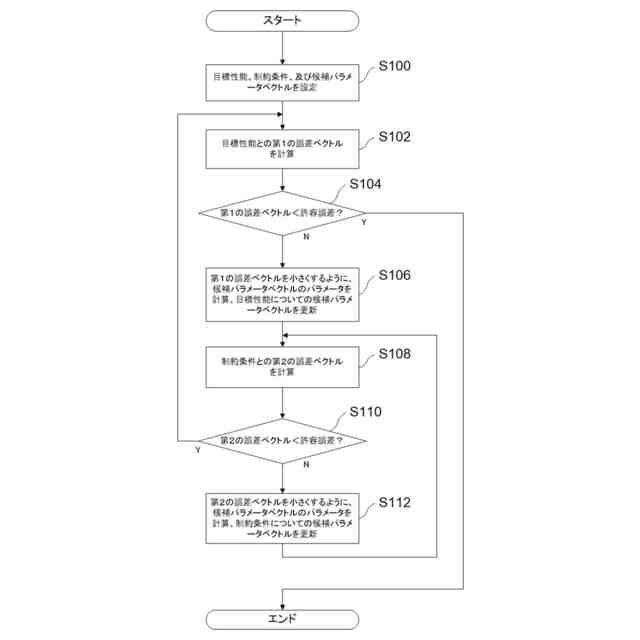
目標性能、制約条件、及び候補パラメータベクトルを設定する設定部と、
前記候補パラメータベクトルを入力として、前記目標性能についての第1の更新処理として、前記目標性能との第1の誤差ベクトルを計算し、前記第1の誤差ベクトルを小さくするように、入力された前記候補パラメータベクトルのパラメータを計算して、前記目標性能についての前記候補パラメータベクトルを更新する第1計算更新部と、
前記第1の更新処理で更新された前記目標性能についての前記候補パラメータベクトルを入力として、前記制約条件についての第2の更新処理として、前記制約条件との第2の誤差ベクトルを計算し、前記第2の誤差ベクトルを小さくするように、入力された前記候補パラメータベクトルのパラメータを計算して、前記制約条件についての前記候補パラメータベクトルを更新する第2計算更新部と、
前記第2の更新処理を所定の条件を満たすまで繰り返し実行させ、前記第2の更新処理で更新された前記制約条件についての前記候補パラメータベクトルを前記第1の更新処理の入力として、前記第1の更新処理を所定の条件を満たすまで繰り返し実行させる反復計算制御部と、
を含むパラメータ探索装置。
続きを表示(約 660 文字)
【請求項2】
前記第1の更新処理の所定の条件は、前記第1の誤差ベクトルに対して定められた許容誤差又は収斂回数の何れかとし、前記第2の更新処理の所定の条件は、前記第2の誤差ベクトルに対して定められた許容誤差又は収斂回数の何れかとする、請求項1に記載のパラメータ探索装置。
【請求項3】
コンピュータが、
目標性能、制約条件、及び候補パラメータベクトルを設定し、
前記候補パラメータベクトルを入力として、前記目標性能についての第1の更新処理として、前記目標性能との第1の誤差ベクトルを計算し、前記第1の誤差ベクトルを小さくするように、入力された前記候補パラメータベクトルのパラメータを計算して、前記目標性能についての前記候補パラメータベクトルを更新し、
前記第1の更新処理で更新された前記目標性能についての前記候補パラメータベクトルを入力として、前記制約条件についての第2の更新処理として、前記制約条件との第2の誤差ベクトルを計算し、前記第2の誤差ベクトルを小さくするように、入力された前記候補パラメータベクトルのパラメータを計算して、前記制約条件についての前記候補パラメータベクトルを更新し、
前記第2の更新処理を所定の条件を満たすまで繰り返し実行させ、前記第2の更新処理で更新された前記制約条件についての前記候補パラメータベクトルを前記第1の更新処理の入力として、前記第1の更新処理を所定の条件を満たすまで繰り返し実行させる、
処理を実行するパラメータ探索方法。
発明の詳細な説明
【技術分野】
【0001】
本発明は、パラメータ探索装置及びパラメータ探索方法に関する。
続きを表示(約 1,400 文字)
【背景技術】
【0002】
従来、パラメータ探索手法がある。例えば、等式もしくは不等式制約付き最適探索問題に関する技術がある(特許文献1参照)。この技術では、制約が無い場合の最適点が制約の外部にある場合の最適点を等式制約もしくは不等式制約の境界線上に安全に精度良く見出すための手法を開示している。
【0003】
また、最適化処理を効率よく、かつ精度よく行うための情報処理装置に関する技術がある(特許文献2参照)。この技術では、制約条件を充足する新たな制約変数を探索し、制約閾値を更新する手法を開示している。
【0004】
また、制約条件を考慮したパラメータ探索手法が検討されている(例えば、非特許文献1)。
【先行技術文献】
【特許文献】
【0005】
特開2010-250397号公報
特開2022-144049号公報
【非特許文献】
【0006】
田川聖治,宮永峻:個別機会制約条件を含む最適化問題の経験分布と差分進化法による解法,情報処理学会研究報告,Vol.2017-MPS-112 No.14,2017.2
【発明の概要】
【発明が解決しようとする課題】
【0007】
ところで、反復法を用いて制約条件を考慮したパラメータ探索を行う場合において、目標性能を実現するパラメータを、制約条件を満たした範囲で探索することは困難である。
【0008】
本発明は上記事実を考慮して、制約条件を満たしつつ目標性能を実現するパラメータを効率的に探索できることを目的とする。
【課題を解決するための手段】
【0009】
上記目的を達成するために、本発明のパラメータ探索装置は、目標性能、制約条件、及び候補パラメータベクトルを設定する設定部と、前記候補パラメータベクトルを入力として、前記目標性能についての第1の更新処理として、前記目標性能との第1の誤差ベクトルを計算し、前記第1の誤差ベクトルを小さくするように、入力された前記候補パラメータベクトルのパラメータを計算して、前記目標性能についての前記候補パラメータベクトルを更新する第1計算更新部と、前記第1の更新処理で更新された前記目標性能についての前記候補パラメータベクトルを入力として、前記制約条件についての第2の更新処理として、前記制約条件との第2の誤差ベクトルを計算し、前記第2の誤差ベクトルを小さくするように、入力された前記候補パラメータベクトルのパラメータを計算して、前記制約条件についての前記候補パラメータベクトルを更新する第2計算更新部と、前記第2の更新処理を所定の条件を満たすまで繰り返し実行させ、前記第2の更新処理で更新された前記制約条件についての前記候補パラメータベクトルを前記第1の更新処理の入力として、前記第1の更新処理を所定の条件を満たすまで繰り返し実行させる反復計算制御部と、を含む。以下では、一例として、誤差ベクトルと許容誤差との大小判定を誤差ベクトルのノルムで判定するやり方を例示する。
【発明の効果】
【0010】
本発明によれば、制約条件を満たしつつ目標性能を実現するパラメータを効率的に探索することができる、という効果が得られる。
【図面の簡単な説明】
(【0011】以降は省略されています)
この特許をJ-PlatPat(特許庁公式サイト)で参照する
関連特許
株式会社竹中工務店
構造物
1か月前
株式会社竹中工務店
複合壁
28日前
株式会社竹中工務店
免震建物
1か月前
株式会社竹中工務店
建物構造
1か月前
株式会社竹中工務店
免震構造
1か月前
株式会社竹中工務店
発電システム
21日前
株式会社竹中工務店
煙突改修方法
1か月前
株式会社竹中工務店
排水処理システム
今日
株式会社竹中工務店
水素供給システム
9日前
株式会社竹中工務店
配管ユニット構造
28日前
株式会社竹中工務店
帯状木質材巻付体
1か月前
株式会社竹中工務店
塗装方法及び積層材料
7日前
株式会社竹中工務店
ラチス構造材の補強構造
16日前
株式会社竹中工務店
水平打ち継ぎ部補強構造
今日
株式会社竹中工務店
荷重支持構造及び荷重支持方法
1か月前
株式会社竹中工務店
人流推定装置及び人流推定方法
1か月前
株式会社竹中工務店
天井構造及び天井構造の固定方法
15日前
株式会社竹中工務店
被覆基材及び被覆基材の製造方法
7日前
株式会社竹中工務店
場所打ちコンクリート杭の施工方法
1か月前
株式会社竹中工務店
構真柱の施工方法、及び構真柱の支持構造
15日前
株式会社竹中工務店
制御装置、制御方法、及び制御プログラム
1日前
株式会社竹中工務店
ノイズ除去方法及びノイズ除去プログラム
1か月前
株式会社竹中工務店
CaCO3量推定方法及び炭酸化度判定方法
今日
株式会社竹中工務店
ジオポリマー組成物及びジオポリマー硬化体
1か月前
株式会社竹中工務店
パラメータ探索装置及びパラメータ探索方法
今日
株式会社竹中工務店
鉄筋コンクリート躯体と鉄骨柱との接合構造
1か月前
株式会社竹中工務店
輝度分布推定装置及び輝度分布推定プログラム
1か月前
株式会社竹中工務店
信号処理装置、信号処理方法、及び信号処理プログラム
8日前
株式会社竹中工務店
熱中症リスク評価支援装置及び熱中症リスク評価支援プログラム
1か月前
日本製鉄株式会社
セメント硬化体補強用鋼繊維及びセメント組成物
1か月前
株式会社竹中工務店
木質柱仕口部材接合構造、プレキャスト仕口部材の施工方法、及びプレキャスト仕口部材
1か月前
個人
生産早送り装置
3か月前
株式会社豊田自動織機
産業車両
3か月前
株式会社カネカ
製造システム
3か月前
オムロン株式会社
スレーブ装置
2か月前
株式会社熊谷組
障害物の検出方法
1か月前
続きを見る
他の特許を見る