TOP
|
特許
|
意匠
|
商標
特許ウォッチ
Twitter
他の特許を見る
公開番号
2025162425
公報種別
公開特許公報(A)
公開日
2025-10-27
出願番号
2024065718
出願日
2024-04-15
発明の名称
人流推定装置及び人流推定方法
出願人
株式会社竹中工務店
代理人
弁理士法人太陽国際特許事務所
主分類
G06Q
30/0201 20230101AFI20251020BHJP(計算;計数)
要約
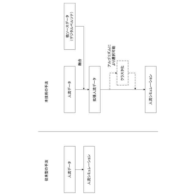
【課題】ユーザの関心を考慮した人流の推定を可能とする。
【解決手段】人流推定装置は、所定の地域をグリッド化すると共に、グリッド化された地域のユーザの移動情報について時系列の整形を行った人流データを作成する前処理部と、予め学習済みのペルソナ推定モデルを用いて、ユーザの所定のデータソースを含むデジタルペルソナであって、人流データに対応する地域についてのデジタルペルソナを抽出する抽出部と、人流データと、抽出したデジタルペルソナとを、それぞれの特徴量を用いた所定のマッチング手法を用いて統合した拡張人流データを作成する統合部と、拡張人流データを入力として、人流をシミュレーションにより推定するためのシミュレーション手法を用いて、地域の人流を推定する推定部と、を含む。
【選択図】図1
特許請求の範囲
【請求項1】
所定の地域をグリッド化すると共に、グリッド化された前記地域のユーザの移動情報について時系列の整形を行った人流データを作成する前処理部と、
予め学習済みのペルソナ推定モデルを用いて、ユーザの所定のデータソースを含むデジタルペルソナであって、前記人流データに対応する地域についての前記デジタルペルソナを抽出する抽出部と、
前記人流データと、抽出した前記デジタルペルソナとを、それぞれの特徴量を用いた所定のマッチング手法を用いて統合した拡張人流データを作成する統合部と、
前記拡張人流データを入力として、人流をシミュレーションにより推定するためのシミュレーション手法を用いて、前記地域の人流を推定する推定部と、
を含む人流推定装置。
続きを表示(約 910 文字)
【請求項2】
前記シミュレーション手法として、第1シミュレーション手法及び第2シミュレーション手法の少なくとも一方を利用し、
前記推定部は、前記第1シミュレーション手法を利用する場合には、前記拡張人流データ又は前記拡張人流データに含まれる前記人流データのみをクラスタ化し、クラスタを用いる手法を適用して、当該クラスタごとにシミュレーションを行い、クラスタごとの結果を統合して前記地域の人流を推定し、
前記推定部は、前記第2シミュレーション手法を利用する場合には、前記拡張人流データの各要素をシミュレーションの変数として組み込む手法を適用してシミュレーションを行い、前記地域の人流を推定する、請求項1に記載の人流推定装置。
【請求項3】
前記抽出部が抽出する前記デジタルペルソナの前記データソースは、前記地域に属するユーザに関する情報として、所定のデモグラフィック情報、所定の購買データ、所定の利用情報、所定の嗜好情報、及び所定の投稿情報を少なくとも含む、請求項1に記載の人流推定装置。
【請求項4】
提示部を更に含み、
前記提示部は、推定された人流の推定結果を地図上のマップにおいて表示すると共に、前記地域の前記デジタルペルソナに関する情報を表示する、請求項1に記載の人流推定装置。
【請求項5】
所定の地域をグリッド化すると共に、グリッド化された前記地域のユーザの移動情報について時系列の整形を行った人流データを作成し、
予め学習済みのペルソナ推定モデルを用いて、ユーザの所定のデータソースを含むデジタルペルソナであって、前記人流データに対応する地域についての前記デジタルペルソナを抽出し、
前記人流データと、抽出した前記デジタルペルソナとを、それぞれの特徴量を用いた所定のマッチング手法を用いて統合した拡張人流データを作成し、
前記拡張人流データを入力として、人流をシミュレーションにより推定するためのシミュレーション手法を用いて、前記地域の人流を推定する、
処理をコンピュータが実行する、人流推定方法。
発明の詳細な説明
【技術分野】
【0001】
本発明は、人流推定装置及び人流推定方法に関する。
続きを表示(約 1,400 文字)
【背景技術】
【0002】
従来、人流のシミュレーションに関する技術がある。
【0003】
例えば、人流に関する情報をユーザの意図に応じ的確に提供できる人流可視化システム等に関する技術がある(特許文献1参照)。この技術では、携帯端末装置の位置、固有識別子及び時刻を含むデータを取得し、データに基づいて前記人の移動を示す人流データを生成し、地図上に軌跡として表示することを開示している。
【0004】
また、フィールドデータに対して、ユーザによるフィールドの観察データを追加可能にし、より精緻な行動パターン分析ができるように支援することに関する技術がある(特許文献2参照)。この技術では、センサによる計測データを取得及び集約してフィールドデータを生成し、ユーザによるフィールドの観察に基づく観察データを入力し、フィールドデータに観察データを統合した統合データを生成することを開示している。
【0005】
また、行動制御のための情報提示装置等に関する技術がある(特許文献3参照)。この技術では、群行動情報には計測領域内に存在する人物の行動として人物の移動速度及び人物の流量の情報を含むようにする特徴を開示している。
【先行技術文献】
【特許文献】
【0006】
特開2023-22623号公報
特開2020-107171号公報
特再公表2018-229810号公報
【発明の概要】
【発明が解決しようとする課題】
【0007】
従来、多くの人流シミュレーション技術は、携帯電話の位置情報など、人々の移動データを利用して特定地域の人流をモデル化していた。しかし、シミュレートされた人流データの属性情報は、主にユーザのデモグラフィック情報(性別、年齢、居住地など)を中心に用いられていた。一方、購買データやSNS投稿など、個々のユーザの興味や嗜好に関する詳細な情報はほとんど統合されていなかった。その結果、シミュレーションから導き出せる情報は限定的となっていた。
【0008】
本発明は上記事実を考慮して、ユーザの関心を考慮した人流の推定を可能とすることを目的とする。
【課題を解決するための手段】
【0009】
上記目的を達成するために、本発明の人流推定装置は、所定の地域をグリッド化すると共に、グリッド化された前記地域のユーザの移動情報について時系列の整形を行った人流データを作成する前処理部と、予め学習済みのペルソナ推定モデルを用いて、ユーザの所定のデータソースを含むデジタルペルソナであって、前記人流データに対応する地域についての前記デジタルペルソナを抽出する抽出部と、前記人流データと、抽出した前記デジタルペルソナとを、それぞれの特徴量を用いた所定のマッチング手法を用いて統合した拡張人流データを作成する統合部と、前記拡張人流データを入力として、人流をシミュレーションにより推定するためのシミュレーション手法を用いて、前記地域の人流を推定する推定部と、を含む。
【発明の効果】
【0010】
本発明によれば、ユーザの関心を考慮した人流の推定を可能とする、という効果が得られる。
【図面の簡単な説明】
(【0011】以降は省略されています)
この特許をJ-PlatPat(特許庁公式サイト)で参照する
関連特許
株式会社竹中工務店
複合壁
11日前
株式会社竹中工務店
構造物
13日前
株式会社竹中工務店
立体架構
1か月前
株式会社竹中工務店
免震構造
25日前
株式会社竹中工務店
建物構造
14日前
株式会社竹中工務店
免震建物
19日前
株式会社竹中工務店
建物構造
1か月前
株式会社竹中工務店
水硬性組成物
1か月前
株式会社竹中工務店
跳ね出し架構
1か月前
株式会社竹中工務店
発電システム
4日前
株式会社竹中工務店
煙突改修方法
14日前
株式会社竹中工務店
帯状木質材巻付体
21日前
株式会社竹中工務店
構造物の施工方法
1か月前
株式会社竹中工務店
配管ユニット構造
11日前
株式会社竹中工務店
人流推定装置及び人流推定方法
22日前
株式会社竹中工務店
荷重支持構造及び荷重支持方法
20日前
株式会社竹中工務店
コンクリート製の床材の施工方法
1か月前
株式会社竹中工務店
場所打ちコンクリート杭の施工方法
25日前
株式会社竹中工務店
ノイズ除去方法及びノイズ除去プログラム
27日前
株式会社竹中工務店
ジオポリマー組成物及びジオポリマー硬化体
20日前
株式会社竹中工務店
鉄筋コンクリート躯体と鉄骨柱との接合構造
1か月前
株式会社竹中工務店
輝度分布推定装置及び輝度分布推定プログラム
27日前
株式会社竹中工務店
水硬性組成物及び水硬性組成物硬化体の製造方法
1か月前
株式会社竹中工務店
熱中症リスク評価支援装置及び熱中症リスク評価支援プログラム
19日前
日本製鉄株式会社
セメント硬化体補強用鋼繊維及びセメント組成物
27日前
株式会社竹中工務店
地盤改良用セメントスラリー組成物及びソイルセメントスラリーの調製方法
1か月前
株式会社竹中工務店
木質柱仕口部材接合構造、プレキャスト仕口部材の施工方法、及びプレキャスト仕口部材
25日前
個人
詐欺保険
1か月前
個人
縁伊達ポイン
1か月前
個人
職業自動販売機
4日前
個人
RFタグシート
22日前
個人
5掛けポイント
11日前
個人
地球保全システム
1か月前
個人
QRコードの彩色
1か月前
個人
ペルソナ認証方式
19日前
個人
情報処理装置
14日前
続きを見る
他の特許を見る