TOP
|
特許
|
意匠
|
商標
特許ウォッチ
Twitter
他の特許を見る
公開番号
2025173880
公報種別
公開特許公報(A)
公開日
2025-11-28
出願番号
2024079723
出願日
2024-05-15
発明の名称
被覆基材及び被覆基材の製造方法
出願人
株式会社竹中工務店
,
カシュー株式会社
代理人
弁理士法人太陽国際特許事務所
主分類
B32B
21/04 20060101AFI20251120BHJP(積層体)
要約
【課題】アルカリ金属珪酸塩塗料で形成された中塗層の空気中の水分等による劣化を防止又は抑制する。
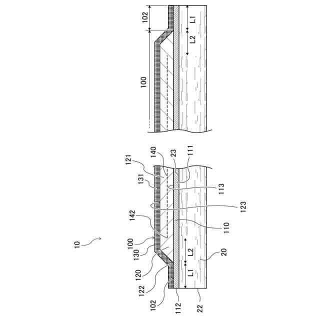
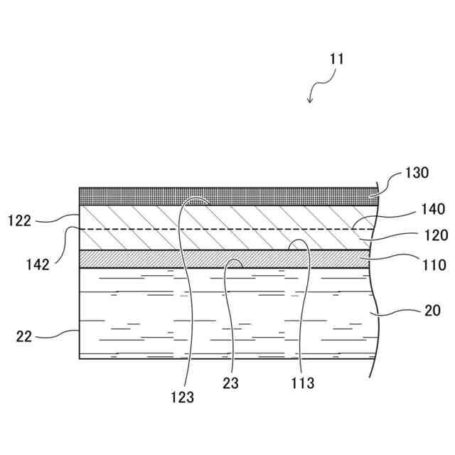
【解決手段】内装材10は、木質板20と、木質板20の板面23に第一有機系塗料111が塗布されて形成された下塗層110と、木質板20の端部22からセットバックして下塗層110の表面113にアルカリ金属珪酸塩塗料121が塗布されて形成された中塗層120と、中塗層120の表面123から下塗層120の表面122に亘り、中塗層120の端部122を覆い下塗層110の端部112に重なるように第二有機系塗料131が塗布されて形成された上塗層131と、を備える。
【選択図】図1
特許請求の範囲
【請求項1】
可燃性基材と、
前記可燃性基材の表面に第一有機系塗料が塗布されて形成された下塗層と、
前記可燃性基材の端部からセットバックして前記下塗層の表面にアルカリ金属珪酸塩塗料が塗布されて形成された中塗層と、
前記中塗層の表面から前記下塗層の表面に亘り、前記中塗層の端部を覆い前記下塗層の端部に重なるように第二有機系塗料が塗布されて形成された上塗層と、
を備える被覆基材。
続きを表示(約 590 文字)
【請求項2】
前記中塗層には、ガラス繊維で形成された布が埋設されている、
請求項1の記載の被覆基材。
【請求項3】
前記布は、前記中塗層の端部からセットバックされて埋設されている、
請求項2に記載の被覆基材。
【請求項4】
可燃性基材の上に第一有機系塗料を塗布して下塗層を形成する工程と、
前記下塗層が乾燥した後に、前記下塗層の端部の上にマスキングテープを貼るマスキング工程と、
前記マスキングテープを含む前記下塗層の上にアルカリ金属珪酸塩塗料を塗布して中塗層を形成する工程と、
前記中塗層が乾燥する前に前記マスキングテープを前記中塗層の端部と共に除去する工程と、
前記中塗層が乾燥後に、前記中塗層の端部を覆い前記下塗層の端部に重なるように第二有機系塗料を塗布して上塗層を形成する工程と、
を備える被覆基材の製造方法。
【請求項5】
前記下塗層が乾燥した後且つ前記中塗層を形成する前に、前記下塗層の端部を除く前記中塗層の上にガラス繊維で形成された布を敷設する工程を備える、
請求項4に記載の被覆基材の製造方法。
【請求項6】
前記布は、前記中塗層の端部となる位置からセットバックして敷設する、
請求項5に記載の被覆基材の製造方法。
発明の詳細な説明
【技術分野】
【0001】
本発明は、被覆基材及び被覆基材の製造方法に関する。
続きを表示(約 1,700 文字)
【背景技術】
【0002】
特許文献1には、被覆基材及びその製造方法に関する技術が開示されている。この先行技術では、被覆基材は、可燃性基材、及び、可燃性基材上に設けられたアルカリ金属珪酸塩層を備え、アルカリ金属珪酸塩層は繊維を含有する。
【0003】
特許文献2には、重防食被覆を有する鋼管杭、鋼管矢板、鋼矢板などのような重防食被覆鋼材に関する技術が開示されている。この先行技術では、鋼材表面に下層側から順に第1プライマー層、防食被覆層、第2プライマー層、保護被覆層が積層した複合被覆を有し、この複合被覆の端部は、プライマー層が防食被覆層の端部よりも外側に延伸した延伸部を有し、それらが面接着することにより、防食被覆層の端部がプライマー層間に封入され、且つ保護被覆層の端部がプライマー層の延伸部を介して鋼材に接着された被覆構造を有する。
【0004】
特許文献3には、自動車々体等の被塗装物の表面を第1色目の塗料と第2色目の塗料を用いて塗り分け塗装する方法に関する技術が開示されている。この先行技術では、下地塗膜が形成された被塗装物の表面に第1色目の塗料を塗装して第1塗膜を形成し、焼付・硬化することなく、その表面にクリヤ塗料を塗装してクリヤ塗膜を形成した後、両塗膜を同時に焼付・硬化せしめ、次にクリヤ塗装の塗り分け見切り部位にマスキング材を貼着して第1塗膜側をマスキングし、さらに、このマスキング以外の部位に着色したクリヤ塗料を塗装して第2塗膜を形成し、焼付・硬化の後、マスキング材を除去する。
【0005】
特許文献4には、塗装方法に関し、特にツートーン塗装などの多色塗装を被塗装面に施すための方法に関する技術が開示されている。この先行技術では、被塗装面に形成した第一塗膜層の上にクリア塗膜層を形成する工程と、第一塗膜層のうちマスキングシートでマスキングされていない領域の上に第二塗膜層を形成する工程と、第二塗膜層の上にクリア塗膜層を形成する工程とを備える。クリア塗膜層の形成は、第一塗膜層をクリア用マスキングシートでマスキングした状態で行うものとし、かつこのクリア用マスキングを、クリア用マスキングシートのうち第一塗膜層と第二塗膜層との見切り線側の端部を浮き上がらせてクリア用マスキングシートと第一塗膜層との間に隙間を形成した状態で行う。
【先行技術文献】
【特許文献】
【0006】
特開2018-114724号公報
特開2019-209670号公報
特開昭62-136269号公報
特開2016-137436号公報
【発明の概要】
【発明が解決しようとする課題】
【0007】
可燃性基材に有機系塗料が塗布されて形成された下塗層と、下塗層の表面にアルカリ金属珪酸塩塗料が塗布されて形成された中塗層と、中塗層の表面に有機系塗料が塗布されて形成された上塗層と、を備える被覆基材が知られている。
【0008】
しかし、被覆基材の端部において、水溶性のアルカリ金属珪酸塩塗料で形成された中塗層は、端部が空気中に露出しているので、端部から空気中の水分等による劣化が進み、剥がれや変色等が発生し、防火性能が低下する虞がある。
【0009】
本発明は、上記事実を鑑み、アルカリ金属珪酸塩塗料で形成された中塗層の空気中の水分等による劣化を防止又は抑制することが目的である。
【課題を解決するための手段】
【0010】
第一態様は、可燃性基材と、前記可燃性基材の表面に第一有機系塗料が塗布されて形成された下塗層と、前記可燃性基材の端部からセットバックして前記下塗層の表面にアルカリ金属珪酸塩塗料が塗布されて形成された中塗層と、前記中塗層の表面から前記下塗層の表面に亘り、前記中塗層の端部を覆い前記下塗層の端部に重なるように第二有機系塗料が塗布されて形成された上塗層と、を備える被覆基材である。
(【0011】以降は省略されています)
この特許をJ-PlatPat(特許庁公式サイト)で参照する
関連特許
株式会社竹中工務店
複合壁
29日前
株式会社竹中工務店
構造物
1か月前
株式会社竹中工務店
免震建物
1か月前
株式会社竹中工務店
建物構造
1か月前
株式会社竹中工務店
建物構造
1か月前
株式会社竹中工務店
免震構造
1か月前
株式会社竹中工務店
発電システム
22日前
株式会社竹中工務店
水硬性組成物
1か月前
株式会社竹中工務店
跳ね出し架構
1か月前
株式会社竹中工務店
煙突改修方法
1か月前
株式会社竹中工務店
帯状木質材巻付体
1か月前
株式会社竹中工務店
排水処理システム
1日前
株式会社竹中工務店
配管ユニット構造
29日前
株式会社竹中工務店
水素供給システム
10日前
株式会社竹中工務店
塗装方法及び積層材料
8日前
株式会社竹中工務店
ラチス構造材の補強構造
17日前
株式会社竹中工務店
水平打ち継ぎ部補強構造
1日前
株式会社竹中工務店
荷重支持構造及び荷重支持方法
1か月前
株式会社竹中工務店
人流推定装置及び人流推定方法
1か月前
株式会社竹中工務店
天井構造及び天井構造の固定方法
16日前
株式会社竹中工務店
被覆基材及び被覆基材の製造方法
8日前
株式会社竹中工務店
場所打ちコンクリート杭の施工方法
1か月前
株式会社竹中工務店
構真柱の施工方法、及び構真柱の支持構造
16日前
株式会社竹中工務店
制御装置、制御方法、及び制御プログラム
2日前
株式会社竹中工務店
ノイズ除去方法及びノイズ除去プログラム
1か月前
株式会社竹中工務店
鉄筋コンクリート躯体と鉄骨柱との接合構造
1か月前
株式会社竹中工務店
CaCO3量推定方法及び炭酸化度判定方法
1日前
株式会社竹中工務店
ジオポリマー組成物及びジオポリマー硬化体
1か月前
株式会社竹中工務店
パラメータ探索装置及びパラメータ探索方法
1日前
株式会社竹中工務店
輝度分布推定装置及び輝度分布推定プログラム
1か月前
株式会社竹中工務店
水硬性組成物及び水硬性組成物硬化体の製造方法
1か月前
株式会社竹中工務店
信号処理装置、信号処理方法、及び信号処理プログラム
9日前
株式会社竹中工務店
熱中症リスク評価支援装置及び熱中症リスク評価支援プログラム
1か月前
日本製鉄株式会社
セメント硬化体補強用鋼繊維及びセメント組成物
1か月前
株式会社竹中工務店
地盤改良用セメントスラリー組成物及びソイルセメントスラリーの調製方法
1か月前
株式会社竹中工務店
木質柱仕口部材接合構造、プレキャスト仕口部材の施工方法、及びプレキャスト仕口部材
1か月前
続きを見る
他の特許を見る