TOP
|
特許
|
意匠
|
商標
特許ウォッチ
Twitter
他の特許を見る
公開番号
2025162870
公報種別
公開特許公報(A)
公開日
2025-10-28
出願番号
2024066341
出願日
2024-04-16
発明の名称
帯状木質材巻付体
出願人
株式会社竹中工務店
代理人
弁理士法人太陽国際特許事務所
主分類
E04B
1/94 20060101AFI20251021BHJP(建築物)
要約
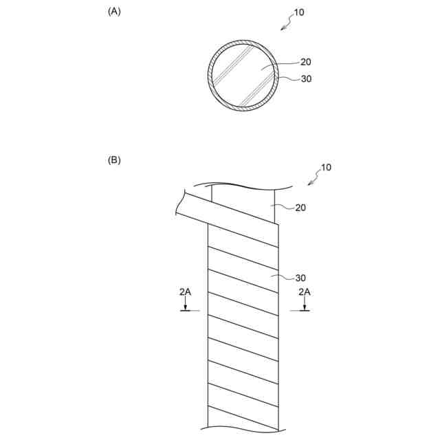
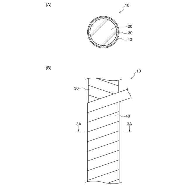
【課題】芯材に巻き付けられた帯状木質材を被覆する仕上げ材の損傷を抑制することを目的とする。
【解決手段】帯状木質材巻付体10は、芯材20と、芯材20に巻き付けられる帯状木質材30と、帯状木質材30の上から芯材20に巻き付けられる下地材40と、下地材40を被覆する仕上げ材50と、を備える。
【選択図】図1
特許請求の範囲
【請求項1】
芯材と、
前記芯材に巻き付けられる帯状木質材と、
前記帯状木質材の上から前記芯材に巻き付けられる下地材と、
前記下地材を被覆する仕上げ材と、
を備える帯状木質材巻付体。
続きを表示(約 150 文字)
【請求項2】
前記下地材は、帯状に形成され、前記帯状木質材の上から前記芯材に螺旋状に巻き付けられる、
請求項1に記載の帯状木質材巻付体。
【請求項3】
前記下地材は、紙、不織布、又は布によって形成される、
請求項1又は請求項2に記載の帯状木質材巻付体。
発明の詳細な説明
【技術分野】
【0001】
本発明は、帯状木質材巻付体に関する。
続きを表示(約 860 文字)
【背景技術】
【0002】
コンクリート部材に帯状の木質被覆材を螺旋状に巻き付けるコンクリート部材の耐火被覆構造が知られている(例えば、特許文献1参照)。
【0003】
また、コンクリート部材の長手方向に間隔をおいた複数箇所に、鋼製補強部材を巻き付けるコンクリート部材の補強構造が知られている(例えば、特許文献2参照)。
【0004】
さらに、鉄骨に、シート状の耐火被覆材を螺旋状に巻き付ける鉄骨の耐火被覆工法が知られている(例えば、特許文献3参照)。
【先行技術文献】
【特許文献】
【0005】
特開2020-016044号公報
特開2017-031774号公報
特開昭62-211437号公報
【発明の概要】
【発明が解決しようとする課題】
【0006】
ところで、意匠性等の観点から、柱等の芯材に巻き付けられた帯状木質材を仕上げ材で被覆することが考えられる。
【0007】
しかしながら、帯状木質材は、乾燥収縮等によって厚みや長さが変動する。そのため、帯状木質材を仕上げ材で被覆すると、仕上げ材にひび割れ等が発生する可能性がある。
【0008】
本発明は、上記の事実を考慮し、芯材に巻き付けられた帯状木質材を被覆する仕上げ材の損傷を抑制することを目的とする。
【課題を解決するための手段】
【0009】
請求項1に記載の帯状木質材巻付体は、芯材と、前記芯材に巻き付けられる帯状木質材と、前記帯状木質材の上から前記芯材に巻き付けられる下地材と、前記下地材を被覆する仕上げ材と、を備える。
【0010】
請求項1に係る帯状木質材巻付体によれば、帯状木質材は、芯材に巻き付けられる。また、芯材には、帯状木質材の上から下地材が巻き付けられる。この下地材が、仕上げ材によって被覆される。
(【0011】以降は省略されています)
この特許をJ-PlatPat(特許庁公式サイト)で参照する
関連特許
株式会社竹中工務店
複合壁
11日前
株式会社竹中工務店
構造物
13日前
株式会社竹中工務店
立体架構
1か月前
株式会社竹中工務店
免震構造
25日前
株式会社竹中工務店
建物構造
14日前
株式会社竹中工務店
免震建物
19日前
株式会社竹中工務店
建物構造
1か月前
株式会社竹中工務店
水硬性組成物
1か月前
株式会社竹中工務店
跳ね出し架構
1か月前
株式会社竹中工務店
発電システム
4日前
株式会社竹中工務店
煙突改修方法
14日前
株式会社竹中工務店
帯状木質材巻付体
21日前
株式会社竹中工務店
構造物の施工方法
1か月前
株式会社竹中工務店
配管ユニット構造
11日前
株式会社竹中工務店
人流推定装置及び人流推定方法
22日前
株式会社竹中工務店
荷重支持構造及び荷重支持方法
20日前
株式会社竹中工務店
コンクリート製の床材の施工方法
1か月前
株式会社竹中工務店
場所打ちコンクリート杭の施工方法
25日前
株式会社竹中工務店
ノイズ除去方法及びノイズ除去プログラム
27日前
株式会社竹中工務店
ジオポリマー組成物及びジオポリマー硬化体
20日前
株式会社竹中工務店
鉄筋コンクリート躯体と鉄骨柱との接合構造
1か月前
株式会社竹中工務店
輝度分布推定装置及び輝度分布推定プログラム
27日前
株式会社竹中工務店
水硬性組成物及び水硬性組成物硬化体の製造方法
1か月前
株式会社竹中工務店
熱中症リスク評価支援装置及び熱中症リスク評価支援プログラム
19日前
日本製鉄株式会社
セメント硬化体補強用鋼繊維及びセメント組成物
27日前
株式会社竹中工務店
地盤改良用セメントスラリー組成物及びソイルセメントスラリーの調製方法
1か月前
株式会社竹中工務店
木質柱仕口部材接合構造、プレキャスト仕口部材の施工方法、及びプレキャスト仕口部材
25日前
個人
接合構造
1か月前
個人
屋台
2か月前
個人
タッチミー
1か月前
個人
野良猫ハウス
2か月前
個人
安心補助てすり
26日前
個人
転落防止用手摺
2か月前
個人
フェンス
3か月前
個人
居住車両用駐車場
2か月前
個人
筋交自動設定装置
1か月前
続きを見る
他の特許を見る