TOP
|
特許
|
意匠
|
商標
特許ウォッチ
Twitter
他の特許を見る
公開番号
2025164003
公報種別
公開特許公報(A)
公開日
2025-10-30
出願番号
2024067705
出願日
2024-04-18
発明の名称
免震建物
出願人
株式会社竹中工務店
代理人
弁理士法人太陽国際特許事務所
主分類
E04H
9/02 20060101AFI20251023BHJP(建築物)
要約
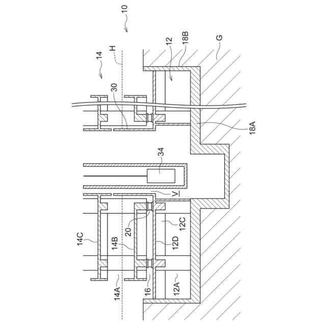
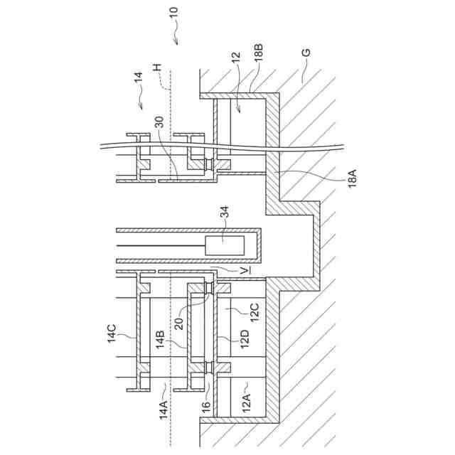
【課題】下部構造体への浸水を抑制できる免震建物を提供する。
【解決手段】免震建物10は、下部構造体12に設けられ、下部構造体12内への上方からの浸水を抑制する天井スラブ12Dと、天井スラブ12Dの上方に配置された免震装置20と、免震装置20に支持された上部構造体14と、天井スラブ12Dから立ち上がり、免震装置20が配置された免震層16の所定範囲を取り囲む防潮壁30と、を有する。
【選択図】図1
特許請求の範囲
【請求項1】
下部構造体に設けられ、前記下部構造体内への上方からの浸水を抑制する天井スラブと、
前記天井スラブの上方に配置された免震装置と、
前記免震装置に支持された上部構造体と、
前記天井スラブから立ち上がり、前記免震装置が配置された免震層の所定範囲を取り囲む防潮壁と、
を有する免震建物。
続きを表示(約 220 文字)
【請求項2】
前記所定範囲は、前記天井スラブに形成された開口である、
請求項1に記載の免震建物。
【請求項3】
前記開口にはエレベータが挿通されている、
請求項2に記載の免震建物。
【請求項4】
前記下部構造体は地下階を形成し、
前記上部構造体は地上階を形成し、
前記防潮壁は上端が前記上部構造体の一階以上の高さに配置されている、
請求項2に記載の免震建物。
発明の詳細な説明
【技術分野】
【0001】
本発明は、免震建物に関する。
続きを表示(約 860 文字)
【背景技術】
【0002】
下記特許文献1には、止水壁によって免震機構を囲んで、免震機構への浸水を防ぐ免震建物が記載されている。
【先行技術文献】
【特許文献】
【0003】
特開2022-150598号公報
【発明の概要】
【発明が解決しようとする課題】
【0004】
上記特許文献1に示された免震機構は基礎上に配置されているが、免震装置を下部構造体と上部構造体の間に配置する建物もある。このような建物では、下部構造体への浸水を抑制する必要がある。
【0005】
本発明は、上記事実を考慮し、下部構造体への浸水を抑制できる免震建物を提供することを目的とする。
【課題を解決するための手段】
【0006】
請求項1の免震建物は、下部構造体に設けられ、前記下部構造体内への上方からの浸水を抑制する天井スラブと、前記天井スラブの上方に配置された免震装置と、前記免震装置に支持された上部構造体と、前記天井スラブから立ち上がり、前記免震装置が配置された免震層の所定範囲を取り囲む防潮壁と、を有する。
【0007】
請求項1の免震建物では、天井スラブによって、下部構造体内への上方からの浸水が抑制される。また、防潮壁によって、免震層の所定範囲への浸水も抑制できる。
【0008】
請求項2の免震建物は、請求項1に記載の免震建物において、前記所定範囲は、前記天井スラブに形成された開口である。
【0009】
請求項2の免震建物では、下部構造体の天井スラブに開口が形成されているが、この開口は防潮壁によって取り囲まれている。これにより、開口を通じた下部構造体への上方からの浸水も抑制される。
【0010】
請求項3の免震建物は、請求項2に記載の免震建物において、前記開口にはエレベータが挿通されている。
(【0011】以降は省略されています)
この特許をJ-PlatPat(特許庁公式サイト)で参照する
関連特許
株式会社竹中工務店
複合壁
29日前
株式会社竹中工務店
構造物
1か月前
株式会社竹中工務店
建物構造
1か月前
株式会社竹中工務店
免震構造
1か月前
株式会社竹中工務店
免震建物
1か月前
株式会社竹中工務店
建物構造
1か月前
株式会社竹中工務店
発電システム
22日前
株式会社竹中工務店
跳ね出し架構
1か月前
株式会社竹中工務店
煙突改修方法
1か月前
株式会社竹中工務店
水素供給システム
10日前
株式会社竹中工務店
帯状木質材巻付体
1か月前
株式会社竹中工務店
配管ユニット構造
29日前
株式会社竹中工務店
排水処理システム
1日前
株式会社竹中工務店
塗装方法及び積層材料
8日前
株式会社竹中工務店
水平打ち継ぎ部補強構造
1日前
株式会社竹中工務店
ラチス構造材の補強構造
17日前
株式会社竹中工務店
人流推定装置及び人流推定方法
1か月前
株式会社竹中工務店
荷重支持構造及び荷重支持方法
1か月前
株式会社竹中工務店
被覆基材及び被覆基材の製造方法
8日前
株式会社竹中工務店
天井構造及び天井構造の固定方法
16日前
株式会社竹中工務店
場所打ちコンクリート杭の施工方法
1か月前
株式会社竹中工務店
ノイズ除去方法及びノイズ除去プログラム
1か月前
株式会社竹中工務店
構真柱の施工方法、及び構真柱の支持構造
16日前
株式会社竹中工務店
制御装置、制御方法、及び制御プログラム
2日前
株式会社竹中工務店
鉄筋コンクリート躯体と鉄骨柱との接合構造
1か月前
株式会社竹中工務店
CaCO3量推定方法及び炭酸化度判定方法
1日前
株式会社竹中工務店
ジオポリマー組成物及びジオポリマー硬化体
1か月前
株式会社竹中工務店
パラメータ探索装置及びパラメータ探索方法
1日前
株式会社竹中工務店
輝度分布推定装置及び輝度分布推定プログラム
1か月前
株式会社竹中工務店
信号処理装置、信号処理方法、及び信号処理プログラム
9日前
株式会社竹中工務店
熱中症リスク評価支援装置及び熱中症リスク評価支援プログラム
1か月前
日本製鉄株式会社
セメント硬化体補強用鋼繊維及びセメント組成物
1か月前
株式会社竹中工務店
木質柱仕口部材接合構造、プレキャスト仕口部材の施工方法、及びプレキャスト仕口部材
1か月前
個人
接合構造
2か月前
個人
タッチミー
2か月前
個人
屋台
2か月前
続きを見る
他の特許を見る