TOP
|
特許
|
意匠
|
商標
特許ウォッチ
Twitter
他の特許を見る
10個以上の画像は省略されています。
公開番号
2025165547
公報種別
公開特許公報(A)
公開日
2025-11-05
出願番号
2024069660
出願日
2024-04-23
発明の名称
構造物
出願人
株式会社竹中工務店
代理人
弁理士法人太陽国際特許事務所
主分類
E04B
1/32 20060101AFI20251028BHJP(建築物)
要約
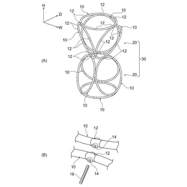
【課題】構造物を構築するための部材を集約した部材群を、容易に移送することができる構造物を得ることである。
【解決手段】円環状の4つのフレームリングを連結して正四面体リングトラスとし、一対の正四面体リングトラスの頂部を連結してユニットとし、ユニットを積層することで構造物が構成されている。
【選択図】図2
特許請求の範囲
【請求項1】
円環状の4つのフレームリングを連結して正四面体リングトラスとし、一対の前記正四面体リングトラスの頂部を連結してユニットとし、前記ユニットを積層することで構成されている、
構造物。
続きを表示(約 150 文字)
【請求項2】
複数の前記フレームリングは、前記フレームリングの中心軸方向及び半径方向の少なくとも一方向へ重ねられることで集約される、
請求項1に記載の構造物。
【請求項3】
前記フレームリングの内側に円板部材が設けられている、
請求項1又は2に記載の構造物。
発明の詳細な説明
【技術分野】
【0001】
本開示は、構造物に関する。
続きを表示(約 1,000 文字)
【背景技術】
【0002】
特許文献1には、簡単に組立や解体ができて軽量な丸みを帯びた簡易構造物を開発すことを課題とし、可撓性の薄板材を環状に湾曲させて基盤材に取り付けてドーム型構造物あるいはトンネル型構造物が記載されている。
【先行技術文献】
【特許文献】
【0003】
特開2021-121703号公報
【発明の概要】
【発明が解決しようとする課題】
【0004】
従来、構造物は、柱、梁等の直線状に延びる部材を複数用いて構築されている。さらに、柱、梁の長さ、柱、梁の断面は、使用する位置によって異なるため、多種多用な部材が用いられている。このような構成では、構造物を構築するための部材を集約したときの体積が大きくなってしまうため、集約した部材群を一度に移送するのが困難であった。
【0005】
本開示の課題は、構造物を構築するための部材を集約した部材群を、容易に移送することができる構造物を得ることである。
【課題を解決するための手段】
【0006】
第1態様に係る構造物では、円環状の4つのフレームリングを連結して正四面体リングトラスとし、一対の前記正四面体リングトラスの頂部を連結してユニットとし、前記ユニットを積層することで構成されていることを特徴とする。
【0007】
上記態様によれば、構造物を構築するための部材は、円環状のフレームリングである。これにより、部材を集約したときの体積が小さくなるため、構造物を構築するための部材を集約した部材群を、容易に移送することができる構造物を得ることができる。
【0008】
第2態様に係る構造物では、第1態様に記載の構造物において、複数の前記フレームリングは、前記フレームリングの中心軸方向及び半径方向の少なくとも一方向へ重ねられることで集約されることを特徴とする。
【0009】
上記態様によれば、フレームリングをフレームリングの中心軸方向及び半径方向の少なくとも一方向で重ねることでコンパクトな集約形態とすることができる。
【0010】
第3態様に係る構造物は、第1又は第2態様に記載の構造物において、前記フレームリングの内側に円板部材が設けられていることを特徴とする。
(【0011】以降は省略されています)
この特許をJ-PlatPat(特許庁公式サイト)で参照する
関連特許
株式会社竹中工務店
複合壁
28日前
株式会社竹中工務店
構造物
1か月前
株式会社竹中工務店
免震構造
1か月前
株式会社竹中工務店
建物構造
1か月前
株式会社竹中工務店
免震建物
1か月前
株式会社竹中工務店
建物構造
1か月前
株式会社竹中工務店
発電システム
21日前
株式会社竹中工務店
跳ね出し架構
1か月前
株式会社竹中工務店
水硬性組成物
1か月前
株式会社竹中工務店
煙突改修方法
1か月前
株式会社竹中工務店
帯状木質材巻付体
1か月前
株式会社竹中工務店
排水処理システム
今日
株式会社竹中工務店
構造物の施工方法
1か月前
株式会社竹中工務店
配管ユニット構造
28日前
株式会社竹中工務店
水素供給システム
9日前
株式会社竹中工務店
塗装方法及び積層材料
7日前
株式会社竹中工務店
ラチス構造材の補強構造
16日前
株式会社竹中工務店
水平打ち継ぎ部補強構造
今日
株式会社竹中工務店
荷重支持構造及び荷重支持方法
1か月前
株式会社竹中工務店
人流推定装置及び人流推定方法
1か月前
株式会社竹中工務店
天井構造及び天井構造の固定方法
15日前
株式会社竹中工務店
被覆基材及び被覆基材の製造方法
7日前
株式会社竹中工務店
コンクリート製の床材の施工方法
1か月前
株式会社竹中工務店
場所打ちコンクリート杭の施工方法
1か月前
株式会社竹中工務店
ノイズ除去方法及びノイズ除去プログラム
1か月前
株式会社竹中工務店
構真柱の施工方法、及び構真柱の支持構造
15日前
株式会社竹中工務店
制御装置、制御方法、及び制御プログラム
1日前
株式会社竹中工務店
鉄筋コンクリート躯体と鉄骨柱との接合構造
1か月前
株式会社竹中工務店
CaCO3量推定方法及び炭酸化度判定方法
今日
株式会社竹中工務店
ジオポリマー組成物及びジオポリマー硬化体
1か月前
株式会社竹中工務店
パラメータ探索装置及びパラメータ探索方法
今日
株式会社竹中工務店
輝度分布推定装置及び輝度分布推定プログラム
1か月前
株式会社竹中工務店
水硬性組成物及び水硬性組成物硬化体の製造方法
1か月前
株式会社竹中工務店
信号処理装置、信号処理方法、及び信号処理プログラム
8日前
株式会社竹中工務店
熱中症リスク評価支援装置及び熱中症リスク評価支援プログラム
1か月前
日本製鉄株式会社
セメント硬化体補強用鋼繊維及びセメント組成物
1か月前
続きを見る
他の特許を見る