TOP
|
特許
|
意匠
|
商標
特許ウォッチ
Twitter
他の特許を見る
公開番号
2025151319
公報種別
公開特許公報(A)
公開日
2025-10-09
出願番号
2024052671
出願日
2024-03-28
発明の名称
コンクリート製の床材の施工方法
出願人
株式会社竹中工務店
代理人
個人
主分類
E04B
5/26 20060101AFI20251002BHJP(建築物)
要約
【課題】施工の自由度を高めることが可能となる、コンクリート製の床材の施工方法を提供すること。
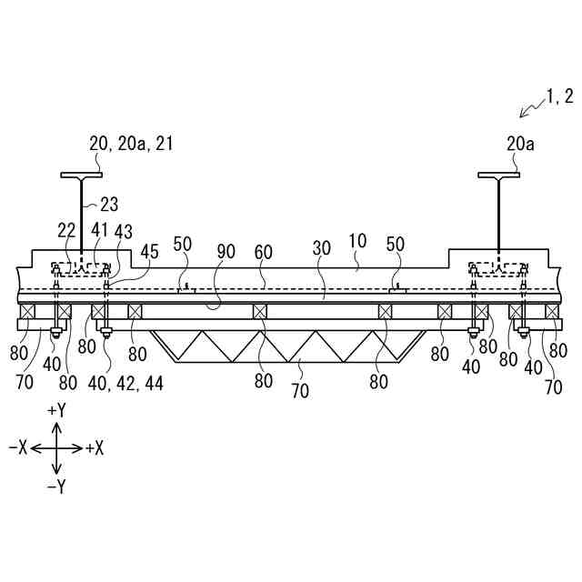
【解決手段】コンクリート製床材10の施工方法は、一対の梁材20の上端よりも下方に設けられるコンクリート製床材10を施工するための方法であって、一対の梁材20同士の相互間に支保工70を配置して、第1接続部材40を介して一対の梁材20の各々と支保工70とを接続する第1設置工程と、仕上材30を支保工70に設ける第2設置工程と、第1設置工程及び第2設置工程の後に、仕上材30の上面にコンクリートを打設することにより、コンクリート製床材10を形成する形成工程と、を含む。
【選択図】図3
特許請求の範囲
【請求項1】
一対の梁材の上端よりも下方に設けられるコンクリート製の床材を施工するための施工方法であって、
前記一対の梁材同士の相互間に支保工を配置して、第1接続部材を介して前記一対の梁材の各々と前記支保工とを接続する第1設置工程と、
仕上材を前記支保工に設ける第2設置工程と、
前記第1設置工程及び前記第2設置工程の後に、前記仕上材の上面にコンクリートを打設することにより、前記床材を形成する形成工程と、
を含む、コンクリート製の床材の施工方法。
続きを表示(約 380 文字)
【請求項2】
前記第1接続部材は、
前記梁材に接続される接続片と、
前記接続片と前記支保工とを接続するボルト部材と、を備える、
請求項1に記載のコンクリート製の床材の施工方法。
【請求項3】
前記形成工程においては、前記仕上材と前記床材とを接続するための第2接続部材を設ける、
請求項1又は2に記載のコンクリート製の床材の施工方法。
【請求項4】
前記第2設置工程においては、前記仕上材と前記支保工との相互間に、前記仕上材の損傷を抑制するための損傷抑制材を設ける、
請求項1又は2に記載のコンクリート製の床材の施工方法。
【請求項5】
前記形成工程においては、前記仕上材の上面にノロ止め材を設ける、
請求項1又は2に記載のコンクリート製の床材の施工方法。
発明の詳細な説明
【技術分野】
【0001】
本発明は、コンクリート製の床材の施工方法に関する。
続きを表示(約 1,400 文字)
【背景技術】
【0002】
従来から、コンクリート製の床材を施工する技術の一つとして、一対の大梁材を設置してから、一対の大梁材間に小梁材を架け渡し、その後床用型枠及び床用鉄筋を小梁材上に設けてから、床用型枠にコンクリートを打設することにより、コンクリート製の床材を施工する技術が提案されている(例えば、特許文献1参照)。
【先行技術文献】
【特許文献】
【0003】
特開平7-207800号公報
【発明の概要】
【発明が解決しようとする課題】
【0004】
ところで、近年では、梁材の上端よりも下方にコンクリート製の床材を施工したいとのニーズが高まっている。しかしながら、上記従来の技術については、梁材の上端よりも下方にコンクリート製の床材を施工する場合に適用することが難しいことから、例えば、コンクリート製の床材よりも下方に設置される別の床材を利用して、コンクリート製の床材を施工することが想定される。ただ、この場合には、コンクリート製の床材の施工タイミングが別の床材の設置タイミングに依存することになるため、当該施工の自由度が低下してしまうおそれがあった。よって、コンクリート製の床材の施工の自由度を高める観点からは、改善の余地があった。
【0005】
本発明は、上記に鑑みてなされたものであって、施工の自由度を高めることが可能となる、コンクリート製の床材の施工方法を提供することを目的とする。
【課題を解決するための手段】
【0006】
上述した課題を解決し、目的を達成するために、請求項1に記載のコンクリート製の床材の施工方法は、一対の梁材の上端よりも下方に設けられるコンクリート製の床材を施工するための施工方法であって、前記一対の梁材同士の相互間に支保工を配置して、第1接続部材を介して前記一対の梁材の各々と前記支保工とを接続する第1設置工程と、仕上材を前記支保工に設ける第2設置工程と、前記第1設置工程及び前記第2設置工程の後に、前記仕上材の上面にコンクリートを打設することにより、前記床材を形成する形成工程と、を含む。
【0007】
請求項2に記載のコンクリート製の床材の施工方法は、請求項1に記載のコンクリート製の床材の施工方法において、前記第1接続部材は、前記梁材に接続される接続片と、前記接続片と前記支保工とを接続するボルト部材と、を備える。
【0008】
請求項3に記載のコンクリート製の床材の施工方法は、請求項1又は2に記載のコンクリート製の床材の施工方法において、前記形成工程においては、前記仕上材と前記床材とを接続するための第2接続部材を設ける。
【0009】
請求項4に記載のコンクリート製の床材の施工方法は、請求項1又は2に記載のコンクリート製の床材の施工方法において、前記第2設置工程においては、前記仕上材と前記支保工との相互間に、前記仕上材の損傷を抑制するための損傷抑制材を設ける。
【0010】
請求項5に記載のコンクリート製の床材の施工方法は、請求項1又は2に記載のコンクリート製の床材の施工方法において、前記形成工程においては、前記仕上材の上面にノロ止め材を設ける。
【発明の効果】
(【0011】以降は省略されています)
この特許をJ-PlatPat(特許庁公式サイト)で参照する
関連特許
株式会社竹中工務店
複合壁
2日前
株式会社竹中工務店
構造物
4日前
株式会社竹中工務店
建物構造
5日前
株式会社竹中工務店
免震建物
10日前
株式会社竹中工務店
建物構造
24日前
株式会社竹中工務店
免震構造
16日前
株式会社竹中工務店
煙突改修方法
5日前
株式会社竹中工務店
跳ね出し架構
24日前
株式会社竹中工務店
配管ユニット構造
2日前
株式会社竹中工務店
帯状木質材巻付体
12日前
株式会社竹中工務店
人流推定装置及び人流推定方法
13日前
株式会社竹中工務店
荷重支持構造及び荷重支持方法
11日前
株式会社竹中工務店
場所打ちコンクリート杭の施工方法
16日前
株式会社竹中工務店
ノイズ除去方法及びノイズ除去プログラム
18日前
株式会社竹中工務店
ジオポリマー組成物及びジオポリマー硬化体
11日前
株式会社竹中工務店
鉄筋コンクリート躯体と鉄骨柱との接合構造
23日前
株式会社竹中工務店
輝度分布推定装置及び輝度分布推定プログラム
18日前
株式会社竹中工務店
熱中症リスク評価支援装置及び熱中症リスク評価支援プログラム
10日前
日本製鉄株式会社
セメント硬化体補強用鋼繊維及びセメント組成物
18日前
株式会社竹中工務店
地盤改良用セメントスラリー組成物及びソイルセメントスラリーの調製方法
1か月前
株式会社竹中工務店
木質柱仕口部材接合構造、プレキャスト仕口部材の施工方法、及びプレキャスト仕口部材
16日前
個人
接合構造
1か月前
個人
屋台
1か月前
個人
タッチミー
1か月前
個人
野良猫ハウス
2か月前
個人
安心補助てすり
17日前
個人
転落防止用手摺
2か月前
個人
フェンス
2か月前
積水樹脂株式会社
柵体
2か月前
ニチハ株式会社
建築板
2か月前
個人
筋交自動設定装置
1か月前
個人
ベンリナアングル
1か月前
個人
居住車両用駐車場
2か月前
個人
熱抵抗多層断熱建材
2か月前
個人
柵
3か月前
個人
補強部材
2か月前
続きを見る
他の特許を見る