TOP
|
特許
|
意匠
|
商標
特許ウォッチ
Twitter
他の特許を見る
10個以上の画像は省略されています。
公開番号
2025171078
公報種別
公開特許公報(A)
公開日
2025-11-20
出願番号
2024076064
出願日
2024-05-08
発明の名称
天井構造及び天井構造の固定方法
出願人
株式会社竹中工務店
代理人
弁理士法人太陽国際特許事務所
主分類
E04B
9/04 20060101AFI20251113BHJP(建築物)
要約
【課題】接着剤を用いて下張り板に上張り板を固定する構成において、乾燥収縮で下張り板に割れを生じさせない天井構造及び天井構造の固定方法を提供する。
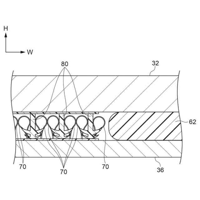
【解決手段】天井構造は、天井を構成する下張り板の下面へ前記下張り板より線膨張係数が大きい上張り板が目地を設けて張り付けられた天井構造であり、前記下張り板と前記上張り板を固定すると共に、弾性変形して前記下張り板と前記上張り板の面内方向の相対変位を許容する接着層厚とされた弾性接着剤と、前記下張り板と前記上張り板の間に配置されて前記上張り板を保持し、前記弾性接着剤の面内方向の動きに追従する面ファスナーとを有する。
【選択図】図2
特許請求の範囲
【請求項1】
天井を構成する下張り板の下面へ前記下張り板より線膨張係数が大きい上張り板が目地を設けて張り付けられた天井構造であり、
前記下張り板と前記上張り板を固定すると共に、弾性変形して前記下張り板と前記上張り板の面内方向の相対変位を許容する接着層厚とされた弾性接着剤と、
前記下張り板と前記上張り板の間に配置されて前記上張り板を保持し、前記弾性接着剤の面内方向の動きに追従する面ファスナーとを有する、
天井構造。
続きを表示(約 610 文字)
【請求項2】
下張り板が石こうボード、上張り板がケイ酸カルシウム板であり、前記弾性接着剤のヤング係数Eが1.0~2.0(N/mm2)、前記接着層厚が5mm~8mmであり、前記面ファスナーの厚みで前記接着層厚が決まる、
請求項1に記載の天井構造。
【請求項3】
環状に形成され、面内方向に互いに離隔した状態で複数配置される仮保持部を備え、前記面ファスナーの一方を構成する雌部材と、
前記仮保持部に向かう第1方向へ延びる幹部と、前記幹部から前記面内方向に延びた状態で外縁が前記第1方向とは反対方向に向かって湾曲し前記仮保持部と係合する湾曲部とを備え、前記面ファスナーの他方を構成する雄部材とを有する、
請求項1又は2に記載の天井構造。
【請求項4】
面ファスナーの一方を構成する雄部材が張り付けられた下張り板を締結部材で吊り部材の野縁に固定する工程と、
前記雄部材と係合して面内方向の動きが可能な前記面ファスナーの他方を構成する雌部材を上張り板に張り付けると共に、弾性接着剤を前記上張り板に塗布する工程と、
前記下張り板の下方から前記上張り板の張り付け位置を調整し、前記上張り板を押し上げて前記雌部材と前記雄部材を係合させると共に前記弾性接着剤で前記下張り板に前記上張り板を接着して仮固定する工程とを有する、
天井構造の固定方法。
発明の詳細な説明
【技術分野】
【0001】
本開示は、天井構造及び天井構造の固定方法に関する。
続きを表示(約 1,100 文字)
【背景技術】
【0002】
接着剤を用いて下張り材に上張り材を固定する天井構造がある(例えば、特許文献1)。
【先行技術文献】
【特許文献】
【0003】
特開2005-48439号公報
【発明の概要】
【発明が解決しようとする課題】
【0004】
下張り板と上張り板とでは、線膨張係数が異なるために収縮力に差が生じる。このため、接着剤で強固に2部材を固定すると、上張り板の目地部に曲げが発生し、下張り板にひび割れが生じてしまうことがある。
【0005】
本開示は、接着剤を用いて下張り板に上張り板を固定する構成において、乾燥収縮で下張り板に割れを生じさせない天井構造及び天井構造の固定方法を提供することを目的とする。
【課題を解決するための手段】
【0006】
第1態様の天井構造は、天井を構成する下張り板の下面へ前記下張り板より線膨張係数が大きい上張り板が目地を設けて張り付けられた天井構造であり、前記下張り板と前記上張り板を固定すると共に、弾性変形して前記下張り板と前記上張り板の面内方向の相対変位を許容する接着層厚とされた弾性接着剤と、前記下張り板と前記上張り板の間に配置されて前記上張り板を保持し、前記弾性接着剤の面内方向の動きに追従する面ファスナーとを有する。
【0007】
湿度低下による乾燥収縮で下張り板と上張り板は収縮するが、上張り板の線膨張係数が大きいため収縮力に差が生じる。酢酸ビニル樹脂系接着剤では固定度が高く、上張り板の収縮力が下張り板へ伝達され、上張り板の目地の部分で下張り板の下面に引張力が作用し、下張り板が下方へ凸になる曲げが発生して、ひび割れが生じることがある。
【0008】
本態様では、弾性接着剤で下張り板と上張り板が固定され、また、弾性接着剤の接着層厚が、弾性変形して下張り板と上張り板の面内方向の相対変位を許容する厚さとされているため、上張り板から下張り板への応力の伝達が抑制され、下張り板のひび割れが抑制される。
【0009】
また、面ファスナーは、弾性接着剤の面内方向の動きに追従するため、ステープルで下張り板に上張り板を保持する構成と比較して、上張り板から下張り板への応力の伝達を抑制できる。
【0010】
第2態様の天井構造は、第1態様の天井構造であって、下張り板が石こうボード、上張り板がケイ酸カルシウム板であり、前記弾性接着剤のヤング係数Eが1.0~2.0(N/mm2)、前記接着層厚が5mm~8mmであり、前記面ファスナーの厚みで前記接着層厚が決まる。
(【0011】以降は省略されています)
この特許をJ-PlatPat(特許庁公式サイト)で参照する
関連特許
他の特許を見る