TOP
|
特許
|
意匠
|
商標
特許ウォッチ
Twitter
他の特許を見る
公開番号
2025170635
公報種別
公開特許公報(A)
公開日
2025-11-19
出願番号
2024075388
出願日
2024-05-07
発明の名称
ラチス構造材の補強構造
出願人
株式会社竹中工務店
代理人
弁理士法人太陽国際特許事務所
主分類
E04G
23/02 20060101AFI20251112BHJP(建築物)
要約
【課題】施工性を向上しつつ、ラチス構造材の軸耐力を高めることを目的とする。
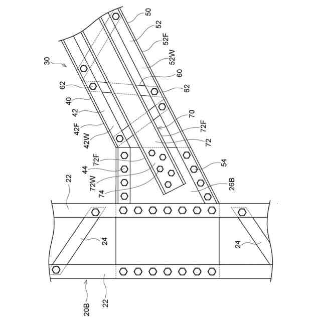
【解決手段】ラチス構造材の補強構造は、互いに対向する一対の上弦材40及び下弦材50と、一対の上弦材40及び下弦材50に斜めに架設される複数のラチス材60と、一対の上弦材40及び下弦材50の長手方向の両端部にそれぞれ設けられる一対のガセットプレート26A,26Bと、複数のラチス材60の両側に上弦材40及び下弦材50の長手方向に沿って配置されるとともに、長手方向の両端部が一対のガセットプレート26A,26Bをそれぞれ挟み込んだ状態でボルト接合される一対の補強部材70と、を備える。
【選択図】図1
特許請求の範囲
【請求項1】
互いに対向する一対の弦材と、
一対の前記弦材に斜めに架設される複数のラチス材と、
一対の前記弦材の長手方向の両端部にそれぞれ設けられる一対のガセットプレートと、
複数の前記ラチス材の両側に前記弦材の長手方向に沿って配置されるとともに、長手方向の両端部が一対の前記ガセットプレートをそれぞれ挟み込んだ状態でボルト接合される一対の補強部材と、
を備えるラチス構造材の補強構造。
続きを表示(約 190 文字)
【請求項2】
一対の前記補強部材は、複数の前記ラチス材と構造的に縁が切られる、
請求項1に記載のラチス構造材の補強構造。
【請求項3】
前記補強部材は、長手方向に分割された複数の分割補強部材を有し、
前記補強部材の長手方向に隣り合う前記分割補強部材は、つづり板を介してボルト接合される、
請求項1又は請求項2に記載のラチス構造材の補強構造。
発明の詳細な説明
【技術分野】
【0001】
本発明は、ラチス構造材の補強構造に関する。
続きを表示(約 1,000 文字)
【背景技術】
【0002】
左右の柱材と、上下の枠材と、左右の柱材に架設される複数の斜材とを有する耐力フレームにおいて、耐力フレームを両側から挟み込むとともに、上下の枠材の中央部、複数の斜材の中央部に連結される一対の平板状部材が知られている(例えば、特許文献1参照)。
【0003】
また、ラチス柱においては、鉛直方向に並んだ全ての斜材を連結するチャンネルが知られている(例えば、特許文献2参照)。
【0004】
さらに、既存のラチス柱及びラチス梁を補強する補強構造が知られている(例えば、特許文献3参照)。
【先行技術文献】
【特許文献】
【0005】
特開2007-191854号公報
特開2017-223101号公報
特開2017-166170号公報
【発明の概要】
【発明が解決しようとする課題】
【0006】
ところで、ラチス梁やラチス柱等のラチス構造材の軸耐力を高める補強構造としては、例えば、ラチス構造材の両側の側面に鋼板を溶接でそれぞれ接合することが考えられる。
【0007】
しかしながら、この補強構造では、ラチス構造材の両側の側面に鋼板を全周溶接する必要があるため、鋼板の取り付けに手間がかかる。
【0008】
本発明は、上記の事実を考慮し、施工性を向上しつつ、ラチス構造材の軸耐力を高めることを目的とする。
【課題を解決するための手段】
【0009】
請求項1に記載のラチス構造材の補強構造は、互いに対向する一対の弦材と、一対の前記弦材に斜めに架設される複数のラチス材と、一対の前記弦材の長手方向の両端部にそれぞれ設けられる一対のガセットプレートと、複数の前記ラチス材の両側に前記弦材の長手方向に沿って配置されるとともに、長手方向の両端部が一対の前記ガセットプレートをそれぞれ挟み込んだ状態でボルト接合される一対の補強部材と、を備える。
【0010】
請求項1に係るラチス構造材の補強構造によれば、一対の弦材は、互いに対向する。この一対の弦材には、複数のラチス材が斜めに架設される。また、一対の弦材の長手方向の両端部には、一対のガセットプレートが設けられる。
(【0011】以降は省略されています)
この特許をJ-PlatPat(特許庁公式サイト)で参照する
関連特許
株式会社竹中工務店
複合壁
12日前
株式会社竹中工務店
構造物
14日前
株式会社竹中工務店
建物構造
15日前
株式会社竹中工務店
免震建物
20日前
株式会社竹中工務店
建物構造
1か月前
株式会社竹中工務店
免震構造
26日前
株式会社竹中工務店
水硬性組成物
1か月前
株式会社竹中工務店
発電システム
5日前
株式会社竹中工務店
煙突改修方法
15日前
株式会社竹中工務店
跳ね出し架構
1か月前
株式会社竹中工務店
配管ユニット構造
12日前
株式会社竹中工務店
帯状木質材巻付体
22日前
株式会社竹中工務店
ラチス構造材の補強構造
今日
株式会社竹中工務店
人流推定装置及び人流推定方法
23日前
株式会社竹中工務店
荷重支持構造及び荷重支持方法
21日前
株式会社竹中工務店
場所打ちコンクリート杭の施工方法
26日前
株式会社竹中工務店
ノイズ除去方法及びノイズ除去プログラム
28日前
株式会社竹中工務店
ジオポリマー組成物及びジオポリマー硬化体
21日前
株式会社竹中工務店
鉄筋コンクリート躯体と鉄骨柱との接合構造
1か月前
株式会社竹中工務店
輝度分布推定装置及び輝度分布推定プログラム
28日前
株式会社竹中工務店
熱中症リスク評価支援装置及び熱中症リスク評価支援プログラム
20日前
日本製鉄株式会社
セメント硬化体補強用鋼繊維及びセメント組成物
28日前
株式会社竹中工務店
地盤改良用セメントスラリー組成物及びソイルセメントスラリーの調製方法
1か月前
株式会社竹中工務店
木質柱仕口部材接合構造、プレキャスト仕口部材の施工方法、及びプレキャスト仕口部材
26日前
個人
接合構造
1か月前
個人
屋台
2か月前
個人
タッチミー
1か月前
個人
野良猫ハウス
2か月前
個人
フェンス
3か月前
個人
安心補助てすり
27日前
個人
転落防止用手摺
2か月前
個人
居住車両用駐車場
2か月前
個人
地下型マンション
4か月前
ニチハ株式会社
建築板
2か月前
個人
ベンリナアングル
1か月前
積水樹脂株式会社
柵体
2か月前
続きを見る
他の特許を見る