TOP
|
特許
|
意匠
|
商標
特許ウォッチ
Twitter
他の特許を見る
公開番号
2025173881
公報種別
公開特許公報(A)
公開日
2025-11-28
出願番号
2024079724
出願日
2024-05-15
発明の名称
塗装方法及び積層材料
出願人
株式会社竹中工務店
,
カシュー株式会社
代理人
弁理士法人太陽国際特許事務所
主分類
B05D
1/36 20060101AFI20251120BHJP(霧化または噴霧一般;液体または他の流動性材料の表面への適用一般)
要約
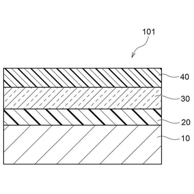
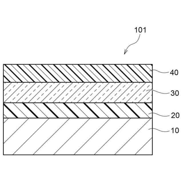
【課題】アルカリ金属珪酸塩層を備える積層材料を製造する塗装方法であって、積層材料が加熱された際に発生するアルカリ金属珪酸塩層の膨れの程度を抑制する塗装方法を提供すること。
【解決手段】塗装方法は、可燃性材料の上に下塗り塗料を塗装し、下塗り層を形成することと、下塗り層の上にアルカリ金属珪酸塩を含有する水溶液を塗装し、アルカリ金属珪酸塩層を形成することと、を含み、下塗り塗料がシランカップリング剤を含有する。
【選択図】図1
特許請求の範囲
【請求項1】
可燃性材料の上に下塗り塗料を塗装し、下塗り層を形成することと、
前記下塗り層の上にアルカリ金属珪酸塩を含有する水溶液を塗装し、アルカリ金属珪酸塩層を形成することと、を含み、
前記下塗り塗料がシランカップリング剤を含有する、
塗装方法。
続きを表示(約 680 文字)
【請求項2】
前記下塗り塗料に含まれる前記シランカップリング剤の含有量が0.1質量%~10質量%である、
請求項1に記載の塗装方法。
【請求項3】
さらに、前記アルカリ金属珪酸塩層の内部に繊維を配置すること、を含む、
請求項1に記載の塗装方法。
【請求項4】
さらに、前記アルカリ金属珪酸塩層の上に上塗り塗料を塗装し、上塗り層を形成すること、を含む、
請求項1に記載の塗装方法。
【請求項5】
前記上塗り塗料がアクリルポリオール及びポリイソシアネートを含有する、
請求項4に記載の塗装方法。
【請求項6】
前記可燃性材料が木質材料である、
請求項1~請求項5のいずれか1項に記載の塗装方法。
【請求項7】
可燃性材料と、
前記可燃性材料の上に設けられた下塗り層と、
前記下塗り層の上に設けられたアルカリ金属珪酸塩層と、を備え、
前記下塗り層がシランカップリング剤の反応物を含有する、
積層材料。
【請求項8】
前記アルカリ金属珪酸塩層の内部に繊維を有する、
請求項7に記載の積層材料。
【請求項9】
さらに、前記アルカリ金属珪酸塩層の上に設けられた上塗り層を備える、
請求項7に記載の積層材料。
【請求項10】
前記上塗り層がアクリルウレタン系樹脂を含有する、
請求項9に記載の積層材料。
(【請求項11】以降は省略されています)
発明の詳細な説明
【技術分野】
【0001】
本開示は、塗装方法及び積層材料に関する。
続きを表示(約 1,200 文字)
【背景技術】
【0002】
可燃性材料に防火性を付与する目的で、可燃性材料の外側にアルカリ金属珪酸塩層を設ける塗装が知られている。例えば特許文献1~5には、下記の材料及び方法が開示されている。
【0003】
特許文献1には、木質材料と、木質材料上に設けられたバーサチック酸ビニルエステル共重合体を含む中間層と、中間層上に設けられたアルカリ金属珪酸塩層とを備える被覆基材が開示されている。
【0004】
特許文献2には、基材と、基材上に設けられたアルカリ金属珪酸塩層と、アルカリ金属珪酸塩層上に設けられたアクリルウレタン樹脂を含むトップ層とを備える被覆基材が開示されている。
【0005】
特許文献3には、基材の表面に非晶質シリカ及びアルカリ金属珪酸塩を含む水溶液を塗布する工程と、塗布された水溶液を乾燥させてアルカリ金属珪酸塩層を形成する工程とを備える被覆基材の製造方法が開示されている。
【0006】
特許文献4には、可燃性基材と、可燃性基材上に設けられたシリカを主成分とする中間層と、中間層上に設けられたアルカリ金属珪酸塩層とを備える被覆基材が開示されている。
【0007】
特許文献5には、可燃性基材と、可燃性基材上に設けられた繊維を含有するアルカリ金属珪酸塩層とを備える被覆基材が開示されている。
【先行技術文献】
【特許文献】
【0008】
特開2021-074892号公報
特開2021-074891号公報
特開2021-074646号公報
特開2018-115294号公報
特開2018-114724号公報
【発明の概要】
【発明が解決しようとする課題】
【0009】
可燃性材料の外側にアルカリ金属珪酸塩層を備える積層材料は、火災の際に可燃性材料からガス及び/又は水蒸気が発生し、アルカリ金属珪酸塩層が膨らむことがある。膨れたアルカリ金属珪酸塩層は断熱層として機能し、可燃性材料の燃焼を抑制するので、アルカリ金属珪酸塩層のある程度の膨れは望ましい。ただし、膨れすぎるとアルカリ金属珪酸塩層が割れてしまい、アルカリ金属珪酸塩層に期待される防火性付与の機能が果たされなくなる。
【0010】
本開示は、上記状況のもとになされた。
本開示は、アルカリ金属珪酸塩層を備える積層材料を製造する塗装方法であって、積層材料が加熱された際に発生するアルカリ金属珪酸塩層の膨れの程度を抑制する塗装方法を提供することを課題とする。
本開示は、アルカリ金属珪酸塩層を備える積層材料であって、加熱された際にアルカリ金属珪酸塩層が過度に膨れない積層材料を提供することを課題とする。
【課題を解決するための手段】
(【0011】以降は省略されています)
この特許をJ-PlatPat(特許庁公式サイト)で参照する
関連特許
株式会社竹中工務店
複合壁
28日前
株式会社竹中工務店
構造物
1か月前
株式会社竹中工務店
免震建物
1か月前
株式会社竹中工務店
建物構造
1か月前
株式会社竹中工務店
建物構造
1か月前
株式会社竹中工務店
免震構造
1か月前
株式会社竹中工務店
発電システム
21日前
株式会社竹中工務店
水硬性組成物
1か月前
株式会社竹中工務店
跳ね出し架構
1か月前
株式会社竹中工務店
煙突改修方法
1か月前
株式会社竹中工務店
帯状木質材巻付体
1か月前
株式会社竹中工務店
排水処理システム
今日
株式会社竹中工務店
配管ユニット構造
28日前
株式会社竹中工務店
水素供給システム
9日前
株式会社竹中工務店
塗装方法及び積層材料
7日前
株式会社竹中工務店
ラチス構造材の補強構造
16日前
株式会社竹中工務店
水平打ち継ぎ部補強構造
今日
株式会社竹中工務店
荷重支持構造及び荷重支持方法
1か月前
株式会社竹中工務店
人流推定装置及び人流推定方法
1か月前
株式会社竹中工務店
天井構造及び天井構造の固定方法
15日前
株式会社竹中工務店
被覆基材及び被覆基材の製造方法
7日前
株式会社竹中工務店
場所打ちコンクリート杭の施工方法
1か月前
株式会社竹中工務店
構真柱の施工方法、及び構真柱の支持構造
15日前
株式会社竹中工務店
制御装置、制御方法、及び制御プログラム
1日前
株式会社竹中工務店
ノイズ除去方法及びノイズ除去プログラム
1か月前
株式会社竹中工務店
鉄筋コンクリート躯体と鉄骨柱との接合構造
1か月前
株式会社竹中工務店
CaCO3量推定方法及び炭酸化度判定方法
今日
株式会社竹中工務店
ジオポリマー組成物及びジオポリマー硬化体
1か月前
株式会社竹中工務店
パラメータ探索装置及びパラメータ探索方法
今日
株式会社竹中工務店
輝度分布推定装置及び輝度分布推定プログラム
1か月前
株式会社竹中工務店
水硬性組成物及び水硬性組成物硬化体の製造方法
1か月前
株式会社竹中工務店
信号処理装置、信号処理方法、及び信号処理プログラム
8日前
株式会社竹中工務店
熱中症リスク評価支援装置及び熱中症リスク評価支援プログラム
1か月前
日本製鉄株式会社
セメント硬化体補強用鋼繊維及びセメント組成物
1か月前
株式会社竹中工務店
地盤改良用セメントスラリー組成物及びソイルセメントスラリーの調製方法
1か月前
株式会社竹中工務店
木質柱仕口部材接合構造、プレキャスト仕口部材の施工方法、及びプレキャスト仕口部材
1か月前
続きを見る
他の特許を見る