TOP
|
特許
|
意匠
|
商標
特許ウォッチ
Twitter
他の特許を見る
10個以上の画像は省略されています。
公開番号
2025161600
公報種別
公開特許公報(A)
公開日
2025-10-24
出願番号
2024064924
出願日
2024-04-12
発明の名称
木質柱仕口部材接合構造、プレキャスト仕口部材の施工方法、及びプレキャスト仕口部材
出願人
株式会社竹中工務店
代理人
弁理士法人太陽国際特許事務所
主分類
E04B
1/58 20060101AFI20251017BHJP(建築物)
要約
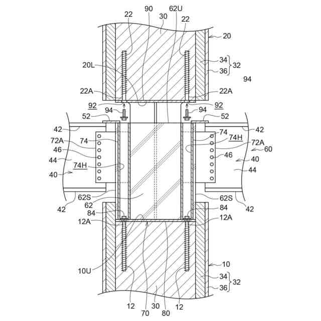
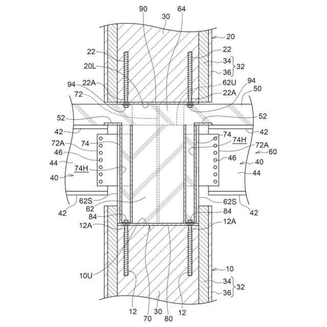
【課題】鋼製仕口部材の耐火性能を確保しつつ、施工性を向上することを目的とする。
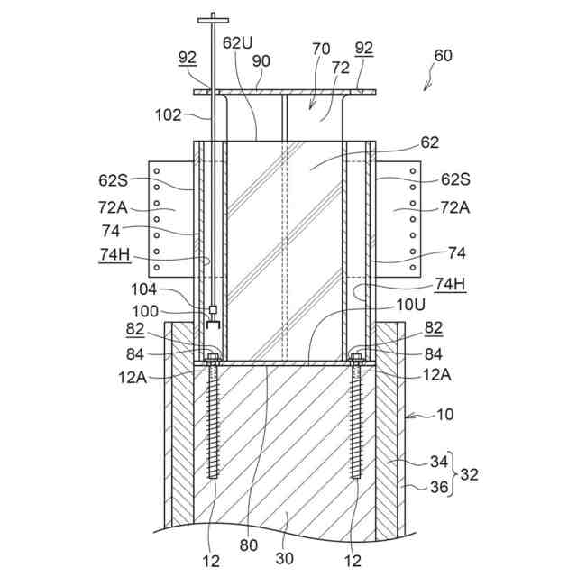
【解決手段】木質柱仕口部材接合構造は、上端面10Uにラグスクリューボルト12が設けられる下側木質柱10と、下側木質柱10の上端面10Uに載置され、ボルト84によってラグスクリューボルト12に接合される鋼製仕口部材70と、ボルト84を収容する作業孔74Hを上面62Uに有し、鋼製仕口部材70を被覆するプレキャストコンクリート部62と、を有するプレキャスト仕口部材60と、を備える。
【選択図】図7
特許請求の範囲
【請求項1】
上端面に固定部材が設けられる木質柱と、
前記木質柱の前記上端面に載置され、接合具によって前記固定部材に接合される鋼製仕口部材と、前記接合具を収容する作業孔を上面に有し、前記鋼製仕口部材を被覆する耐火被覆部と、を有するプレキャスト仕口部材と、
を備える木質柱仕口部材接合構造。
続きを表示(約 620 文字)
【請求項2】
前記鋼製仕口部材は、
平面視にて前記固定部材が配置される貫通孔を有し、前記木質柱の前記上端面に載置される下側ベースプレートと、
前記耐火被覆部に埋設され、前記下側ベースプレートの前記貫通孔に接続されるとともに、前記作業孔を形成する中空部材と、
を有する、
請求項1に記載の木質柱仕口部材接合構造。
【請求項3】
前記鋼製仕口部材は、前記作業孔と対向する貫通孔を有し、前記耐火被覆部の前記上面上に配置される上側ベースプレートを有する、
請求項1又は請求項2に記載の木質柱仕口部材接合構造。
【請求項4】
プレキャスト仕口部材の耐火被覆部によって被覆された鋼製仕口部材を木質柱の上端面に載置し、平面視にて、前記耐火被覆部の上面の作業孔内に、前記木質柱の前記上端面に設けられた固定部材を配置する設置工程と、
前記耐火被覆部の前記上面上から、前記作業孔を介して前記固定部材に接合具を取り付け、前記鋼製仕口部材を前記固定部材に接合する接合工程と、
を備えるプレキャスト仕口部材の施工方法。
【請求項5】
木質柱の上端面に載置され、前記上端面に設けられた固定部材に接合具によって接合される鋼製仕口部材と、
前記接合具を収容する作業孔を上面に有し、前記鋼製仕口部材を被覆する耐火被覆部と、
を備えるプレキャスト仕口部材。
発明の詳細な説明
【技術分野】
【0001】
本発明は、木質柱仕口部材接合構造、プレキャスト仕口部材の施工方法、及びプレキャスト仕口部材に関する。
続きを表示(約 1,000 文字)
【背景技術】
【0002】
下側木質柱と、下側木質柱の上端面に接合される金属製の仕口部材と、仕口部材を耐火被覆する耐火被覆材としてのコンクリートとを備える木質柱仕口構造が知られている(例えば、特許文献1参照)。
【0003】
また、木質の柱部材と、鉄骨からなる梁部材とを木材よりも硬質の材料からなる仕口部材を介して接合してなる柱梁接合構造が知られている(例えば、特許文献2参照)。
【0004】
さらに、下側木質柱と上側木質柱との間に、通し鉄骨梁が配置される柱梁架構が知られている(例えば、特許文献3参照)。
【先行技術文献】
【特許文献】
【0005】
特開2021-095768号公報
特開2017-133278号公報
特開2023-009651号公報
【発明の概要】
【発明が解決しようとする課題】
【0006】
ところで、木質柱と、木質柱の上に載置される鉄骨等の鋼製仕口部材とをラグスクリューボルトを介して接合することが考えられる。また、耐火性能の観点から、鋼製仕口部材をコンクリート等で被覆することが考えられる。
【0007】
具体的には、木質柱の上端面に設けられたラグスクリューボルトに、鋼製仕口部材の下側ベースプレートをボルトによって接合する。この状態で、鋼製仕口部材の周囲に型枠を仮設し、仮設された型枠内にコンクリートを打設することにより、鋼製仕口部材をコンクリートによって被覆する。
【0008】
しかしながら、現場において、コンクリート等の耐火被覆材を施工するには、手間がかかる。
【0009】
本発明は、上記の事実を考慮し、鋼製仕口部材の耐火性能を確保しつつ、施工性を向上することを目的とする。
【課題を解決するための手段】
【0010】
請求項1に記載の木質柱仕口部材接合構造は、上端面に固定部材が設けられる木質柱と、前記木質柱の前記上端面に載置され、接合具によって前記固定部材に接合される鋼製仕口部材と、前記接合具を収容する作業孔を上面に有し、前記鋼製仕口部材を被覆する耐火被覆部と、を有するプレキャスト仕口部材と、を備える。
(【0011】以降は省略されています)
この特許をJ-PlatPat(特許庁公式サイト)で参照する
関連特許
株式会社竹中工務店
発電システム
6日前
株式会社竹中工務店
ラチス構造材の補強構造
1日前
株式会社竹中工務店
天井構造及び天井構造の固定方法
今日
株式会社竹中工務店
構真柱の施工方法、及び構真柱の支持構造
今日
個人
接合構造
1か月前
個人
屋台
2か月前
個人
タッチミー
1か月前
個人
野良猫ハウス
2か月前
個人
フェンス
3か月前
個人
転落防止用手摺
2か月前
個人
安心補助てすり
28日前
ニチハ株式会社
建築板
2か月前
個人
筋交自動設定装置
1か月前
積水樹脂株式会社
柵体
2か月前
個人
居住車両用駐車場
2か月前
個人
ベンリナアングル
1か月前
個人
熱抵抗多層断熱建材
2か月前
個人
補強部材
2か月前
個人
柵
3か月前
成友建設株式会社
建物
2か月前
個人
防災建築物
1か月前
株式会社シンケン
住宅
29日前
鹿島建設株式会社
壁体
2か月前
個人
身体用シェルター
1か月前
個人
身体用シェルター
1か月前
個人
可搬型供養墓
1か月前
株式会社熊谷組
木質材料
2か月前
株式会社熊谷組
床構成材
1か月前
株式会社大林組
接合構造
24日前
三協立山株式会社
構造体
8日前
三協立山株式会社
構造体
1か月前
三協立山株式会社
構造体
1か月前
三協立山株式会社
構造体
1か月前
三協立山株式会社
構造体
1か月前
イワブチ株式会社
組立柱
2か月前
株式会社熊谷組
吊り治具
1か月前
続きを見る
他の特許を見る