TOP
|
特許
|
意匠
|
商標
特許ウォッチ
Twitter
他の特許を見る
公開番号
2025167264
公報種別
公開特許公報(A)
公開日
2025-11-07
出願番号
2024071716
出願日
2024-04-25
発明の名称
複合壁
出願人
株式会社竹中工務店
代理人
弁理士法人太陽国際特許事務所
主分類
E04B
2/56 20060101AFI20251030BHJP(建築物)
要約
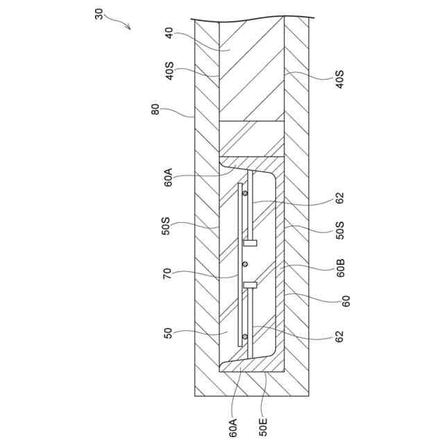
【課題】耐震性能及び耐火性能を確保しつつ、壁厚を薄くすることを目的とする。
【解決手段】複合壁30は、上下のスラブ20の間に設けられる木質壁部40と、木質壁部40の幅方向の両側に設けられ、上下のスラブ20に接合される鉄骨部材60が埋設されるとともに、木質壁部40と接合される一対のコンクリート壁部50と、を備える。
【選択図】図2
特許請求の範囲
【請求項1】
上下の水平部材の間に設けられる木質壁部と、
前記木質壁部の幅方向の両側に設けられ、上下の前記水平部材に接合される鋼材が埋設されるとともに、前記木質壁部と接合される一対のコンクリート壁部と、
を備える複合壁。
続きを表示(約 230 文字)
【請求項2】
前記コンクリート壁部の表面は、木質被覆材によって被覆される、
請求項1に記載の複合壁。
【請求項3】
前記木質壁部は、上下の前記水平部材と接合される、
請求項1に記載の複合壁。
【請求項4】
前記水平部材は、コンクリート造とされ、
前記鋼材は、鉄骨部材とされ、前記鉄骨部材の端部に設けられたスタッドを介して前記水平部材と接合される、
請求項1~請求項3の何れか1項に記載の複合壁。
発明の詳細な説明
【技術分野】
【0001】
本発明は、複合壁に関する。
続きを表示(約 1,100 文字)
【背景技術】
【0002】
上下の梁に、せん断力伝達部材を介して接合される木質壁と、木質壁の両側に設けられ、上下の梁同士を繋ぐ引張プレートとを備える耐震壁構造が知られている(例えば、特許文献1参照)。
【0003】
また、柱梁架構内に設けられた矩形状の木質壁部と、木質壁部の出隅部に設けられて柱梁架構に接合される壁補強部と、木質壁部と柱梁架構との間をセメント系材料で塞いだ閉塞部とを備え、木質壁部は、壁補強部及び閉塞部を介して柱梁架構に接合される耐震壁が知られている(例えば、特許文献2参照)。
【0004】
さらに、木質面材と、木質面材の上方と下方において、該木質面材の左右端から内部に亘って内挿される鋼板とを有する耐力壁が知られている(例えば、特許文献3参照)。この耐力壁では、木質面材と鋼板の広幅面同士が、第1固定手段により固定され、鋼板の左右の端面にそれぞれ設けられたフランジと木質面材の端面とが、第2固定手段により固定されている。
【先行技術文献】
【特許文献】
【0005】
特開2020-101052号公報
特開2022-020037号公報
特開2023-137922号公報
【発明の概要】
【発明が解決しようとする課題】
【0006】
ところで、例えば、耐火建築物等に木質壁を設けることが考えられる。しかしながら、木質壁において、耐震性能及び耐火性能を確保しようとすると、木質壁の壁厚が厚くなる可能性がある。
【0007】
本発明は、上記の事実を考慮し、耐震性能及び耐火性能を確保しつつ、壁厚を薄くすることを目的とする。
【課題を解決するための手段】
【0008】
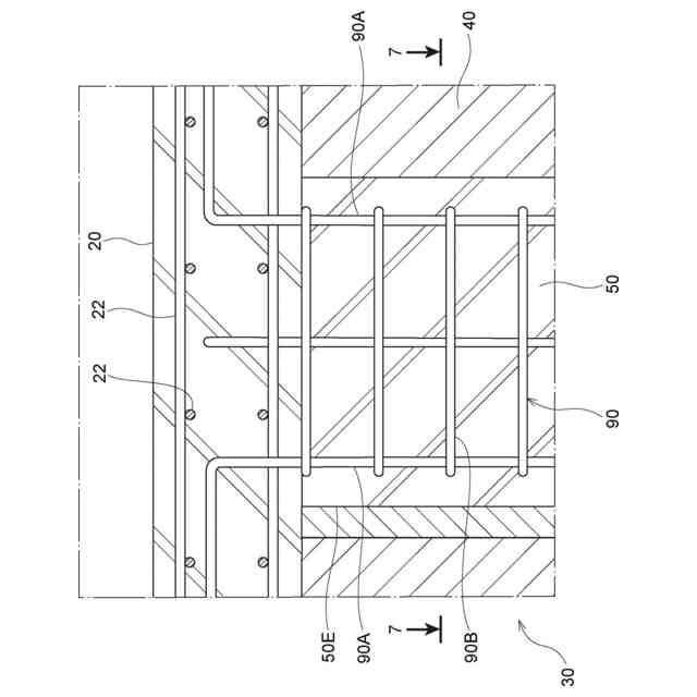
請求項1に記載の複合壁は、上下の水平部材の間に設けられる木質壁部と、前記木質壁部の幅方向の両側に設けられ、上下の前記水平部材に接合される鋼材が埋設されるとともに、前記木質壁部と接合される一対のコンクリート壁部と、を備える。
【0009】
請求項1に係る複合壁によれば、木質壁部は、上下の水平部材の間に設けられる。この木質壁部の幅方向の両側には、一対のコンクリート壁部が設けられる。一対のコンクリート壁部は、木質壁部と接合される。また、一対のコンクリート壁部には、鋼材がそれぞれ埋設される。各鋼材は、上下の水平部材に接合される。
【0010】
このように複合壁に木質壁部を設けることにより、木質材の利用を促進することができる。
(【0011】以降は省略されています)
この特許をJ-PlatPat(特許庁公式サイト)で参照する
関連特許
株式会社竹中工務店
複合壁
29日前
株式会社竹中工務店
構造物
1か月前
株式会社竹中工務店
建物構造
1か月前
株式会社竹中工務店
免震構造
1か月前
株式会社竹中工務店
免震建物
1か月前
株式会社竹中工務店
建物構造
1か月前
株式会社竹中工務店
発電システム
22日前
株式会社竹中工務店
跳ね出し架構
1か月前
株式会社竹中工務店
煙突改修方法
1か月前
株式会社竹中工務店
水素供給システム
10日前
株式会社竹中工務店
帯状木質材巻付体
1か月前
株式会社竹中工務店
配管ユニット構造
29日前
株式会社竹中工務店
排水処理システム
1日前
株式会社竹中工務店
塗装方法及び積層材料
8日前
株式会社竹中工務店
水平打ち継ぎ部補強構造
1日前
株式会社竹中工務店
ラチス構造材の補強構造
17日前
株式会社竹中工務店
人流推定装置及び人流推定方法
1か月前
株式会社竹中工務店
荷重支持構造及び荷重支持方法
1か月前
株式会社竹中工務店
被覆基材及び被覆基材の製造方法
8日前
株式会社竹中工務店
天井構造及び天井構造の固定方法
16日前
株式会社竹中工務店
場所打ちコンクリート杭の施工方法
1か月前
株式会社竹中工務店
ノイズ除去方法及びノイズ除去プログラム
1か月前
株式会社竹中工務店
構真柱の施工方法、及び構真柱の支持構造
16日前
株式会社竹中工務店
制御装置、制御方法、及び制御プログラム
2日前
株式会社竹中工務店
鉄筋コンクリート躯体と鉄骨柱との接合構造
1か月前
株式会社竹中工務店
CaCO3量推定方法及び炭酸化度判定方法
1日前
株式会社竹中工務店
ジオポリマー組成物及びジオポリマー硬化体
1か月前
株式会社竹中工務店
パラメータ探索装置及びパラメータ探索方法
1日前
株式会社竹中工務店
輝度分布推定装置及び輝度分布推定プログラム
1か月前
株式会社竹中工務店
信号処理装置、信号処理方法、及び信号処理プログラム
9日前
株式会社竹中工務店
熱中症リスク評価支援装置及び熱中症リスク評価支援プログラム
1か月前
日本製鉄株式会社
セメント硬化体補強用鋼繊維及びセメント組成物
1か月前
株式会社竹中工務店
木質柱仕口部材接合構造、プレキャスト仕口部材の施工方法、及びプレキャスト仕口部材
1か月前
個人
接合構造
2か月前
個人
タッチミー
2か月前
個人
屋台
2か月前
続きを見る
他の特許を見る