TOP
|
特許
|
意匠
|
商標
特許ウォッチ
Twitter
他の特許を見る
10個以上の画像は省略されています。
公開番号
2025144281
公報種別
公開特許公報(A)
公開日
2025-10-02
出願番号
2024043987
出願日
2024-03-19
発明の名称
吸音構造
出願人
株式会社竹中工務店
代理人
弁理士法人太陽国際特許事務所
主分類
E04B
1/86 20060101AFI20250925BHJP(建築物)
要約
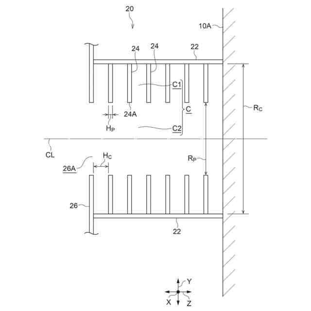
【課題】区画部材に段差を設ける構成と比較して形成し易い吸音構造を提供する。
【解決手段】吸音構造20は、取付け面10Aに取付けられ、取付け面10Aの表面に、取付け面10Aの法線方向において幅が一定の領域Cを区画する区画部材22と、区画部材22に、法線方向に間隔をあけて複数枚取付けられ、取付け面10Aと平行に領域Cへ張り出す仕切板24と、仕切板24の自由端24Aの間に形成され、法線方向において径が一定の、仕切板24の間の空間C1と繋がる孔C2と、を備える。
【選択図】図2
特許請求の範囲
【請求項1】
取付け面に取付けられ、前記取付け面の表面に、前記取付け面の法線方向において幅が一定の領域を区画する区画部材と、
前記区画部材に、前記法線方向に間隔をあけて複数枚取付けられ、前記取付け面と平行に前記領域へ張り出す仕切板と、
前記仕切板の自由端の間に形成され、前記法線方向において径が一定の、前記仕切板の間の空間と繋がる孔と、
を備えた吸音構造。
続きを表示(約 330 文字)
【請求項2】
取付け面に取付けられ、前記取付け面の表面に、前記取付け面の法線方向において幅が一定の領域を区画する区画部材と、
前記区画部材に、前記法線方向に間隔をあけて複数枚取付けられ、前記取付け面と平行に前記領域へ張り出す仕切板と、
前記仕切板の自由端の間に形成され、前記法線方向において径が変化する、前記仕切板の間の空間と繋がる孔と、
を備えた吸音構造。
【請求項3】
前記孔は、前記法線方向において前記取付け面に向かって径が漸減する、
請求項2に記載の吸音構造。
【請求項4】
それぞれの前記仕切板によって形成された前記孔の幅を可変とする可変機構を備えている、請求項1に記載の吸音構造。
発明の詳細な説明
【技術分野】
【0001】
本発明は、吸音構造に関する。
続きを表示(約 1,200 文字)
【背景技術】
【0002】
下記特許文献1には、板状部材に段付孔を形成し、段差面上に、薄い板材からなる仕切板を貼設することにより、容積の大きさの順に並ぶ複数の空洞室を設けた消音器の構成が記載されている。この消音器では、仕切板の間の風洞室の容積を異なる構成とすることで消音効果を得ている。
【先行技術文献】
【特許文献】
【0003】
特開平10-333686号公報
【発明の概要】
【発明が解決しようとする課題】
【0004】
上記特許文献1に示された消音器では、厚みのある空洞室毎に容積を変える必要があるため、空洞室の外縁を構成する区画部材の加工が複雑なものとなる。
【0005】
本発明は、上記事実を考慮し、区画部材に段差を設ける構成と比較して、形成し易い吸音構造を提供することを目的とする。
【課題を解決するための手段】
【0006】
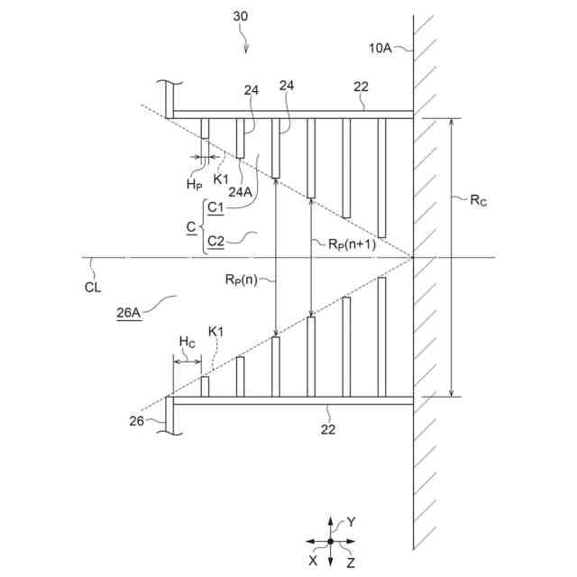
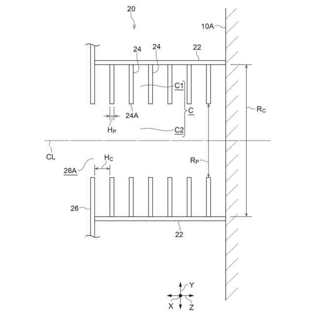
請求項1の吸音構造は、取付け面に取付けられ、前記取付け面の表面に、前記取付け面の法線方向において幅が一定の領域を区画する区画部材と、前記区画部材に、前記法線方向に間隔をあけて複数枚取付けられ、前記取付け面と平行に前記領域へ張り出す仕切板と、前記仕切板の自由端の間に形成され、前記法線方向において径が一定の、前記仕切板の間の空間と繋がる孔と、を備える。
【0007】
請求項1の吸音構造では、区画部材によって区画された領域の内側において、仕切板の自由端部の間に孔が形成される。この孔における空気の弾性率は、仕切板の間の空間の空気の作用により、仕切板の間の空間がない場合と比較して小さくなる。これにより、共鳴周波数が低くなり、低い周波数の音を吸音し易くなる。また、仕切板の間の空間を共鳴器とした場合よりも低い周波数の音を吸音することができる。
【0008】
また、孔に入射した音波は仕切板の表面で生じる粘性および熱効果により減衰されるので、孔のみの場合と比較して表面積が大きくなることによる音エネルギーの散逸も大きくなり、吸音効果を高められる。
【0009】
また、吸音効果を得るために仕切板の内側のそれぞれの空間の容積を異なるものとする必要がないため、区画部材に段差を設けて容積を異なるものとする構成と比較して、吸音構造を形成し易い。
【0010】
請求項2の吸音構造は、取付け面に取付けられ、前記取付け面の表面に、前記取付け面の法線方向において幅が一定の領域を区画する区画部材と、前記区画部材に、前記法線方向に間隔をあけて複数枚取付けられ、前記取付け面と平行に前記領域へ張り出す仕切板と、前記仕切板の自由端の間に形成され、前記法線方向において径が変化する、前記仕切板の間の空間と繋がる孔と、を備える。
(【0011】以降は省略されています)
この特許をJ-PlatPat(特許庁公式サイト)で参照する
関連特許
株式会社竹中工務店
複合壁
28日前
株式会社竹中工務店
構造物
1か月前
株式会社竹中工務店
免震構造
1か月前
株式会社竹中工務店
建物構造
1か月前
株式会社竹中工務店
免震建物
1か月前
株式会社竹中工務店
建物構造
1か月前
株式会社竹中工務店
立体架構
2か月前
株式会社竹中工務店
煙突改修方法
1か月前
株式会社竹中工務店
跳ね出し架構
1か月前
株式会社竹中工務店
水硬性組成物
1か月前
株式会社竹中工務店
発電システム
21日前
株式会社竹中工務店
構造物の施工方法
1か月前
株式会社竹中工務店
帯状木質材巻付体
1か月前
株式会社竹中工務店
配管ユニット構造
28日前
株式会社竹中工務店
排水処理システム
今日
株式会社竹中工務店
水素供給システム
9日前
株式会社竹中工務店
塗装方法及び積層材料
7日前
株式会社竹中工務店
水平打ち継ぎ部補強構造
今日
株式会社竹中工務店
ラチス構造材の補強構造
16日前
株式会社竹中工務店
荷重支持構造及び荷重支持方法
1か月前
株式会社竹中工務店
人流推定装置及び人流推定方法
1か月前
株式会社竹中工務店
被覆基材及び被覆基材の製造方法
7日前
株式会社竹中工務店
天井構造及び天井構造の固定方法
15日前
株式会社竹中工務店
コンクリート製の床材の施工方法
1か月前
株式会社竹中工務店
場所打ちコンクリート杭の施工方法
1か月前
株式会社竹中工務店
制御装置、制御方法、及び制御プログラム
1日前
株式会社竹中工務店
ノイズ除去方法及びノイズ除去プログラム
1か月前
株式会社竹中工務店
構真柱の施工方法、及び構真柱の支持構造
15日前
株式会社竹中工務店
鉄筋コンクリート躯体と鉄骨柱との接合構造
1か月前
株式会社竹中工務店
CaCO3量推定方法及び炭酸化度判定方法
今日
株式会社竹中工務店
ジオポリマー組成物及びジオポリマー硬化体
1か月前
株式会社竹中工務店
パラメータ探索装置及びパラメータ探索方法
今日
株式会社竹中工務店
輝度分布推定装置及び輝度分布推定プログラム
1か月前
株式会社竹中工務店
水硬性組成物及び水硬性組成物硬化体の製造方法
1か月前
株式会社竹中工務店
信号処理装置、信号処理方法、及び信号処理プログラム
8日前
株式会社竹中工務店
熱中症リスク評価支援装置及び熱中症リスク評価支援プログラム
1か月前
続きを見る
他の特許を見る